Filtrowanie pytań
Diagnozowanie i naprawa nadwo…
A. miarki zwijanej.
B. urządzenia do pomiaru bryły nadwozia.
C. urządzenia do pomiaru geometrii kół.
D. cyrkla blacharskiego.
Diagnozowanie i naprawa nadwo…
Przedstawiony na ilustracji element nadwozia samochodowego wykonano techniką

A. żłobienia.
B. tłoczenia.
C. zwijania.
D. gięcia.
Diagnozowanie i naprawa nadwo…
Na rysunku przedstawiono urządzenie stosowane do

A. wyważania kół.
B. pomiaru odkształceń płyt podłogowych.
C. diagnostyki silnika.
D. pomiaru geometrii kół.
Diagnozowanie i naprawa nadwo…
Przyczyną uszkodzenia nadwozia samochodu przedstawionego na rysunku jest

A. zużycie cieplne.
B. korozja.
C. kolizja drogowa.
D. zużycie eksploatacyjne.
Diagnozowanie i naprawa nadwo…
Na rysunku przedstawiono samochód posiadający nadwozie typu

A. Coupe.
B. Hatchback.
C. Limuzyna.
D. SUV.
Diagnozowanie i naprawa nadwo…
Na rysunku przedstawiono czynność

A. cynowania nadwozia.
B. klejenia nadwozia.
C. spawania nadwozia.
D. zgrzewania nadwozia.
Diagnozowanie i naprawa nadwo…
Przedstawione na zdjęciu uszkodzenie według wstępnych oględzin wymaga wymiany następujących elementów

A. błotnika, lampy oraz zderzaka kompletnego.
B. lampy, zderzaka kompletnego oraz nakładki pokrywy bagażnika.
C. pokrywy bagażnika, lampy oraz zderzaka kompletnego.
D. pokrywy bagażnika, lampy oraz błotnika.
Diagnozowanie i naprawa nadwo…
W przedstawionym na ilustracji samochodzie zastosowano nadwozie

A. 2,5 bryłowe.
B. jednobryłowe.
C. dwubryłowe.
D. trzybryłowe.
Diagnozowanie i naprawa nadwo…
Element nadwozia samochodowego przedstawiony na rysunku wykonano metodą

A. wyoblania.
B. tłoczenia.
C. zaginania.
D. zwijania.
Diagnozowanie i naprawa nadwo…
Przedstawione na rysunku urządzenie to

A. nitownica pneumatyczna.
B. zgrzewarka do blach.
C. wkrętak maszynowy.
D. rozwiertak do zgrzein.
Diagnozowanie i naprawa nadwo…
Przedstawiony na rysunku pojazd posiada nadwozie

A. trzybryłowe.
B. jednobryłowe.
C. 2,5-bryłowe.
D. dwubryłowe.
Diagnozowanie i naprawa nadwo…
Mikrometrem nie można dokonać pomiaru
A. średnicy otworu.
B. długości śruby.
C. wielkości wyoblenia.
D. grubości blachy.
Diagnozowanie i naprawa nadwo…
Za pomocą urządzenia przedstawionego na rysunku wykonuje się

A. obróbkę cieplną.
B. spawanie plazmowe.
C. naciąganie ramy.
D. wyciąganie wgnieceń.
Diagnozowanie i naprawa nadwo…
Przedstawione na fotografii narzędzie, służy do

A. dziurkowania blach.
B. prostowania zagnieceń.
C. zaginania rantów.
D. trasowania linii gięcia.
Diagnozowanie i naprawa nadwo…
Naprawianą przy użyciu narzędzi blacharskich powierzchnię należy zabezpieczyć
A. farbą podkładową.
B. farbą nawierzchniową.
C. szpachlą lakierniczą.
D. środkiem konserwacyjnym.
Diagnozowanie i naprawa nadwo…
Jakie właściwości stali poprawia dodatek chromu?
A. hartowność
B. ciągliwość
C. udarność
D. twardość
Diagnozowanie i naprawa nadwo…
Chrom jako dodatek stopowy stali zwiększa jej
A. twardość.
B. udarność.
C. hartowność.
D. ciągliwość.
Diagnozowanie i naprawa nadwo…
Aby szybko określić stopień odkształceń wynikających z niewielkiej kolizji czołowo-bocznej, należy zastosować
A. urządzenie pomiarowe ramy naprawczej
B. miarę zwijaną
C. linijkę krawędziową
D. cyrkiel pomiarowy
Diagnozowanie i naprawa nadwo…
Do łączenia cienkich blach ocynkowanych należy zastosować metodę
A. lutospawania MIG.
B. spawania TIG.
C. spawania MAG.
D. spawania MIG.
Diagnozowanie i naprawa nadwo…
Uszkodzenie przedstawione na rysunku jest skutkiem

A. uszkodzenia mechanicznego nadwozia.
B. zużycia eksploatacyjnego nadwozia.
C. działania zjawiska korozji.
D. zmęczenia materiału.
Diagnozowanie i naprawa nadwo…
Na rysunku przedstawiono nadwozie o strukturze

A. skorupowej.
B. ramowej.
C. mieszanej.
D. szkieletowej.
Diagnozowanie i naprawa nadwo…
Do zabezpieczeń antykorozyjnych profili zamkniętych nadwozi stosuje się preparaty na bazie
A. silikonu.
B. tworzyw sztucznych.
C. oleju.
D. wosku.
Diagnozowanie i naprawa nadwo…
Ze względu na liczbę brył przedstawiony na rysunku pojazd posiada nadwozie typu

A. 2,5 bryłowe.
B. dwubryłowe.
C. trzybryłowe.
D. jednobryłowe.
Diagnozowanie i naprawa nadwo…
Po wykonaniu naprawy blacharskiej z użyciem spottera, obszary poszycia karoserii powinny być zabezpieczone
A. szpachlą lakierniczą
B. lakierem bezbarwnym
C. farbą antykorozyjną podkładową
D. preparatem woskowym
Diagnozowanie i naprawa nadwo…
Przedstawione na zdjęciu narzędzie stosowane jest do

A. żłobienia rowków.
B. obciągania powierzchni.
C. zaginania blach.
D. cięcia blach.
Diagnozowanie i naprawa nadwo…
Elementami nadwozia we współczesnych samochodach, wykonanymi z tworzyw sztucznych są
A. elementy nośne nadwozia.
B. płyty podłogowe.
C. progi.
D. zderzaki.
Diagnozowanie i naprawa nadwo…
Aby przeprowadzić częściową naprawę w formie wstawki (tzw. "łaty") w profilowanym nadwoziu, wykorzystuje się blachę
A. głęboko tłocznej
B. hartowanej
C. wysokowęglowej
D. gatunkowej
Diagnozowanie i naprawa nadwo…
Przedstawiony na rysunku pojazd posiada nadwozie

A. trójbryłowe.
B. dwubryłowe.
C. jednobryłowe.
D. czterobryłowe.
Diagnozowanie i naprawa nadwo…
Przed przystąpieniem do naprawy blacharskiej nadwozia pojazdu samochodowego, należy
A. określić zakres uszkodzeń i deformacji.
B. sprawdzić grubość powłoki lakierniczej.
C. przygotować odpowiednią ilość szpachli.
D. ocenić rodzaj zabezpieczenia antykorozyjnego.
Diagnozowanie i naprawa nadwo…
Elementy nośne nadwozia pogięte z załamaniami w wyniku kolizji drogowej powinny być naprawiane poprzez
A. formowanie uszkodzonych elementów na gorąco.
B. prostowanie załamań na elementach za pomocą spottera.
C. prostowanie uszkodzeń elementów narzędziami ręcznymi.
D. wymianę elementów na nowe.
Diagnozowanie i naprawa nadwo…
Urządzenie przedstawione na rysunku służy do pomiaru

A. geometrii nadwozia.
B. szczelin nadwozia.
C. kąta pochylenia koła.
D. zbieżności kół.
Diagnozowanie i naprawa nadwo…
Przyrząd przedstawiony na rysunku to

A. liniał blacharski.
B. liniał pomiarowy.
C. cyrkiel traserski
D. cyrkiel pomiarowy.
Diagnozowanie i naprawa nadwo…
Uszkodzone poszycie drzwi powinno być naprawione przy użyciu
A. klejenia
B. szpachlowania
C. wymiany
D. lutowania
Diagnozowanie i naprawa nadwo…
Powierzchnię, która będzie poddawana naprawie z wykorzystaniem narzędzi blacharskich, należy odpowiednio zabezpieczyć
A. farbą podkładową
B. środkiem konserwacyjnym
C. szpachlą lakierniczą
D. farbą nawierzchniową
Diagnozowanie i naprawa nadwo…
Przedstawione na zdjęciu urządzenie służy do pomiarów

A. grubości powłoki lakierniczej.
B. geometrii zawieszenia.
C. wielkości odkształceń nadwozia.
D. geometrii bryły nadwozia.
Diagnozowanie i naprawa nadwo…
Element urządzenia pomiarowego oznaczony na rysunku cyfrą 7 to

A. most pomiarowy.
B. ruchoma bramka.
C. listwa wzdłużna.
D. głowica pomiarowa.
Diagnozowanie i naprawa nadwo…
Podstawową cechą materiałów konserwacyjnych do konserwacji podwozi samochodowych powinna być ich dobra przyczepność oraz
A. porowatość.
B. elastyczność.
C. ściśliwość.
D. lejność.
Diagnozowanie i naprawa nadwo…
Po zakończeniu naprawy na ramie naprawczej w pierwszej kolejności należy pojazd
A. poddawać ponownym pomiarom
B. poddawać konserwacji
C. zabezpieczyć farbą podkładową
D. zdemontować z ramy
Diagnozowanie i naprawa nadwo…
Typ nadwozia pojazdu przedstawionego na rysunku to

A. hatchback.
B. bus.
C. sedan.
D. van.
Diagnozowanie i naprawa nadwo…
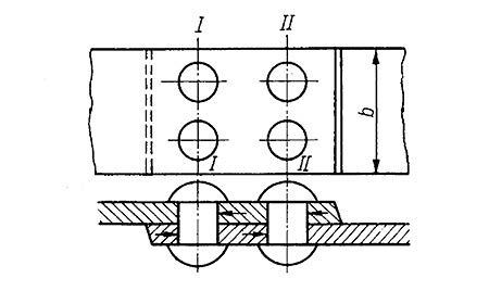
Na rysunku przedstawiono złącze

A. kołkowe.
B. skręcane.
C. nitowane.
D. spawane.