Filtrowanie pytań
Diagnozowanie i naprawa nadwo…
A. zawijania.
B. żłobienia.
C. wywijania.
D. odprężania.
Diagnozowanie i naprawa nadwo…
Element przedstawiony na rysunku używany jest podczas napraw nadwozi samochodowych techniką

A. spawania.
B. wyciągania.
C. wypychania.
D. lutowania.
Diagnozowanie i naprawa nadwo…
Przedstawiony na fotografii samochód posiada nadwozie typu

A. sport-coupe.
B. hatchback.
C. kombi.
D. SUV
Diagnozowanie i naprawa nadwo…
Kompozyty z zawartością włókien węglowych stosowane w budowie nadwozi składają się między innymi z
A. tytanu.
B. żywic.
C. aluminium.
D. grafitu.
Diagnozowanie i naprawa nadwo…
Rozcięte poszycie drzwi należy naprawiać metodą
A. lutowania.
B. wymiany.
C. klejenia.
D. szpachlowania.
Diagnozowanie i naprawa nadwo…
Przedstawione na rysunku urządzenie to

A. miara wielofunkcyjna
B. liniał krawędziowy.
C. cyrkiel traserski.
D. przymiar blacharski
Diagnozowanie i naprawa nadwo…
Na rysunku przedstawiono elektroniczne ramię pomiarowe służące do pomiaru

A. geometrii elementów nadwozia.
B. grubości powłoki lakierniczej.
C. geometrii zawieszenia.
D. zbieżności kół.
Diagnozowanie i naprawa nadwo…
Przedstawione na rysunku urządzenie stosowane jest do pomiarów

A. szczelin nadwozia.
B. geometrii bryły nadwozia.
C. siły hamowania.
D. geometrii układu zawieszenia.
Diagnozowanie i naprawa nadwo…
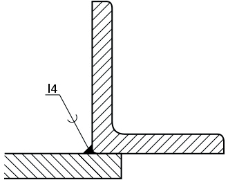
Połączenia przedstawionego na rysunku nie należy rozłączać poprzez

A. wiercenie.
B. szlifowanie.
C. rozkręcanie.
D. ścięcie.
Diagnozowanie i naprawa nadwo…
Który z przedstawionych na rysunkach pistoletów służy do wykonywania zabezpieczeń antykorozyjnych profili zamkniętych?
A. Pistolet 2

B. Pistolet 3

C. Pistolet 4

D. Pistolet 1

MOT.01 Pytanie 491
Diagnozowanie i naprawa nadwo…
Do metod antykorozyjnego zabezpieczenia blach nie zalicza się
A. cynkowania.
B. azotowania.
C. malowania.
D. fosforanowania.
Diagnozowanie i naprawa nadwo…
Przedstawione na ilustracji urządzenie służy do pomiaru

A. rozstawu kół.
B. geometrii zawieszenia.
C. deformacji nadwozia.
D. otworu szyby czołowej.
Diagnozowanie i naprawa nadwo…
Uszkodzenie szyby czołowej przedstawione na rysunku kwalifikuje ją do

A. platerowania.
B. polerowania.
C. wymiany.
D. szlifowania.
Diagnozowanie i naprawa nadwo…
Po naprawie blacharskiej polegającej na wymianie słupka drzwi wstawiony element nadwozia należy zabezpieczyć, wtryskując
A. mgiełkę olejową.
B. preparat na bazie wosku.
C. środek smołowaty.
D. farbę podkładową.
Diagnozowanie i naprawa nadwo…
Widoczne na rysunku uszkodzenie powstało w wyniku

A. sprasowania.
B. wyrwania.
C. korozji.
D. pęknięcia.
Diagnozowanie i naprawa nadwo…
Jakie metody stosuje się do zabezpieczania antykorozyjnego profili zamkniętych?
A. pistoletem zakończonym wężykiem
B. pędzlem
C. wałkiem
D. pistoletem lakierniczym
Diagnozowanie i naprawa nadwo…
Przyrząd przedstawiony na rysunku służy do

A. pomiaru geometrii nadwozia.
B. ustawienia zbieżności kół przednich.
C. pomiaru kątów pochylenia kół.
D. określania wielkości promienia skrętu.
Diagnozowanie i naprawa nadwo…
Przedstawione na rysunku urządzenia służą do wykonania połączeń metodą

A. lutospawania.
B. MMA.
C. MIG-MAG.
D. TIG.
Diagnozowanie i naprawa nadwo…
Przedstawiony na ilustracji zestaw palników służy do

A. zgrzewania.
B. spawania gazowego.
C. lutospawania.
D. lutowania twardego.
Diagnozowanie i naprawa nadwo…
Które z tworzyw sztucznych mogą być wielokrotnie przetwarzane?
A. Termoplastyczne.
B. Termoutwardzalne.
C. Chemoutwardzalne.
D. Reaktywne.
Diagnozowanie i naprawa nadwo…
Po zakończeniu naprawy, na ramie naprawczej, w pierwszej kolejności należy przeprowadzić
A. ponowne pomiary.
B. demontaż z ramy.
C. zabezpieczenie farbą podkładową.
D. konserwację.
Diagnozowanie i naprawa nadwo…
Pomiar położenia punktów bazowych nadwozia należy wykonać przy pomocy
A. pałąków do pomiarów pośrednich.
B. ramy pomiarowej.
C. bramy pomiarowej.
D. miary wielofunkcyjnej.
Diagnozowanie i naprawa nadwo…
Przedstawione na ilustracji urządzenie służy do wykonania połączeń metodą

A. spawania MIG/MAG w osłonach gazowych.
B. spawania gazowego.
C. spawania łukowego elektrodami otulonymi.
D. spawania plazmowego.
Diagnozowanie i naprawa nadwo…
Na której fotografii pokazany jest przymiar blacharski?
A. Fotografia 2

B. Fotografia 1

C. Fotografia 3

D. Fotografia 4

Diagnozowanie i naprawa nadwo…
Jaką metodę stosuje się do antykorozyjnego zabezpieczenia blach?
A. hartowanie
B. fosforanowanie
C. wyżarzanie
D. cyjanowanie
Diagnozowanie i naprawa nadwo…
Do metod kształtowania blach nie zalicza się
A. zaginania.
B. wywijania.
C. hartowania.
D. zawijania.
Diagnozowanie i naprawa nadwo…
Uszkodzenie metalowego elementu nadwozia samochodu powstałe w wyniku gradobicia wskazane jest naprawiać poprzez
A. szpachlowanie.
B. wypychanie.
C. zaspawanie.
D. cynowanie.
Diagnozowanie i naprawa nadwo…
Naprawa przedstawionego na fotografii uszkodzenia błotnika przedniego powinna według wstępnych oględzin polegać na

A. szpachlowaniu.
B. polakierowaniu.
C. wstawieniu łatek.
D. wymianie na nowy.
Diagnozowanie i naprawa nadwo…
Łączenie dużych elementów poszycia nadwozi szkieletowych wykonuje się najczęściej za pomocą
A. lutowania.
B. zgrzewania.
C. nitowania.
D. spawania.
Diagnozowanie i naprawa nadwo…
Materiałem nie stosowanym w produkcji nadwozi samochodowych jest
A. stop aluminium.
B. żeliwo.
C. szkło.
D. stal głęboko tłoczna.
Diagnozowanie i naprawa nadwo…
Które z tworzyw sztucznych mogą być wielokrotnie przerabiane?
A. Termoplastyczne.
B. Ceramiczne.
C. Chemoutwardzalne.
D. Termoutwardzalne.
Diagnozowanie i naprawa nadwo…
Urządzenie przedstawione na rysunku to

A. spawarka TIG.
B. spawarka MAG.
C. spawarka elektryczna.
D. zgrzewarka spotter.
Diagnozowanie i naprawa nadwo…
Przedstawione na rysunku urządzenie używa się do wstępnego pomiaru

A. długości pojazdów.
B. zbieżności kół.
C. geometrii nadwozia.
D. rozstawu osi.
Diagnozowanie i naprawa nadwo…
Narzędzie przedstawione na rysunku używane podczas wymiany poszyć zewnętrznych elementów nadwozia to

A. wykrajak otworów.
B. odsadzarka.
C. dziurkacz.
D. dziurkarko-felcarka.
Diagnozowanie i naprawa nadwo…
Przedstawione na rysunku uszkodzenie, nazywane potocznie „bananem”,

A. naprawiane jest poprzez wymianę drzwi i płyty podłogowej.
B. naprawiane jest poprzez wymianę poszycia zewnętrznego.
C. ze względów technicznych i kosztów naprawy nie powinno być naprawiane.
D. naprawiane jest za pomocą wyciągania i prostowania.
Diagnozowanie i naprawa nadwo…
Zniekształcone elementy karoserii z wgnieceniami i przetłoczeniami powinny być naprawiane wykorzystując metodę
A. wyciągania przy jednoczesnym nagrzewaniu.
B. wycinania i montażu łat.
C. wymiany elementu.
D. naprawy powstałych fałd.
MOT.01 Pytanie 517
Diagnozowanie i naprawa nadwo…
Proces przygotowania podwozia do uzupełnienia ubytków w ochronie przed korozją po zimowym sezonie powinien rozpocząć się od
A. nałożenia neutralizatora soli
B. umycia
C. nałożenia masy bitumicznej
D. piaskowania
Diagnozowanie i naprawa nadwo…
Który z wymienionych materiałów jest najczęściej używany do naprawy pękniętego zderzaka samochodowego?
A. szkło
B. metal
C. tworzywo sztuczne
D. drewno
Diagnozowanie i naprawa nadwo…
Po wykonanej naprawie blacharskiej, polegającej na wymianie poszycia progu, miejsce naprawy należy zabezpieczyć wtryskując
A. preparat woskowy.
B. mgiełkę olejową.
C. detergent.
D. farbę podkładową.
Diagnozowanie i naprawa nadwo…
Który z przedstawionych na fotografiach pistoletów służy do konserwacji profili wewnętrznych z wykorzystaniem gotowych środków antykorozyjnych?
A. Pistolet 1

B. Pistolet 3

C. Pistolet 4

D. Pistolet 2
