Filtrowanie pytań
BUD.02 Pytanie 1
Wykonywanie robót ciesielskich
A. wybicia klinów usztywniających.
B. usunięcia przybitych desek.
C. wyjęcia podwieszonych krawędziaków.
D. wysunięcia rygli podtrzymujących.
Wykonywanie robót ciesielskich
Do transportu pionowego kilkunastometrowych wiązarów deskowych należy stosować
A. żurawie jezdniowe.
B. wyciągi masztowe.
C. suwnice bramowe.
D. wciągarki łańcuchowe.
BUD.02 Pytanie 3
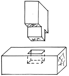
Wykonywanie robót ciesielskich
Na rysunku przedstawiono szczegół

A. oparcia ściany wieńcowej na ścianie fundamentowej.
B. posadowienia ściany drewnianej ryglowej.
C. uszczelnienia styku elementów drewnianych ściany szkieletowej.
D. rozwiązania konstrukcyjnego ściany drewnianej szkieletowej.
Wykonywanie robót ciesielskich
Więźba dachowa o konstrukcji płatwiowo-kleszczowej, przedstawiona na rysunku, jest w trakcie realizacji. Ukończono układanie i poziomowanie belek wiązarowych i stropowych. Kolejnym etapem wykonania będzie

A. ułożenie krokwi.
B. usztywnienie wiązara mieczami.
C. uszywnienie wiązara kleszczami.
D. ustawienie słupów.
Wykonywanie robót ciesielskich
Wymianę słupa narożnego, oznaczonego na rysunku cyfrą 1, w budynku o konstrukcji ryglowej należy rozpocząć od

A. umieszczenia konstrukcji dociążającej po obu stronach narożnika.
B. zamocowania konstrukcji dociążającej dwoma parami zastrzałów.
C. dociążenia wymienianego słupa dodatkowymi parami zastrzałów.
D. zamocowania konstrukcji dociążającej po jednej stronie narożnika.
Wykonywanie robót ciesielskich
Jaką ilość środka grzybobójczego, zgodnie z instrukcją producenta, należy zakupić, aby zaimpregnować z obu stron drewniane ogrodzenie o łącznej powierzchni 300 m²?
| Instrukcja producenta Środek grzybobójczy jest to silikonowy preparat z dodatkiem nowoczesnego środka grzybobójczego. Można nim impregnować elementy drewniane przeznaczone na zewnątrz i wewnątrz budynku. Zaimpregnowana preparatem powierzchnia nie nadaje się do lakierowania i bejcowania. Wydajność impregnatu: 10 m² z 1 kg. |
A. 15 kg
B. 25 kg
C. 30 kg
D. 40 kg
Wykonywanie robót ciesielskich
Budynek drewniany jednokondygnacyjny przykryty dachem jednospadowym, krytym papą, posadowiony na betonowych ścianach fundamentowych ma być poddany rozbiórce. Wskaż kolejność robót rozbiórkowych.
A. Pokrycie, ściany, posadzki, murłata, deskowanie dachu, fundament.
B. Ściany, murłata, deskowanie dachu, pokrycie, posadzki, fundament.
C. Pokrycie, deskowanie dachu, murłata, ściany, posadzki, fundament.
D. Posadzki, pokrycie, ściany, deskowanie dachu, murłata, fundament.
Wykonywanie robót ciesielskich
Które elementy deskowania słupa należy zdemontować jako pierwsze?
A. Jarzma.
B. Nakładki.
C. Wkładki.
D. Tarcze.
Wykonywanie robót ciesielskich
Podczas piłowania wzdłużnego tarcicy może dojść do odrzutu obrabianego elementu. Aby zmniejszyć prawdopodobieństwo wypadku, nie należy
A. piłować przy niskich obrotach pilarki.
B. stać z boku obrabianego elementu.
C. piłować elementów długich.
D. zakładać fartucha ochronnego.
BUD.02 Pytanie 10
Wykonywanie robót ciesielskich
Cieśla ma wykonać deskowanie o powierzchni 400 m2. Średnia wydajność pracy wynosi 20 m2/godzinę, a stawka 8,00 zł/godzinę. Jakie wynagrodzenie otrzyma cieśla za wykonanie tej pracy?
A. 240,00 zł
B. 3200,00 zł
C. 160,00 zł
D. 80,00 zł
BUD.02 Pytanie 11
Wykonywanie robót ciesielskich
Jak nazywa się konstrukcja przedstawiona na rysunku, którą wykonano w budynku murowanym w celu transportu materiałów pochodzących z rozbiórki drewnianej konstrukcji dachu?

A. Leżnia.
B. Deskowanie.
C. Schodnia.
D. Schody.
Wykonywanie robót ciesielskich
Wilgotność procentowa drewna iglastego przeznaczonego do wykonania konstrukcji pracujących na wolnym powietrzu nie powinna przekraczać
A. 10%
B. 18%
C. 23%
D. 15%
Wykonywanie robót ciesielskich
Jakie kolejne czynności należy wykonać podczas rozbiórki dachu krokwiowego?
A. Kolejno zdejmować dachówki, zdjąć gąsiory, oderwać łaty, zdemontować poszczególne pary krokwi i wiatrownice, posortować elementy.
B. Zdjąć gąsiory, kolejno zdejmować dachówki, oderwać łaty, zdemontować poszczególne pary krokwi i wiatrownice, posortować elementy.
C. Zdjąć gąsiory, kolejno zdejmować dachówki, zdemontować poszczególne pary krokwi i wiatrownice, oderwać łaty, posortować elementy.
D. Kolejno zdejmować dachówki, oderwać łaty, zdjąć gąsiory, zdemontować poszczególne pary krokwi i wiatrownice, posortować elementy.
BUD.02 Pytanie 14
Wykonywanie robót ciesielskich
Oblicz, ile wyniesie wynagrodzenie dla pracownika, który wykonał rozbiórkę stropu nad pomieszczeniem o wymiarach 4,0 × 5,0 m przy stawce 25,00 zł za 1 m² stropu.
A. 100,00 zł
B. 500,00 zł
C. 125,00 zł
D. 225,00 zł
Wykonywanie robót ciesielskich
Które z wymienionych środków ochrony indywidualnej powinien stosować pracownik wykonujący impregnację drewna preparatami chemicznymi, metodą natrysku, w pomieszczeniu zamkniętym?
A. Kask i okulary ochronne.
B. Okulary ochronne i nakolanniki.
C. Nauszniki przeciwhałasowe i rękawice ochronne.
D. Rękawice ochronne i maskę ochronną.
Wykonywanie robót ciesielskich
"Rozbiórkę rozpoczyna się od zdemontowania krzyżulców i poręczy, potem demontuje się pomost". W tekście opisano zasady demontażu
A. rusztowania stojakowego.
B. deskowania ław.
C. rusztowania nożycowego.
D. deskowania słupa.
Wykonywanie robót ciesielskich
Na rysunku przedstawiono fragment

A. deskowania ściany.
B. deskowania ławy fundamentowej.
C. zabezpieczenia ściany wykopu wąskoprzestrzennego.
D. zabezpieczenia ściany wykopu szerokoprzestrzennego.
Wykonywanie robót ciesielskich
Montaż stropów drewnianych należy rozpocząć od
A. wykonania ślepego pułapu.
B. przybicia desek podłogowych.
C. zamocowania podsufitki.
D. zamocowania belek stropowych.
Wykonywanie robót ciesielskich
Demontaż wiązara płatwiowo-kleszczowego, którego fragment przedstawiono na rysunku, należy rozpocząć od usunięcia

A. kleszczy.
B. mieczy.
C. krokwi.
D. płatwi.
Wykonywanie robót ciesielskich
Na rusztowaniu w widocznym miejscu powinna znajdować się
A. książka okresowych przeglądów rusztowania.
B. informacja o dopuszczalnym obciążeniu podestów roboczych.
C. tablica informacyjna budowy.
D. informacja o producencie rusztowania.
Wykonywanie robót ciesielskich
W celu zabezpieczenia konstrukcji dachu przed zerwaniem przez wiatr należy wykonać
A. deskowanie dachu.
B. stężenie więźby dachowej.
C. łacenie dachu.
D. kotwienie więźby dachowej.
Wykonywanie robót ciesielskich
Kolejność montażu elementów konstrukcji dachu przedstawionej na rysunku jest następująca:

A. belki stropowe, krokwie, murłaty, wiatrownice, łaty.
B. belki stropowe, murłaty, wiatrownice, krokwie, łaty.
C. murłaty, belki stropowe, wiatrownice, krokwie, łaty.
D. murłaty, belki stropowe, krokwie, wiatrownice, łaty.
Wykonywanie robót ciesielskich
Które z elementów więźby dachowej służą do jej podłużnego usztywnienia, przeciwdziałającego parciu wiatru na ścianę szczytową budynku?
A. Miecze.
B. Słupy.
C. Kleszcze.
D. Belki.
Wykonywanie robót ciesielskich
W celu zmniejszenia przyczepności mieszanki betonowej do tarcz deskowań ich wewnętrzne powierzchnie należy
A. zaimpregnować.
B. posmarować środkiem gruntującym.
C. zagruntować.
D. posmarować środkiem antyadhezyjnym.
Wykonywanie robót ciesielskich
Które elementy deskowania stropu żelbetowego płytowo-żebrowego, przedstawionego na rysunku, należy zdemontować jako pierwsze?

A. Tarcze denne.
B. Kliny pod stemplami.
C. Boczne tarcze słupów i belek.
D. Stemple.
Wykonywanie robót ciesielskich
Na którym rysunku przedstawiono właściwy sposób zamocowania zawiesia do drewnianej belki dwuteowej o dużej rozpiętości ze środnikiem wykonanym ze sklejki, w celu jej transportu dźwigiem?
A. Rysunek 4

B. Rysunek 3

C. Rysunek 2

D. Rysunek 1

Wykonywanie robót ciesielskich
W celu tymczasowego zabezpieczenia tarcicy przed szkodliwym działaniem czynników zewnętrznych należy ją ułożyć na
A. ubitym gruncie, przełożyć przekładkami i przykryć.
B. folii, bez przekładek i przykryć.
C. legarach, bez przekładek i przykryć.
D. legarach, przełożyć przekładkami i przykryć.
Wykonywanie robót ciesielskich
Demontaż szkieletu ściany budynku tymczasowego, pokazanego na rysunkach, należy rozpocząć od

A. oczepu.
B. podwaliny.
C. rygla.
D. słupków.
Wykonywanie robót ciesielskich
Na podstawie rysunku określ, które elementy dachu należy zdemontować w celu wymiany krokwi.

A. Pokrycie dachu, płatwie, deski.
B. Pokrycie dachu, rynnę, deski.
C. Płatwie, rynnę, pokrycie dachu.
D. Płatwie, rynnę, deski.
Wykonywanie robót ciesielskich
Rozbiórkę konstrukcji przedstawionej na rysunku należy rozpocząć od demontażu

A. mieczy.
B. płatwi.
C. stolców.
D. krokwi.
Wykonywanie robót ciesielskich
Demontaż rusztowania należy rozpocząć od zdemontowania
A. schodni.
B. leżni.
C. pomostu.
D. poręczy.
Wykonywanie robót ciesielskich
Rozbiórkę stropu drewnianego ze ślepym pułapem należy wykonać w następującej kolejności:
A. demontaż ślepego pułapu, zerwanie podłóg, obicie tynków i podsufitki, demontaż belek.
B. obicie tynków i podsufitki, demontaż belek, demontaż ślepego pułapu, zerwanie podłóg.
C. zerwanie podłóg, obicie tynków i podsufitki, demontaż belek, demontaż ślepego pułapu.
D. obicie tynków i podsufitki, zerwanie podłóg, demontaż ślepego pułapu, demontaż belek.
BUD.02 Pytanie 33
Wykonywanie robót ciesielskich
Demontaż drewnianych elementów dachu, którego fragment pokazano na rysunku, należy rozpocząć od usunięcia

A. krokwi.
B. deskowania.
C. siodełka.
D. murłaty.
BUD.02 Pytanie 34
Wykonywanie robót ciesielskich
Słup połączony z podwaliną, w sposób pokazany na rysunkach, ma być wymieniony z powodu uszkodzeń. W jaki sposób należy to wykonać?

A. Wyciąć słup z fragmentem podwaliny i wstawić nowe elementy.
B. Odciąć słup i wstawić nowy.
C. Wyciąć uszkodzone fragmenty słupa i uzupełnić ubytki deskami.
D. Zdemontować podwalinę i wymienić słup.
BUD.02 Pytanie 35
Wykonywanie robót ciesielskich
Który z wymienionych elementów jest stałą częścią stempla stalowego, za pomocą którego można dokonać regulacji wysokości stempla podpierającego dźwigar?
A. Podkładka dystansowa.
B. Dźwignik hydrauliczny.
C. Klin drewniany.
D. Dźwignik śrubowy.
Wykonywanie robót ciesielskich
Budynek mieszkalny o konstrukcji drewnianej szkieletowej i wymiarach w rzucie 8,0 × 8,0 m został, zgodnie z projektem, zakotwiony do fundamentu w środku ścian i w pobliżu naroży. Celem zakotwienia jest
A. zapewnienie lepszego tarcia podwaliny o fundament.
B. zabezpieczenie przed oddziaływaniem wiatru na budynek.
C. wzmocnienie odeskowania ścian budynku.
D. zabezpieczenie konstrukcji przed naporem śniegu.
Wykonywanie robót ciesielskich
Rozbieranie deskowania nadproża sklepionego, przedstawionego na rysunku, należy rozpocząć od

A. poluzowania słupków.
B. usunięcia krążyn.
C. usunięcia desek.
D. wyjęcia poprzeczki.
Wykonywanie robót ciesielskich
Na którym rysunku belek stropowych ułożonych do składowania przedstawiono prawidłowe rozmieszczenie przekładek drewnianych?
A. Rysunek 4

B. Rysunek 2

C. Rysunek 1

D. Rysunek 3

Wykonywanie robót ciesielskich
Belkowy drewniany dźwigar kratowy na okres transportu dźwigiem należy zamocować
A. do haka, zaczepiając bezpośrednio za pas górny dźwigara.
B. do zawiesia za pomocą pęt założonych w dwóch miejscach dźwigara symetrycznie.
C. do zawiesia za pomocą pęt założonych w dwóch dowolnych miejscach dźwigara.
D. do haka, zaczepiając bezpośrednio za dowolny koniec dźwigara.
Wykonywanie robót ciesielskich
Demontaż deskowania płyty żelbetowej należy rozpocząć od
A. usunięcia stempli.
B. rozebrania płyty deskowania.
C. usunięcia poprzecznic.
D. wyjęcia klinów pod stemplami.