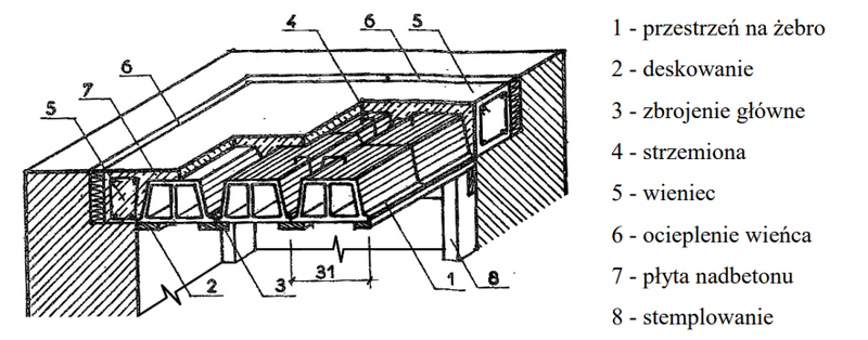
Które elementy deskowania stropu żelbetowego płytowo-żebrowego, przedstawionego na rysunku, należy zdemontować jako pierwsze?


















| Specyfikacja techniczna wykonania stemplowania deskowania stropu (fragment) | |
|---|---|
| Stemplowanie należy wykonać z okrąglaków Ø 8÷15 cm lub krawędziaków o wymiarach 8÷15 cm. Stemple należy połączyć u góry ryglami z desek o grubości 25÷40 mm i stężyć krzyżulcami z desek o grubości 25 mm. Stemple należy rozstawić co 1÷1,4 m i ustawić na podwalinach i klinach. |



| Specyfikacja techniczna wykonania i odbioru robót (fragment) |
WYMIANA ELEMENTÓW WIĘŹBY DACHOWEJ (…) 1.2. Ogólne wymagania dotyczące robót Do robót związanych z wykonaniem konstrukcji dachowej należy: Wymiana podkładu z desek pod pokryciem z blachy - podkład z drewna powinien być wykonany z desek obrzynanych o grubości 25 mm i szerokości 12-15 cm. Grubość deski okapowej powinna być większa i wynosić nie mniej niż 30 mm. Nie należy stosować desek z szczelinami i zanieczyszczonych zaprawą murarską lub betonem. Odstępy pomiędzy deskami powinny wynosić nie więcej niż 4 cm. Gwoździe, ocynkowane, powinny być gładkie wbite w deski tak, aby ich łebki nie stykały się z blachą. (…) Równość powierzchni deskowania powinna być taka, aby prześwit między powierzchnią deskowania a łatą kontrolną o długości 3 m był nie większy niż 5 mm w kierunku prostopadłym do spadku i nie większy niż 10 mm w kierunku równoległym do spadku (pochylenia połaci dachowej). Równość płaszczyzny połaci z łat i kontrłat powinna być analogiczna jak dla deskowania. (…) |













| Wymiary elementu mm | Dopuszczalne odchyłki wymiarów elementu mm |
|---|---|
| 0÷5 | ±0,1 |
| 6÷25 | ±0,5 |
| 26÷100 | ±1,0 |
| 101÷250 | ±2,0 |
| 251÷1200 | ±5,0 |
| 1201÷3000 | ±10,0 |
| 3001÷6000 | ±15,0 |
| >6000 | ±20,0 |

| Norma zużycia materiałów na 1 m² ściany formy z desek | ||
|---|---|---|
| Rodzaj materiału | J.m. | Norma zużycia |
| Deski iglaste strugane jednostronnie profilowane nasycone, o grubości 25 mm | m³ | 0,031 |
| Gwoździe budowlane okrągłe | kg | 0,15 |
