Filtrowanie pytań
Wykonywanie robót ciesielskich
A. podparcia belek w środku.
B. zastosowania impregnatu.
C. wykonania dodatkowych belek.
D. przybicia obustronnych nakładek z desek.
Wykonywanie robót ciesielskich
Na rysunku przedstawiono połączenie krokwi, składającej się z dwóch części, z płatwią, słupem, kleszczami i mieczami. Krokiew oznaczona na rysunku cyfrą 7 występuje w dachu

A. mansardowym.
B. namiotowym.
C. półszczytowym.
D. kopulastym.
Wykonywanie robót ciesielskich
Deski w tarczach bocznych deskowania ścian betonowych należy połączyć drewnianymi nakładkami o przekroju od 50 do 100 mm przy użyciu gwoździ, które należy wbijać
A. tylko od wewnętrznej strony deskowania.
B. naprzemiennie - do co trzeciej nakładki od strony deskowania.
C. zarówno od strony deskowania jak i nakładek - do każdej nakładki.
D. tylko od strony mocowanej nakładki.
Wykonywanie robót ciesielskich
Które z wymienionych elementów konstrukcji więźby dachowej występują zawsze parami?
A. Płatwie.
B. Jętki.
C. Kleszcze.
D. Słupki.
Wykonywanie robót ciesielskich
Do ręcznego wykonania czopów w drewnianych słupach konstrukcji ryglowo-słupowej należy użyć znacznika i
A. ośnika.
B. siekiery.
C. piły.
D. dłuta.
Wykonywanie robót ciesielskich
Które elementy należy zastosować w celu połączenia tarcz deskowania drobnowymiarowego U-Form przy pomocy zworników?
A. Wpusty.
B. Tulejki.
C. Sworznie.
D. Kliny.
Wykonywanie robót ciesielskich
Które z wymienionych elementów można podczas remontu budynku połączyć ze sobą na styk za pomocą łącznika pokazanego na rysunku?

A. Rygiel ze słupem.
B. Oczep z zastrzałem.
C. Belkę z wymianem.
D. Słup z belką stropową.
BUD.02 Pytanie 48
Wykonywanie robót ciesielskich
Do połączeń węzłowych poszczególnych elementów prefabrykowanego wiązara kratowego, zgodnie z zamieszczonym opisem, można zastosować perforowane płytki stalowe o grubości
| Poszczególne elementy drewnianego wiązara kratowego, czyli pasy górne, pasy dolne, słupki i krzyżulce, wykonane są zazwyczaj ze struganych desek o wymiarach 38×89 lub 38×140 mm albo bali 50×100 mm bądź 50×150 mm. Połączenia węzłowe poszczególnych elementów wykonuje się za pomocą dwustronnie przybitych nakładek ze sklejki wodoodpornej o grubości 12 mm lub perforowanych płytek stalowych o grubości 2 mm. |
A. 12 mm
B. 38 mm
C. 50 mm
D. 2 mm
Wykonywanie robót ciesielskich
Które z elektronarzędzi ciesielskich należy zastosować do wykonania zaciosu koszowego przedstawionego na rysunku?

A. Elektronarzędzie 2

B. Elektronarzędzie 3

C. Elektronarzędzie 4

D. Elektronarzędzie 1

Wykonywanie robót ciesielskich
Którą z wymienionych czynności należy wykonać podczas demontażu pokazanego na rysunku połączenia belek drewnianych na długości?

A. Wycięcie fragmentu ze śrubami.
B. Nawiercenie pierścieni Geka.
C. Odkręcenie śrub.
D. Nawiercenie śrub.
Wykonywanie robót ciesielskich
Do połączenia belek podwalinowych w narożu ścian przedstawionych na rysunku należy zastosować złącze na

A. nakładkę prostą.
B. zamek węgłowy.
C. czop zwyczajny.
D. jaskółczy ogon.
Wykonywanie robót ciesielskich
Którego z wymienionych przyrządów należy użyć do kontrolnego pomiaru wewnętrznej średnicy otworu na sworzeń?
A. Liniału.
B. Kątownika przylgowego.
C. Macki.
D. Miarki składanej.
Wykonywanie robót ciesielskich
Do wybrania gniazda w złączu ciesielskim należy użyć
A. czopiarki.
B. pilarki.
C. strugarki.
D. wyrówniarki.
Wykonywanie robót ciesielskich
Pod jakim kątem należy wykonać podcięcie krokwi w połączeniu wrębowym skośnym, przedstawionym na rysunku, jeżeli kąt nachylenia połaci dachowej wynosi 50°?

A. 40°
B. 50°
C. 55°
D. 45°
Wykonywanie robót ciesielskich
Na którym rysunku przedstawiono połączenie belek w narożach ścian wieńcowych na nakładkę prostą?
A. Rysunek 1

B. Rysunek 3

C. Rysunek 2

D. Rysunek 4

Wykonywanie robót ciesielskich
Na rysunku przedstawiono sposób

A. podparcia krokwi nakładkami.
B. wzmocnienia krokwi w węźle podporowym.
C. podparcia krokwi zastrzałami.
D. wzmocnienia połączenia jętki z krokwią.
Wykonywanie robót ciesielskich
W celu dokładnego dopasowania połączenia na zamek z ostatkami drewnianych elementów ścian o konstrukcji wieńcowej, należy użyć
A. siekier i grzbietnicy.
B. siekier i ośnika.
C. struga i narzynicy.
D. dłuta i pobijaka.
Wykonywanie robót ciesielskich
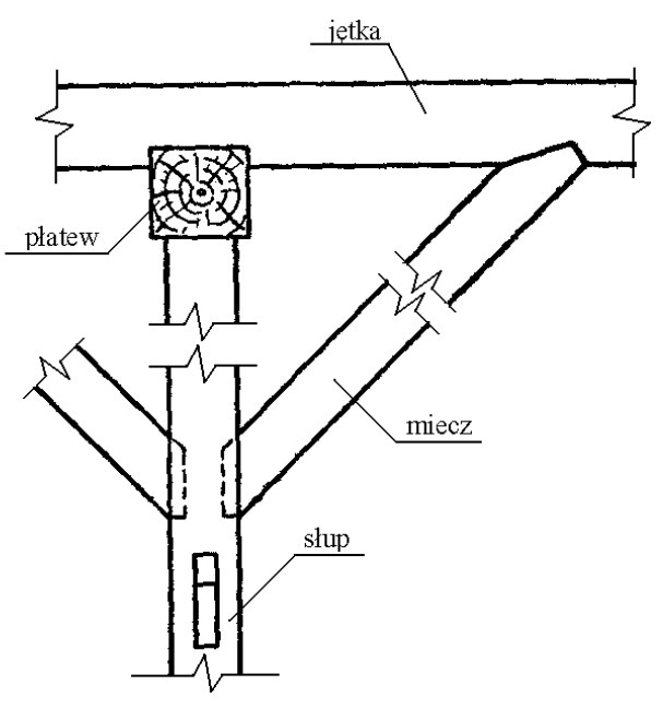
Jaka jest kolejność montażu elementów konstrukcji przy wykonywaniu przedstawionego na rysunku połączenia mieczy z jętką i słupem?

A. Płatew, miecze, jętka, słup.
B. Miecze, jętka, słup, płatew.
C. Słup, płatew, jętka, miecze.
D. Jętka, słup, płatew, miecze.
Wykonywanie robót ciesielskich
Na rysunku przedstawiono konstrukcję ścian

A. wieńcowych-zrębowych.
B. szkieletowych z płyt.
C. słupowo-ryglowych.
D. szkieletowych z bali.
Wykonywanie robót ciesielskich
Do wykonania deskowania stopy prostokątnej, pokazanej na rysunku, niezbędne jest przygotowanie

A. dwóch tarcz dłuższych z nakładkami przymocowanymi z obu stron i dwóch krótszych z nakładkami przymocowanymi jednostronnie.
B. czterech jednakowych tarcz z nakładkami przymocowanymi jednostronnie.
C. dwóch tarcz dłuższych z nakładkami przymocowanymi jednostronnie i dwóch krótszych z nakładkami przymocowanymi z obu stron.
D. czterech jednakowych tarcz z nakładkami przymocowanymi z obu stron.
Wykonywanie robót ciesielskich
Drewniane belki stropowe należy zamocować w murze za pomocą
A. wkrętów samowiercących.
B. zaprawy cementowo-wapiennej.
C. kotew stalowych.
D. listew drewnianych.
Wykonywanie robót ciesielskich
Jak nazywa się element konstrukcji ściany drewnianej oznaczony na rysunku cyfrą 5?

A. Rygiel.
B. Oczep.
C. Podwalina.
D. Zastrzał.
Wykonywanie robót ciesielskich
Przedstawione na rysunku wzmocnienie pękniętej belki stropu polega na ściągnięciu jej

A. sześcioma śrubami M12 w kierunku prostopadłym do pęknięcia.
B. trzema śrubami M12 w kierunku równoległym do pęknięcia.
C. sześcioma śrubami M12 w kierunku równoległym do pęknięcia.
D. trzema śrubami M12 w kierunku prostopadłym do pęknięcia.
Wykonywanie robót ciesielskich
Kolejne czynności niezbędne do wykonania pokazanej na rysunku zakładki prostej to:

A. trasowanie – cięcie – pasowanie – wiercenie – skręcanie.
B. trasowanie – pasowanie – wiercenie – cięcie – skręcanie.
C. cięcie – skręcanie – trasowanie – pasowanie – wiercenie.
D. pasowanie – wiercenie – cięcie – skręcanie – trasowanie.
BUD.02 Pytanie 65
Wykonywanie robót ciesielskich
Na rysunku przedstawiono ścianę o konstrukcji

A. sumikowo-łątkowej.
B. deskowej.
C. wieńcowej.
D. ryglowej pełnej.
Wykonywanie robót ciesielskich
Na rysunku przedstawiono wiązar

A. płatwiowo-kleszczowy.
B. krokwiowo-jętkowy.
C. kratowy.
D. krokwiowy.
Wykonywanie robót ciesielskich
Na rysunku przedstawiono połączenie

A. krokwi z kleszczem.
B. krokwi z płatwią.
C. jętki z krokwią.
D. jętki z płatwią.
BUD.02 Pytanie 68
Wykonywanie robót ciesielskich
W jakiej kolejności należy zamontować na podwalinie poszczególne elementy drewnianej ściany szkieletowej, której fragment przedstawiono na rysunku?

A. Oczep, słupki, belka stropowa.
B. Oczep, belka stropowa, słupki.
C. Słupki, belka stropowa, oczep.
D. Słupki, oczep, belka stropowa.
Wykonywanie robót ciesielskich
Które ze złączy należy zastosować do połączenia drewnianej belki z drewnianym podciągiem znajdujących się w jednej płaszczyźnie?
A. Złącze 4

B. Złącze 2

C. Złącze 3

D. Złącze 1

Wykonywanie robót ciesielskich
Na którym rysunku przedstawiono połączenie wzdłużne do przedłużenia belki na nakładkę prostą?
A. Rysunek 1

B. Rysunek 4

C. Rysunek 3

D. Rysunek 2

Wykonywanie robót ciesielskich
Na którym rysunku przedstawiono wspornik przeznaczony do zamocowania belki (tzw. but)?
A. Rysunek 3

B. Rysunek 2

C. Rysunek 1

D. Rysunek 4

Wykonywanie robót ciesielskich
W jaki sposób należy połączyć słupy ościeży z wieńcami podczas montażu ściany z otworem przestawionym na rysunku?

A. Słupy ościeży zamocować łącznikami metalowymi do belek wieńcowych, słupy i górny wieniec dokładnie dopasować.
B. Słupy ościeży wstawić wpustami w czopy belek wieńcowych, słupy i górny wieniec szczelnie dopasować.
C. Słupy ościeży zamocować łącznikami metalowymi do belek wieńcowych, pomiędzy słupami a górnym wieńcem pozostawić szczelinę.
D. Słupy wstawić wpustami w czopy belek, pozostawiając pomiędzy słupami a górnym wieńcem szczelinę.
Wykonywanie robót ciesielskich
Widoczny na rysunku fragment konstrukcji dachu zwany jest

A. portfenetrem.
B. oknem połaciowym.
C. bawolim okiem.
D. lukarną.
Wykonywanie robót ciesielskich
Połączenie ciesielskie przedstawione na rysunku stosowane jest do łączenia krokwi

A. z jętką.
B. ze słupem.
C. z drugą krokwią.
D. z belką stropową.
Wykonywanie robót ciesielskich
Elementy węzła podporowego dźwigara kratowego deskowego, przedstawionego na rysunku, należy połączyć za pomocą

A. pierścieni i śrub.
B. gwoździ i wkrętów.
C. gwoździ i pierścieni.
D. śrub i wkrętów.
Wykonywanie robót ciesielskich
Na którym rysunku pokazano złącze na zwidłowanie?
A. Rysunek 3

B. Rysunek 1

C. Rysunek 4

D. Rysunek 2

Wykonywanie robót ciesielskich
Na podstawie instrukcji, określ ile powinna wynosić minimalna długość nakładki, jeżeli grubość każdego z łączonych elementów wynosi 3,5 cm.
| Instrukcja wykonania nakładki prostej (fragment) |
| Elementy drewniane łączone na styk wzmacnia się nakładkami. Wymiary nakładek uzależnione są od grubości łączonych elementów. Długość nakładki nie może być mniejsza niż 10 grubości łączonych elementów. |
A. 10,5 cm
B. 52,5 cm
C. 17,5 cm
D. 35,0 cm
Wykonywanie robót ciesielskich
Jaka powinna być zależność pomiędzy głębokością gniazd i długością czopów w połączeniach słupków środkowych z oczepem?
A. Gniazda powinny być głębsze niż długość czopów.
B. Czopy muszą być na przemian dłuższe i krótsze od głębokości gniazda.
C. Czopy muszą być dłuższe od głębokości gniazda.
D. Gniazda powinny mieć głębokość równą długości czopów.
Wykonywanie robót ciesielskich
Gniazdo czopowe złącza przedstawionego na rysunku, łączącego słup z oczepem, należy wykonać przy pomocy

A. dłutownicy łańcuchowej.
B. struga ciesielskiego.
C. pilarki.
D. frezarki
Wykonywanie robót ciesielskich
Które z narzędzi przedstawione jest na rysunku?

A. Macka.
B. Równiak.
C. Młotek.
D. Pobijak.