Filtrowanie pytań
Wykonywanie robót ciesielskich
A. 1,2 kg
B. 0,2 kg
C. 2,4 kg
D. 0,5 kg
Wykonywanie robót ciesielskich
Który sortyment drewna okrągłego należy przeznaczyć na słupy do zabezpieczenia skarpy wykopu szerokoprzestrzennego przedstawionego na rysunku?

A. Wyrzynki.
B. Kłody.
C. Wałki.
D. Szczapy.
Wykonywanie robót ciesielskich
Do wykonania tarcz deskowania ścian należy zastosować
A. bale.
B. listwy.
C. belki.
D. deski.
Wykonywanie robót ciesielskich
Na podstawie cennika, oblicz należność brutto za wynajęcie na okres 32 dni deskowania potrzebnego do wykonania stropu o powierzchni 130 m².
| CENNIK WYNAJMU DESKOWANIA STROPU (ceny i wartości brutto) | |||
|---|---|---|---|
| Powierzchnia deskowania | Cena jednostkowa brutto za m² na dobę do 30 dni | Wartość brutto za wynajem na 30 dni | Cena jednostkowa brutto za m² na dobę powyżej 30 dni |
| m² | zł | zł | zł |
| 10÷99 | 1,00 | - | 1,05 |
| 100÷129 | 0,90 | 2700,00 | 0,95 |
| 130÷159 | 0,85 | 3315,00 | 0,90 |
| 160 i więcej | 0,80 | 3840,00 | 0,85 |
A. 3549,00 zł
B. 2700,00 zł
C. 3315,00 zł
D. 4061,00 zł
Wykonywanie robót ciesielskich
W jaki sposób należy dokonać rozbiórki elementów deskowania nadproża sklepionego przedstawionego na rysunku?

A. Uciąć słupki, podeprzeć deskowanie, wyjąć kliny i deski.
B. Przeciąć deski, podeprzeć deskowanie, usunąć deski.
C. Uciąć słupki, przeciąć krążyny i poprzeczki, podeprzeć deskowanie, usunąć deski.
D. Usunąć kliny, podeprzeć deskowanie, wyjąć słupki, poprzeczki, krążyny i deski.
Wykonywanie robót ciesielskich
Systemowe podpory stropowe należy składować na terenie budowy
A. w stojakach w pozycji pionowej.
B. na paletach słupkowych w pozycji poziomej.
C. luzem w pozycji pionowej.
D. na paletach w pozycji poziomej.
Wykonywanie robót ciesielskich
Na rysunku przedstawiono sposób podnoszenia ściany wieńcowej podczas wymiany

A. oczepu.
B. nadproża.
C. płatwi.
D. podwaliny.
Wykonywanie robót ciesielskich
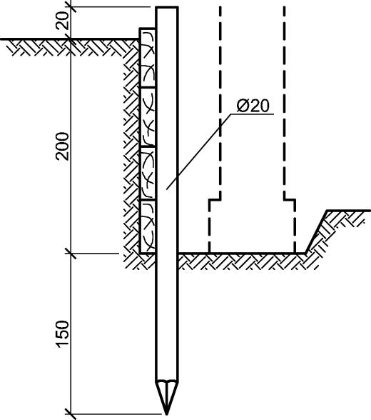
Którego materiału należy użyć na rozpory drewnianego zabezpieczenia wykopu wąsko-przestrzennego przedstawionego na rysunku?

A. Bali obrzynanych o przekroju 50×160 mm
B. Bali obrzynanych o przekroju 50×200 mm
C. Okorków o szerokości 140÷160 mm
D. Wałków o średnicy 140÷160 mm
Wykonywanie robót ciesielskich
Którego sprzętu należy użyć do usuwania gwoździ z materiałów drewnianych odzyskanych podczas rozbiórki?
A. Dłuta i siekiery.
B. Wkrętaka i ośnika.
C. Żabki i obcęgów.
D. Młotka i wiertła.
Wykonywanie robót ciesielskich
Konstrukcja ciesielska, pokazana na rysunku, to deskowanie

A. fundamentu schodkowego.
B. schodów monolitycznych.
C. schodni rusztowania.
D. schodów z prefabrykowanymi stopniami.
Wykonywanie robót ciesielskich
Na rysunku przedstawiono fragment drewnianego stropu

A. deskowego.
B. nagiego.
C. kasetonowego.
D. ciechego.
Wykonywanie robót ciesielskich
Na rysunkach przedstawiono sposoby zabezpieczania ścian wykopów wąskoprzestrzennych. Który z nich jest zalecany do zastosowania wyłącznie w gruncie zwięzłym?
A. Rysunek 2

B. Rysunek 3

C. Rysunek 4

D. Rysunek 1

Wykonywanie robót ciesielskich
Dopuszczalne odchylenie płaszczyzny deskowania ściany od pionu wynosi ±10 mm na całej wysokości oraz ±2 mm/m. Który z podanych wyników pomiarów odchylenia deskowania ściany o wysokości 360 cm spełnia to wymaganie?
A. 9,2 mm
B. 17,2 mm
C. 10,0 mm
D. 7,0 mm
BUD.02 Pytanie 94
Wykonywanie robót ciesielskich
Rozbiórkę deskowania stropu płaskiego przedstawionego na rysunku należy rozpocząć od usunięcia

A. rygli.
B. klinów.
C. desek.
D. podciągów.
Wykonywanie robót ciesielskich
Który element deskowania słupa oznaczono na rysunku numerem 3?

A. Listwę wzmacniającą.
B. Tarcze wewnętrzną.
C. Jarzmo.
D. Zamknięcie otworu kontrolnego.
Wykonywanie robót ciesielskich
Podczas odbioru technicznego wykonanych deskowań ocenie nie podlega
A. rozstaw podpór.
B. szczelność deskowania.
C. czystość deskowania.
D. koszt wykonania.
Wykonywanie robót ciesielskich
Transport tarcicy przeznaczonej na deskowanie płyty żelbetowej na drugą kondygnację budynku nie może odbywać się za pomocą
A. windy.
B. schodni.
C. pochylni.
D. schodów.
Wykonywanie robót ciesielskich
Montaż elementów deskowania słupa o przekroju prostokątnym należy rozpocząć od ustawienia
A. ramki stabilizacyjnej.
B. jarzma.
C. tarczy dennej.
D. tarczy bocznej.
Wykonywanie robót ciesielskich
Stemplowanie należy ustawić przed wykonaniem deskowania
A. ścian.
B. ław fundamentowych.
C. słupów.
D. stropów monolitycznych.
Wykonywanie robót ciesielskich
Na ławie fundamentowej, na której ma być wznoszona drewniana konstrukcja wieńcowa, musi być ułożona izolacja wykonana z
A. cienkiego styropianu
B. dwóch warstw pianki poliuretanowej.
C. blachy ocynkowanej.
D. dwóch warstw papy na lepiku.
Wykonywanie robót ciesielskich
Którego z wymienionych środków nie można zastosować do impregnacji form i deskowań z drewna?
A. Butaprenu.
B. Smoly.
C. Nafty.
D. Abizolu.
Wykonywanie robót ciesielskich
Na rysunku przedstawiono deskowanie

A. schodów płytowych.
B. ławy fundamentowej.
C. nadproża płaskiego.
D. belki jednoprzęsłowej.
Wykonywanie robót ciesielskich
Na rysunku cyfrą 1 oznaczono elementy

A. poszycia stropu drewnianego.
B. deskowania stropu żelbetowego.
C. poszycia dachu żelbetowego.
D. deskowania płyty spocznikowej.
Wykonywanie robót ciesielskich
Dopuszczalne odchylenie rozstawu tarcz deskowania w świetle, od wymiaru określonego w projekcie, dla deskowania ściany żelbetowej wynosi +5 mm, -2 mm. Który z podanych wymiarów rozstawu spełnia to wymaganie, jeśli grubość ściany zgodnie z projektem powinna wynosić 30 cm?
A. 29,5 cm
B. 29,7 cm
C. 30,7 cm
D. 30,5 cm
Wykonywanie robót ciesielskich
Pomost w rusztowaniu stojakowym przeznaczonym do robót murarskich należy wykonać z
A. jednej warstwy desek, w odległości maksimum 5 cm od ściany.
B. jednej warstwy desek, w odległości maksimum 25 cm od ściany.
C. dwóch warstw desek, w odległości maksimum 25 cm od ściany.
D. dwóch warstw desek, w odległości maksimum 5 cm od ściany.
Wykonywanie robót ciesielskich
Do wykonania deskowania stopy prostokątnej, pokazanej na rysunku, niezbędne jest przygotowanie

A. dwóch tarcz dłuższych z nakładkami przymocowanymi jednostronnie i dwóch krótszych z nakładkami przymocowanymi z obu stron.
B. dwóch tarcz dłuższych z nakładkami przymocowanymi z obu stron i dwóch krótszych z nakładkami przymocowanymi jednostronnie.
C. czterech jednakowych tarcz z nakładkami przymocowanymi jednostronnie.
D. czterech jednakowych tarcz z nakładkami przymocowanymi z obu stron.
Wykonywanie robót ciesielskich
Ze względu na bezpieczeństwo pracy rozbiórkę deskowania stropu żebrowego opartego na słupach, przedstawionego na rysunku, należy prowadzić w następującej kolejności:

A. rozebrać deskowanie słupów i boków belek, stopniowo wybić spod stempli kliny, wyjąć stemple, zdjąć deskowanie płyty stropu.
B. stopniowo wybić spod stempli kliny, wyjąć stemple, zdjąć deskowanie płyty stropu, rozebrać deskowanie słupów i boków belek.
C. zdjąć deskowanie płyty stropu, wybić spod stempli kliny, wyjąć stemple, rozebrać deskowanie słupów i boków belek.
D. rozebrać deskowanie słupów i boków belek, zdjąć deskowanie płyty stropu, wybić spod stempli kliny, wyjąć stemple.
Wykonywanie robót ciesielskich
Podczas kontroli jakości drewnianego deskowania betonowej płyty fundamentowej, złożonego z 4 tarcz o wymiarach 4,00×0,20 m, wykonanych z desek o grubości 25 mm, stwierdzono w nim cztery wady. Na podstawie wymagań dotyczących jakości deskowania, określ która z nich dyskwalifikuje wykonane deskowanie.
| Wymagania dotyczące jakości deskowania płyty betonowej Dopuszczalne wady deskowania:
|
A. Oblina o długości 1,5 m i grubości 16 mm.
B. Oblina o długości 2,0 m i grubości 14 mm.
C. Pęknięcie z przesychania o długości 2,6 m i głębokości 6 mm.
D. Pęknięcie z przesychania o długości 2,5 m i głębokości 7 mm.
Wykonywanie robót ciesielskich
Jak nazywa się element deskowania ściany betonowej o dużej krzywiźnie, oznaczony na rysunku cyfrą 3?

A. Łącznik tarcz.
B. Listewka.
C. Wygięta deska.
D. Krążyna.
Wykonywanie robót ciesielskich
Określ, na podstawie przedstawionego opisu, jakiej grubości sklejkę wodoodporną należy zastosować do wykonania deskowania ściany fundamentowej.
| Deskowanie wykonuje się z drewna iglastego II i III klasy: są to przeważnie deski grubości 25 lub 38 mm, rzadziej 38 lub 45 mm, łaty 45×50 mm i 50×75 mm oraz drewno okrągłe ϕ60 mm na kołki i ϕ100÷150 mm na stojaki. Ponadto używa się sklejki wodoodpornej do deskowań grubości 8÷12 mm oraz płyt pilśniowych twardych i bardzo twardych grubości 5,0÷6,4 mm. |
A. 45 mm
B. 5,0÷6,4 mm
C. 38 mm
D. 8,0÷12,0 mm
BUD.02 Pytanie 111
Wykonywanie robót ciesielskich
Oblicz szerokość deski potrzebnej na zastawkę w deskowaniu schodów żelbetowych, jeżeli liczba stopni wynosi 8, długość biegu 2,6 m, a różnica poziomów wynosi 1,3 m, co przedstawiono na rysunku.

A. 32,25 cm
B. 18,57 cm
C. 28,15 cm
D. 16,25 cm
Wykonywanie robót ciesielskich
W deskowaniu ściągi stalowe stosowane są w celu
A. ustawienia deskowania w pionie.
B. zabezpieczenia deskowania przed deformacją podczas betonowania.
C. zabezpieczenia desek przed przywieraniem betonu.
D. bocznego podparcia tarczy ławy fundamentowej.
Wykonywanie robót ciesielskich
Które z wymienionych deskowań należy wykonać w celu zabezpieczenia wykopu wąskoprzestrzennego wykonanego w gruncie spoistym, stosując rozpory i biorąc pod uwagę względy ekonomiczne?
A. Pełne rozparte.
B. Pełne podparte.
C. Ażurowe podparte.
D. Ażurowe rozparte.
Wykonywanie robót ciesielskich
Na podstawie tabeli określ wymiary gwoździ, jakich należy użyć do przybicia desek oporowych deskowania belki żelbetowej o wysokości 0,8 m.
| Wymiary elementów deskowań belek i podciągów żelbetowych | ||||||
|---|---|---|---|---|---|---|
| wysokość belki [m] | rozstaw głowic stempli [m] | przekrój desek oporowych [m] | gwoździe do przybijania desek oporowych | |||
| średnica [mm] | długość [mm] | liczba sztuk | ||||
| grubość dna 40 mm | ||||||
| 0,3 | 1,25 | 25 × 120 | 3,0 | 70 | 2 | |
| 0,4 | 1,15 | 25 × 120 | 3,5 | 80 | 3 | |
| 0,5 | 1,05 | 25 × 120 | 3,5 | 80 | 4 | |
| 0,6 | 1,00 | 25 × 120 | 3,5 | 80 | 5 | |
| 0,8 | 0,90 | 40 × 100 | 4,0 | 100 | 6 | |
| 1,0 | 0,85 | 40 × 100 | 4,5 | 100 | 6 | |
A. 3,0 × 70 mm
B. 3,5 × 80 mm
C. 4,5 × 100 mm
D. 4,0 × 100 mm
Wykonywanie robót ciesielskich
Przedstawiony opis wykonania stemplowania dotyczy systemowego deskowania
| Stemplowanie należy wykonać z okrąglaków lub krawędziaków. Stemple ustawić na podwalinach i klinach, którymi należy wyregulować poziom deskowania. Stemple połączyć u góry ryglami z desek lub krawędziaków. Rygle przybić do głowic stempli. Powstałe w ten sposób ramki ściężyć krzyżulcami z desek. Na ryglach układa się deskowanie. |
A. schodów.
B. słupa.
C. płyty.
D. belki.
Wykonywanie robót ciesielskich
Do ręcznego przycięcia desek na określoną długość, potrzebnych do wykonania odeskowania słupa, należy użyć piły
A. grzbietnicy.
B. poprzecznej.
C. ramowej.
D. otwornicy.
Wykonywanie robót ciesielskich
Do wykonania przedstawionego na rysunku deskowania belki żelbetowej należy użyć:

A. pilarki łańcuchowej, pilarki poprzecznej i poziomnicy.
B. frezarki ciesielskiej, dłuta i miary składanej.
C. piły ręcznej, strugarki i poziomnicy.
D. pilarki tarczowej, miary składanej i poziomnicy.
Wykonywanie robót ciesielskich
Cieśla wykonał deskowanie o powierzchni 450 m2. Jakie wynagrodzenie otrzyma za wykonanie tej pracy, jeżeli średnia wydajność pracy wynosi 15 m2/godzinę, a stawka 10 zł/godzinę?
A. 150 zł
B. 600 zł
C. 300 zł
D. 450 zł
BUD.02 Pytanie 119
Wykonywanie robót ciesielskich
Do deskowania ławy fundamentowej żelbetowej o wysokości 40 cm zastosowano gotowe tarcze z desek. Dla zapewnienia niezmienności kształtu i położenia tarcz podczas betonowania należy je wzmocnić
A. rozpormi i zastrzałami.
B. zastrzałami i drutem.
C. drutem i klinami.
D. klinamii rozpormi.
Wykonywanie robót ciesielskich
Który element stemplowania stropu zaznaczono na rysunku strzałką?

A. Poprzecznicę.
B. Nadbitkę.
C. Stojak.
D. Teżnik.