Pytanie 1
Do metod mechanicznych rozdrabniania żywności płynnej nie należy
Wynik: 39/40 punktów (97,5%)
Wymagane minimum: 20 punktów (50%)
Do metod mechanicznych rozdrabniania żywności płynnej nie należy
Który typ przenośnika pozwala na transport wafelków zarówno w opakowaniach, jak i luzem?
Które urządzenie należy wykorzystać do oznaczania współczynnika załamania światła?




Na ilustracji przedstawiono urządzenie, w którym mięso przeznaczone na wędzonki po peklowaniu metodą nastrzykową poddawane jest procesowi

Jakie urządzenie stosuje się do podgrzewania próbek żywności przeznaczonych do analizy?
To pytanie jest dostępne tylko dla uczniów i nauczycieli. Zaloguj się lub utwórz konto aby zobaczyć pełną treść pytania.
Odpowiedzi dostępne po zalogowaniu.
Wyjaśnienie dostępne po zalogowaniu.
To pytanie jest dostępne tylko dla uczniów i nauczycieli. Zaloguj się lub utwórz konto aby zobaczyć pełną treść pytania.
Odpowiedzi dostępne po zalogowaniu.
Wyjaśnienie dostępne po zalogowaniu.
Tryjer to urządzenie wykorzystywane w przemyśle
Wskaż, które z przedstawionych urządzeń, jest stosowane do oznaczania kwasowości aktywnej roztworu.




Schemat przedstawia wyparkę próżniową, w skład której w kolejności wchodzą:

Które urządzenia powinny być zastosowane do obróbki wstępnej wiśni przeznaczonych do produkcji konfitur?
W celu oddzielenia powietrza od mąki, podczas transportu pneumatycznego mąki luzem, należy zastosować
Który parametr można określić za pomocą przyrządu pomiarowego przedstawionego na rysunku?
1 – napięte włosy, 2 – układ dźwigniowy, 3 – wskazówka, 4 – skala

Do oddzielenia śmietanki od mleka przeznaczona jest wirówka
Konsza i temperówka to urządzenia wchodzące w skład linii do produkcji
Do rozdzielania surowców na frakcje wielkościowe stosuje się
Do mineralizacji próbek żywności, przeznaczonych do oznaczania w nich zawartości makroelementów i mikroelementów, służy
Tankosilosy służą do przechowywania
Na rysunku przedstawiono sprzęt, który służy do pomiaru gęstości metodą

Cyklon jest urządzeniem stanowiącym wyposażenie linii technologicznej do produkcji
Przenośnik pneumatyczny stosowany jest do transportu
Do transportu wewnętrznego materiałów sypkich luzem stosuje się
Na rysunku przedstawiono schemat budowy

Piknometr to urządzenie laboratoryjne służące do pomiaru
Do zamrażania groszku należy zastosować metodę
Którego z przedstawionych urządzeń należy użyć do prażenia ziarna kawy naturalnej?




To pytanie jest dostępne tylko dla uczniów i nauczycieli. Zaloguj się lub utwórz konto aby zobaczyć pełną treść pytania.
Odpowiedzi dostępne po zalogowaniu.
Wyjaśnienie dostępne po zalogowaniu.
To pytanie jest dostępne tylko dla uczniów i nauczycieli. Zaloguj się lub utwórz konto aby zobaczyć pełną treść pytania.
Odpowiedzi dostępne po zalogowaniu.
Wyjaśnienie dostępne po zalogowaniu.
Wybierz obowiązującą kolejność urządzeń stosowanych do produkcji cukru z buraków cukrowych.
W jakiej metodzie separacji składników żywności wykorzystuje się siłę odśrodkową?
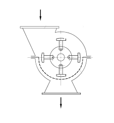
Na zamieszczonym rysunku przedstawiono schemat budowy

Która metoda rozdzielania wykorzystuje różnice gęstości?
W którym zestawie prawidłowo dobrano nazwę urządzenia i jego zastosowanie?
Jakie urządzenia są niezbędne do uzyskania mączki ziemniaczanej (krochmalu)?
Sprzęt laboratoryjny przedstawiony na ilustracji służy do

To pytanie jest dostępne tylko dla uczniów i nauczycieli. Zaloguj się lub utwórz konto aby zobaczyć pełną treść pytania.
Odpowiedzi dostępne po zalogowaniu.
Wyjaśnienie dostępne po zalogowaniu.
Do przeprowadzenia której operacji technologicznej stosowanej w produkcji soków warzywnych przeznaczone jest urządzenie przedstawione schematycznie na ilustracji?

Do wymycia sacharozy z krajanki buraczanej podczas produkcji cukru należy zastosować
Przedstawiony na rysunku sprzęt laboratoryjny przeznaczony do oznaczania zawartości alkoholu to

Proces pozyskiwania oleju z wytłoków rzepaku przy użyciu rozpuszczalnika organicznego to