Pytanie 1
Substancje chemiczne wykorzystane podczas badań laboratoryjnych powinny być
Wynik: 26/40 punktów (65,0%)
Wymagane minimum: 20 punktów (50%)
Substancje chemiczne wykorzystane podczas badań laboratoryjnych powinny być
Zdolność pochłaniania pary wodnej przez ziarno określa się terminem
Produktem ubocznym powstającym w procesie produkcji oleju jest
Smażenia nie stosuje się w produkcji
Jaką masę substancji zawiera 440 g roztworu o stężeniu 20%?
Czy w magazynie, przy podwyższeniu temperatury, wilgotność względna powietrza?
Do metod fizycznych utrwalania żywności zalicza się
Do odczytu wartości ciśnienia pary wodnej w autoklawie stosowany jest
Który wynik analizy kwasowości kiszonej kapusty jest błędny, jeśli pH gotowego produktu powinno wynosić 3,5-4,5?
Na rysunku przedstawiono fragment biurety obrazujący poziom roztworu titranta po miareczkowaniu. Jaką ilość titranta zużyto w czasie miareczkowania?

Ile zmian 8-godzinnych powinna zrealizować linia produkcyjna makaronu o wydajności 50 kg/h, jeśli złożono zamówienie na 1,6 tony makaronu?
Najczęściej do wytwarzania spirytusu w Polsce używa się
Do zagrożeń chemicznych występujących w przetworach spożywczych zalicza się
Jaki proces technologiczny powinien być zastosowany do produkcji chrupek kukurydzianych?
W procesie mielenia zbóż składnikiem pasażu przemiałowego są urządzenia:
Naczynia przedstawione na rysunkach stosuje się do oznaczania

Użycie dygestorium jest wymagane w trakcie przeprowadzania oznaczeń metodą Kjeldahla?
Temperatura, w jakiej należy przechowywać ryby mrożone, to około
Aby utwardzić oleje roślinne stosowane w produkcji margaryny, należy zrealizować proces
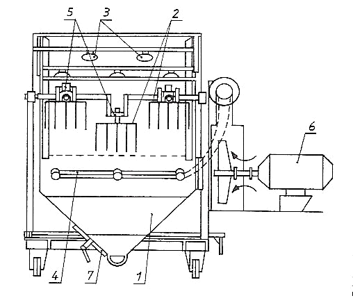
Urządzenie przedstawione na rysunku jest stosowane do
1 –wanna, 2 – grabki, 3 – natryski, 4 – doprowadzenie powietrza, 5 – wał korbowy, 6 – silnik, 7 – spust zanieczyszczeń

Lecytyna i śruta poekstrakcyjna są produktami ubocznymi powstającymi w przetwórstwie
Wskaż obowiązującą kolejność operacji w procesie otrzymywania olejów metodą ekstrakcji.
Przedstawione na schemacie urządzenie stosuje się do
1 - powierzchnia nieruchoma
2 - materiał formowany
3 - taśma ruchoma

Korzystając z informacji zamieszczonych w tabeli oblicz, ile wynosi wartość kaloryczna 100 g szynki wiejskiej zawierającej 17 g białka, 20 g tłuszczu i 1 g węglowodanów.
| Składnik odżywczy | Kaloryczność |
|---|---|
| 1g białka | 4 kcal |
| 1g cukru | 4 kcal |
| 1g tłuszczu | 9 kcal |
Jaką metodą należy zabezpieczyć przetwory z warzyw w zalewie octowej?
Stosunek mąki, tłuszczu i cukru w cieście kruchym wynosi
Na trudne warunki pracy w fermentowni oddziałuje
Sprzęt laboratoryjny przedstawiony na ilustracji służy do

Korzystając z informacji zamieszczonych w tabeli, określ w której partii kiszonej kapusty najintensywniej zachodziła niepożądana fermentacja octowa?
| Wyniki badań partii kiszonej kapusty | ||||
|---|---|---|---|---|
| Rodzaj badania | Wyniki badań dla partii | |||
| 1 | 2 | 3 | 4 | |
| Kwasowość pH | 3,5 | 4,6 | 4,0 | 2,3 |
| Kwasowość miareczkowa w przeliczeniu na kwas mlekowy, % | 1,1 | 0,2 | 0,7 | 1,8 |
| Kwasowość lotna w przeliczeniu na kwas octowy, % | 0,10 | 0,35 | 0,40 | 0,25 |
W jakiej temperaturze najlepiej przechowywać nabiał?
Który proces produkcji zupy typu instant umożliwia konsumentowi szybkie jej przygotowanie?
Warunki konserwacji wilka wykorzystywanego w produkcji kiełbasy, są zawarte
Przedstawiony fragment metodyki nazywanej metodą Kjeldahla dotyczy oznaczania
| Metoda polega na mineralizacji próbki, destylacji amoniaku (uwolniony amoniak wiąże się w odbieralniku z kwasem borowym w obecności wskaźnika Tashiro) i miareczkowaniu uwolnionego amoniaku mianowanym roztworem HCl do zmiany barwy przy pH=4,3. Oznaczoną w ten sposób ilość azotu przelicza się za pomocą odpowiedniego mnożnika na zawartość substancji. |
Ile kilogramów oleju można uzyskać w drodze ekstrakcji 2 ton rozdrobnionych nasion rzepaku, jeżeli wydajność procesu wynosi 85%?
Jaką masę buraków cukrowych trzeba zastosować do wytworzenia 100 kg cukru, jeśli zawartość sacharozy w buraku cukrowym wynosi 16%?
Przeprowadzenie analizy zagrożeń w ramach wdrażania systemu HACCP polega na
Rolę wskaźnika podczas oznaczania zawartości soli kuchennej w pieczywie pełni
Jaką tematykę obejmuje dokumentacja zakładowa oznaczona skrótem DTR?
Piktogram przedstawiony na ilustracji należy umieścić na opakowaniu zawierającym

W tabeli przedstawiono dopuszczalne okresy przechowywania mrożonego mięsa drobiowego w miesiącach.
| Produkt | Zakres temperatur komory (°C) | ||
|---|---|---|---|
| od -14 do -18 | od -18,1 do -22 | od -22,1 do -30 | |
| Tuszki drobiu i elementy w osłonkach termokurczliwych. | 5 | 12 | 12 |
| Tuszki drobiu w zamkniętych woreczkach z PE. | 3 | 6 | 8 |
| Elementy drobiowe w zamkniętych woreczkach z PE. | 2 | 4 | 7 |
| Tuszki drobiu bez osłonek. | 2 | 3 | 5 |