Pytanie 1
Sposób realizacji procesów obróbczych do wykonania gwintu wewnętrznego na tokarce uniwersalnej powinien obejmować następujące etapy:
Wynik: 16/40 punktów (40,0%)
Wymagane minimum: 20 punktów (50%)
Sposób realizacji procesów obróbczych do wykonania gwintu wewnętrznego na tokarce uniwersalnej powinien obejmować następujące etapy:
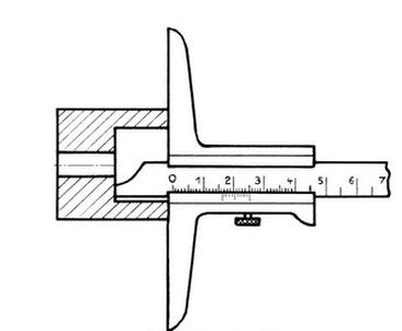
Którym przyrządem pomiarowym należy zmierzyć długość wałka pokazanego na rysunku?

Do pomiaru przedstawionego na rysunku użyto

W warunkach obróbczych najlepiej chropowatość frezowanej powierzchni ocenić przy użyciu
Czym jest funkcja M04 w systemie sterującym?
W produkcji jednostkowej, do nacinania uzębień kół zębatych, najbardziej opłacalnym rozwiązaniem jest zakup i wykorzystanie
Średnica wałka przed procesem toczenia wynosi 78 mm. Jaką głębokość skrawania powinno się ustawić, aby po wykonaniu dwóch przejść noża tokarskiego uzyskać średnicę wynoszącą 74 mm?
Przedstawiona na rysunku oprawka narzędziowa używana jest do

Której z wymienionych operacji nie można wykonać z wykorzystaniem podzielnicy uniwersalnej przedstawionej na zdjęciu?

Zabieg powiercania przedstawiono na rysunku oznaczonym literą

Przedstawione na rysunku pokrętło na pulpicie sterowniczym tokarki CNC służy do zmiany

Jakie są korzyści płynące z szlifowania wałków bezkłowego w porównaniu do szlifowania kłowego?
Ile wynosi długość czynnej krawędzi skrawającej dla kąta przystawienia Kr = 60° i głębokości skrawania ap= 5 mm? Skorzystaj z danych w tabeli.
| Kr | 95° | 95° | 93° | 90° | 75° | 72,5° | 63° | 60° | 45° |
| sin Kr | 0,996 | 0,996 | 0,999 | 1 | 0,966 | 0,954 | 0,891 | 0,866 | 0,707 |

Wskazanie mikrometru wynosi

Przyrząd kontrolny przedstawiony na rysunku służy do sprawdzania

Zgodnie z rysunkiem wartość parametru I interpolacji kołowej G02 wynosi

Podczas obróbki zewnętrznej powierzchni wałka, jednym z symptomów zużycia ostrza narzędzia jest wzrost
Dla płytki R390-11 T3 04M-PM szybkość skrawania podczas obróbki staliwa wynosi

Na rysunku przedstawiono pomiar

Który zabieg obróbki skrawaniem należy wykonać na powierzchni oznaczonej na rysunku Tr24x5?

Położenie punktu "S" (wierzchołek ostrza noża) podaje się względem punktu

Oblicz posuw w milimetrach na minutę, wiedząc, że prędkość obrotowa wrzeciona tokarki wynosi 600 obr/min, a posuw wynosi 0,1 mm/obr. Wykorzystaj zależność: ft=f0·n [mm/min]?
Jakie urządzenie wykorzystuje się do pomiaru średnicy wałka ø20+0,03?
Punkt zerowy frezarki CNC oznaczony jest na rysunku literą

Do metod bezpośrednich, służących do oceny zużycia ostrza noża tokarskiego, zalicza się dokonanie pomiaru
Jakie maszyny wykorzystuje się w obróbce seryjnej do przetwarzania otworów o kształcie np.: wielowypustowym?
Korzystając z zależności ft = p · n (gdzie p oznacza skok gwintu), oblicz posuw minutowy ft przy toczeniu gwintu, którego parametry przedstawione są na wyświetlaczu układu pomiarowego tokarki. Obroty wrzeciona tokarki wynoszą n = 300 obr/min.

Przejściową powierzchnię przyłożenia ostrza noża tokarskiego, na przedstawionym rysunku, oznaczono literą

Aby zrealizować gwint wewnętrzny M10 przy użyciu zestawu gwintowników na tokarkach konwencjonalnych, obrabiarka powinna być wyposażona w
Przyrząd pomiarowy przedstawiony na zdjęciu to

Jakie są właściwe etapy obróbcze do wykonania otworu gwintowanego na tokarce uniwersalnej?
Do działań związanych z obsługą oraz konserwacją systemu hydraulicznego obrabiarki CNC nie zalicza się
Widoczne na rysunku oznaczenie informuje, że na powierzchni czołowej wałka należy wykonać zabieg

Jaką prędkość obrotową powinna mieć głowica frezowa o średnicy d = 100 mm, jeżeli zalecana prędkość skrawania wynosi vc=80 m/min? Skorzystaj z zależności:
| Skorzystaj z zależności: n = 1000 · vc π · d [obr/min] |
Przedstawiony w tabelce symbol graficzny jest oznaczeniem tolerancji
| // | 0.030 | A |
Dokumentacja techniczna maszyny nie zawiera
Na którym rysunku przedstawiono symbol graficzny zamocowania z zastosowaniem zabieraka stałego?

Który element programu ISO zawiera dane dotyczące aktywacji funkcji kompensacji w prawo dla narzędzia?
W przypadku obróbki skrawaniem, w której przedmiot obrabiany porusza się obrotowo, a narzędzie wykonuje ruch posuwowy, mamy do czynienia z
Jakiej maszyny skrawającej dotyczy opis?
"To maszyna przeznaczona do obróbki otworów o różnych kształtach, rowków oraz bardziej skomplikowanych powierzchni zewnętrznych, w której narzędzie usuwa cały nadmiar materiału w trakcie jednego cyklu roboczego".