Pytanie 1
Którego z mierników pokazanych na rysunku należy użyć do pomiaru impedancji pętli zwarcia obwodu elektrycznego?

Wynik: 3/40 punktów (7,5%)
Wymagane minimum: 20 punktów (50%)
Którego z mierników pokazanych na rysunku należy użyć do pomiaru impedancji pętli zwarcia obwodu elektrycznego?

Jakie narzędzia trzeba przygotować do wyznaczenia miejsca na zainstalowanie rozdzielnicy podtynkowej w ścianie murowanej?
Przy jakiej wartości prądu różnicowego zmiennego sinusoidalnie nie powinien zadziałać sprawny wyłącznik różnicowoprądowy typu AC o prądzie IΔN = 30 mA?
Jaka jest wartość bezwzględna błędu pomiaru natężenia prądu, jeśli multimetr pokazał wynik 35,00 mA, a producent określił dokładność urządzenia dla danego zakresu pomiarowego na
±(1 % +2 cyfry)?
Jakie napięcie należy stosować podczas określania rezystancji izolacji w obwodach SELV lub PELV?
Który schemat montażowy łącznika odpowiada symbolowi graficznemu przedstawionemu na rysunku?

W lokalu, który jest zasilany napięciem 400 V (3/N/PE 50Hz), zainstalowano następujące urządzenia:
1. przepływowy podgrzewacz wody (12 kW) - obwód trójfazowy
2. zmywarka do naczyń (3,5 kW) - obwód jednofazowy
3. kuchenka elektryczna (9,5 kW) - obwód trójfazowy
4. pralka automatyczna (4,5 kW) - obwód jednofazowy
Odbiorniki jednofazowe i trójfazowe są zasilane z dwóch różnych obwodów. W celu zabezpieczenia wykorzystano wyłączniki instalacyjne. Jakie wartości prądu znamionowego powinny być zastosowane dla zabezpieczeń obwodu jedno- i trójfazowego?
Na której ilustracji przedstawiono symbol graficzny przewodu ochronnego?

Prace przeprowadzane pod napięciem w instalacji domowej wymagają użycia narzędzi izolowanych o minimalnym poziomie napięcia izolacji
Jakie napięcie powinno być zastosowane w mierniku podczas pomiaru rezystancji izolacyjnej urządzenia elektrycznego o nominalnym napięciu 230/400 V?
Wskaż prawidłowy schemat sterowania oświetleniem z dwóch niezależnych miejsc.

Brak odpowiedzi na to pytanie.
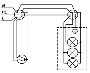
Rysunek przedstawia oprawę oświetlenia

Brak odpowiedzi na to pytanie.
W oprawie oświetleniowej należy wymienić uszkodzony kondensator o danych 9 µF/230 VAC/50 Hz. Dobierz dwa kondensatory spośród dostępnych i określ sposób ich połączenia w celu wymiany uszkodzonego.
| Dostępne kondensatory: 10 μF/100 VAC/50 Hz 18 μF/100 VAC/50 Hz 2,0 μF/230 VAC/50 Hz 4,0 μF/230 VAC/50 Hz 4,5 μF/230 VAC/50 Hz |
Brak odpowiedzi na to pytanie.
Na rysunku przedstawiono schemat łącznika

Brak odpowiedzi na to pytanie.
W celu sprawdzenia poprawności działania dwóch wyłączników różnicowoprądowych EFI-2-25/003 pracujących w instalacji elektrycznej zmierzono ich różnicowe prądy zadziałania. Na podstawie wyników pomiarów zamieszczonych w tabeli, określ poprawność działania tych wyłączników przy założeniu, że zmierzony różnicowy prąd zadziałania powinien wynosić (0,5 ÷ 1) IΔN.
| Wyłącznik różnicowoprądowy | Zmierzony prąd różnicowoprądowy IΔ w mA |
|---|---|
| 1 | 15 |
| 2 | 25 |
Brak odpowiedzi na to pytanie.
Jakie oznaczenia oraz jaka wartość minimalnego prądu znamionowego powinna mieć wkładka topikowa, służąca do ochrony przewodów przed skutkami zwarć i przeciążeń w obwodzie jednofazowego elektrycznego bojlera o danych znamionowych: PN = 3 kW, UN = 230 V?
Brak odpowiedzi na to pytanie.
Zdjęcie przedstawia

Brak odpowiedzi na to pytanie.
Zdjęcie przedstawia

Brak odpowiedzi na to pytanie.
Jaką wielkość przekroju powinien mieć przewód ochronny PE, który stanowi żyłę w wielożyłowym przewodzie, jeżeli przewody fazowe mają przekrój 16 mm2?
Brak odpowiedzi na to pytanie.
Który z przedstawionych wyłączników należy zastosować do wykrywania prądów różnicowych przemiennych o zwiększonej częstotliwości, zawierających wyższe harmoniczne w układach energoelektronicznych?

Brak odpowiedzi na to pytanie.
Jakie z wymienionych usterek w obwodzie odbiorczym instalacji elektrycznej powinno spowodować automatyczne odcięcie napięcia przez wyłącznik różnicowoprądowy?
Brak odpowiedzi na to pytanie.
Na której ilustracji przedstawiono przewód przeznaczony do wykonania trójfazowego przyłącza ziemnego do budynku jednorodzinnego w sieci TN-S?

Brak odpowiedzi na to pytanie.
Która z wymienionych list czynności opisuje w jakiej kolejności demontuje się elementy stojana silnika indukcyjnego z uzwojeniem wsypywanym w celu jego przezwojenia?
| 1 | odcięcie połączeń czołowych | odcięcie połączeń czołowych | usunięcie izolacji żłobkowej | usunięcie uzwojenia |
| 2 | usunięcie izolacji żłobkowej | usunięcie uzwojenia | odcięcie połączeń czołowych | odcięcie połączeń czołowych |
| 3 | usunięcie uzwojenia | usunięcie izolacji żłobkowej | usunięcie uzwojenia | usunięcie izolacji żłobkowej |
| A | B | C | D | |
Brak odpowiedzi na to pytanie.
Jakiej kategorii urządzeń elektrycznych dotyczą przekładniki pomiarowe?
Brak odpowiedzi na to pytanie.
W instalacji elektrycznej, której schemat przedstawiono na rysunku błędnie podłączono

Brak odpowiedzi na to pytanie.
Którego z przedstawionych narzędzi należy użyć do zamontowania zworek w tabliczce silnikowej?

Brak odpowiedzi na to pytanie.
Na rysunku przedstawiono sposób podłączenia miernika MZC-201 do pomiaru

Brak odpowiedzi na to pytanie.
Jakie działania należy podjąć po odłączeniu zasilania, aby zgodnie z PN-HD 60364-6:2008 Instalacje elektryczne niskiego napięcia, przeprowadzić pomiar rezystancji izolacji kabli?
Brak odpowiedzi na to pytanie.
Który z podanych symboli oznacza urządzenie, którym należy zastąpić element instalacji elektrycznej przedstawiony na rysunku?

Brak odpowiedzi na to pytanie.
Aby zmierzyć częstotliwość, należy użyć
Brak odpowiedzi na to pytanie.
Przedstawiony na rysunku przyrząd służy do

Brak odpowiedzi na to pytanie.
Który układ sieciowy przedstawiono na schemacie?

Brak odpowiedzi na to pytanie.
Jak powinno się przeprowadzać zalecane przez producenta okresowe testy działania wyłącznika różnicowoprądowego?
Brak odpowiedzi na to pytanie.
W jaki sposób powinna odbywać się wymiana nożowych wkładek topikowych w bezpiecznikach przemysłowych?
Brak odpowiedzi na to pytanie.
Jaki jest najmniejszy błąd pomiaru natężenia prądu wynoszącego 30 mA, gdy używamy cyfrowego miliamperomierza z wyświetlaczem do 2 miejsc po przecinku oraz miernika o określonej dokładności?
Brak odpowiedzi na to pytanie.
Rysunek przedstawia sposób zainstalowania urządzenia ochronnego różnicowoprądowego w sieci typu

Brak odpowiedzi na to pytanie.
Na którym rysunku przedstawiono schemat montażowy?

Brak odpowiedzi na to pytanie.
Który z wymienionych czynników wpływa na częstotliwość, z jaką powinno się przeprowadzać okresowe kontrole instalacji elektrycznej?
Brak odpowiedzi na to pytanie.
Który z przedstawionych wyłączników różnicowoprądowych umożliwia monitorowanie prądu upływu w instalacji elektrycznej?

Brak odpowiedzi na to pytanie.
Wskaż symbol graficzny przycisku zwiernego.

Brak odpowiedzi na to pytanie.