Pytanie 1
Jak wysoka jest dopuszczalna temperatura prasowania bluzki uszytej z elanobawełny?
Wynik: 27/40 punktów (67,5%)
Wymagane minimum: 20 punktów (50%)
Jak wysoka jest dopuszczalna temperatura prasowania bluzki uszytej z elanobawełny?
Co może być przyczyną zerwania dolnej nici podczas szycia na maszynie stębnowej?
Rękawówka – specjalna podszewka używana do wykańczania rękawów, np. w męskich marynarkach, to materiał
Jaką igłę wykorzystuje się w maszynach do szycia materiałów?
W bluzce, która ma być poprawiona, zaszewki piersiowe są zszyte zbyt nisko. Który wymiar powinno się zmierzyć na sylwetce klientki, aby naprawić ten błąd?
Jak należy ocenić jakość wykonania usługi skrócenia spódnicy z koła?
Śpioszki dla niemowląt powinny być wykonane z rozciągliwej dzianiny
W celu poprawy przedstawionego na rysunku błędu występującego w bluzce damskiej należy wypruć kołnierz i

Linia boku na ukazanej siatce konstrukcyjnej spódnicy podstawowej powstaje w wyniku poprowadzenia linii

Przyrząd pomocniczy przedstawiony na rysunku należy zastosować do

Spódnica prosta zapinana z tyłu na zamek błyskawiczny, która jest wykończona paskiem, ma nadmiar materiału w pasie o 3 cm oraz w biodrach o 4 cm. Jakie kroki należy podjąć, aby dostosować spódnicę do sylwetki klientki?
Zbyt krótkie rękawy sukienki damskiej zostały wydłużone, zgodnie z przedstawionym rysunkiem węzła technologicznego, poprzez doszycie

Który rodzaj kołnierzy modeluje się na podstawie wykreślonego kąta prostego?

Jakiego przyrządu pomocniczego należy użyć do obszycia krawędzi żakietu damskiego Chanel taśmą ozdobną?
Który z symboli używanych w pomiarach krawieckich został opisany błędnie?
Symbol pomiaru krawieckiego "łuk długości pleców" to
Jakie ozdoby powinny być użyte do sukni wieczorowej?
Aby wzmocnić wloty kieszeni, można użyć maszyny do szycia z zastosowaniem ściegu
Które maszyny, należy zastosować do wykończenia dołu w spódnicy zgodnie z węzłem przedstawionym na rysunku?

Na jakim materiale tekstylnym można umieszczać szablony odzieży w dwóch płaszczyznach?
Jaką tkaninę należy wybrać na letnią męską koszulę?
Do łączenia boków elementów odzieży uszytych z dzianiny można wykorzystać maszynę szwalniczą, która szyje ściegiem
Jakie jest zużycie materiału o szerokości 140 cm, które ma być użyte na krótkie spodnie damskie o długości 50 cm przy obwodzie bioder wynoszącym 100 cm?
Która z poniższych przyczyn nie przyczynia się do łamania igły podczas szycia?
Jaki symbol reprezentuje wymiar ciała mierzony w pionie od punktu karku do punktu tylnej części talii?
Którą technikę wykończenia dołu zastosowano do wykonania usługi skrócenia spódnicy z żorżety jedwabnej, zgodnie z zamieszczonym rysunkiem węzła technologicznego?

Które oprzyrządowanie można zastosować do wykończenia elementu odzieży przedstawionego na rysunku?

Aby połączyć boki spódnicy uszytej z szyfonu, należy użyć szwu
Wykonując kalkulację kosztów materiałów i dodatków krawieckich na bluzkę damską przedstawioną na rysunku, należy uwzględnić koszt tkaniny zasadniczej oraz koszty

Do uszycia żakietu z wełny powinno się użyć nici
W przypadku jednej pary spodni wykonanych ze sztruksu wykorzystuje się zestaw szablonów
Jaką tkaninę powinno się wykorzystać do zaparzaczki?
Użycie oprzyrządowania w maszynach do szycia ma m.in. na celu
Jaką tkaninę poddaje się folowaniu?
Na rysunku przedstawiona jest konstrukcja połowy spódnicy

Aby zrealizować marszczenie dekoltu w damskiej bluzce, trzeba przenieść zaszewkę piersiową na linię
Jaką tkaninę powinno się wykorzystać do uszycia sukni kobiecej, której dekolt jest stworzony w formie delikatnie opadającej draperii tzw. "wody"?
Jakie tkaniny odzieżowe oraz akcesoria krawieckie powinny być zakupione do uszycia letniej kobiecej bluzki w stylu sportowym?
Jakim urządzeniem należy łączyć elementy sukienki dziewczęcej z dzianiny?
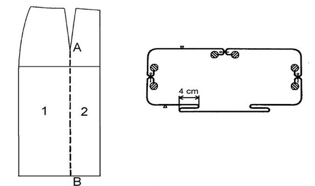
Na rysunku przedstawiono formę 1/2 przodu spódnicy damskiej z dwiema fałdami w przodzie oraz przekrój poprzeczny spódnicy. O ile należy rozsunąć części 1 i 2 formy po przecięciu jej wzdłuż linii AB, aby uzyskać fałdę o szerokości 4 cm w gotowym wyrobie?
