Filtrowanie pytań
Wykonywanie i naprawa wyrobów…
A. założone wszystkie osłony części ruchomych.
B. podłączone oprawy oświetleniowe.
C. włączone wentylatory.
D. zgromadzone wszystkie materiały.
Wykonywanie i naprawa wyrobów…
Do wykonania pierścienia o średnicy 250 mm z płaskownika, metodą kucia i zgrzewania na zakładkę, należy przygotować płaskownik o długości minimum
A. 850 mm
B. 290 mm
C. 420 mm
D. 690 mm
Wykonywanie i naprawa wyrobów…
Na podstawie danych zawartych w tabeli wskaż rodzaj stali dla której temperatura 850°C jest temperaturą hartowania zgodnie z technologią, a temperatura 450°C temperaturą odpuszczania.
| Materiał | Temperatura | Twardość HB | |
|---|---|---|---|
| hartowania | odpuszczania | ||
| 40S2 | 830÷850°C | 400÷460°C | 331 |
| 50S2 | 860÷880°C | 430÷490°C | 331 |
| 60S2 | 860÷880°C | 430÷490°C | 363 |
| 50HS | 840÷860°C | 490÷550°C | 363 |
| 50HF | 840÷900°C | 460÷520°C | 371 |
A. 50HS
B. 40S2
C. 50S2
D. 50HF
Wykonywanie i naprawa wyrobów…
Widoczne na rysunku połączenie nierozerwalne stalowych elementów wyrobu kowalskiego, jest wykonane techniką

A. zgrzewania.
B. kucia.
C. lutowania.
D. spawania.
Wykonywanie i naprawa wyrobów…
Która barwa żarzenia odpowiada stali nagrzanej do temperatury 880÷1 050°C?
A. Barwa 3

B. Barwa 2

C. Barwa 1

D. Barwa 4

Wykonywanie i naprawa wyrobów…
Zdjęcie przedstawia piec kowalski

A. węglowy.
B. elektryczny.
C. indukcyjny.
D. gazowy.
Wykonywanie i naprawa wyrobów…
Którą część kowadła wykorzystano do wykonania zabiegu wyginania przedstawionego na rysunku?

A. Trzon.
B. Krawędź.
C. Trzpień.
D. Róg.
Wykonywanie i naprawa wyrobów…
Na rysunkach przedstawiono etapy

A. dogniatania doczołowego.
B. spęczania prętów.
C. zgrzewania na klin.
D. zgrzewania doczołowego.
Wykonywanie i naprawa wyrobów…
Który półfabrykat hutniczy przedstawiono na rysunku?

A. Teownik.
B. Kątownik.
C. Dwuteownik.
D. Ceownik.
Wykonywanie i naprawa wyrobów…
Na rysunku przedstawiono wyroby wykonane za pomocą kucia

A. z wykorzystaniem nakładek.
B. swobodnego.
C. matrycowego.
D. w pryzmach.
Wykonywanie i naprawa wyrobów…
Operacją kowalską przedstawioną na rysunku, jest

A. przebijanie.
B. spęczanie.
C. przepychanie.
D. rozkuwanie.
Wykonywanie i naprawa wyrobów…
Zapis N9E wg PN (wg EN: CT90) jest symbolem stali narzędziowej
A. niestopowej głęboko się hartującej.
B. niestopowej płytko się hartującej.
C. stopowej do pracy na zimno.
D. stopowej do pracy na gorąco.
Wykonywanie i naprawa wyrobów…
Do wykonania odkuwki o objętości 0,8 dm³ należy użyć kęsa materiału o wymiarach
A. 50×200×80 mm
B. 100×10×80 mm
C. 50×50×40 mm
D. 100×20×40 mm
Wykonywanie i naprawa wyrobów…
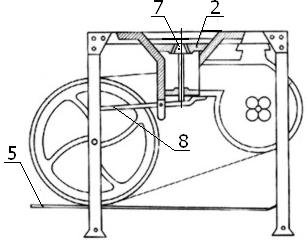
Na rysunku przedstawiono piec

A. gazowy.
B. komorowy.
C. karuzelowy.
D. przepłychowy.
Wykonywanie i naprawa wyrobów…
Co może być skutkiem kucia w zbyt niskiej temperaturze i zbyt szybkiego chłodzenia odkuwek wykonanych ze stali stopowej?
A. Niedokucia.
B. Pęknięcia.
C. Podłamy.
D. Niewypełnienia.
Wykonywanie i naprawa wyrobów…
Paliwem kowalskim, które nie zawiera siarki jest
A. koks hutniczy.
B. węgiel drzewny.
C. węgiel kamienny.
D. koks gazowy.
Wykonywanie i naprawa wyrobów…
Na rysunku przedstawiono

A. chwytaki rurowe.
B. cęgi prostokątne.
C. kleszcze precyzyjne.
D. szczypce kabłąkowe.
Wykonywanie i naprawa wyrobów…
Przymiar grzebieniowy przedstawiono na rysunku
A. Rysunek 2

B. Rysunek 1

C. Rysunek 3

D. Rysunek 4

Wykonywanie i naprawa wyrobów…
W przypadku ruchomych ciał stałych najlepiej określać ich temperaturę w oparciu o wysyłane przez nie promieniowanie cieplne. Taki sposób pomiaru jest możliwy za pomocą
A. sondy kontaktowej.
B. żarzenia.
C. pirometru.
D. tachometru.
Wykonywanie i naprawa wyrobów…
Temperatura kucia stali zawiera się w zakresie 1050÷850°C. Rozgrzany materiał ma wtedy kolor
A. żółtobiały.
B. jasnoczerwony.
C. biały.
D. żółtoczerwony.
Wykonywanie i naprawa wyrobów…
Na podstawie przedstawionego wykresu wskaż zakres temperatur podczas kucia półwyrobów grubych wykonanych ze stali o zawartości 0,6% węgla.

A. 1 300÷950°C
B. 1 050÷820°C
C. 1 150÷850°C
D. 1 290÷900°C
Wykonywanie i naprawa wyrobów…
W tabeli przedstawiono zabiegi kucia matrycowego. Wskaż prawidłową kolejność powstawania odkuwki matrycowej.

A. 2, 3, 1, 4
B. 1, 2, 3, 4
C. 2, 4, 3, 1
D. 1, 4, 2, 1
Wykonywanie i naprawa wyrobów…
Na podstawie danych zawartych w tabeli określ czas nagrzewania dla pręta kwadratowego o polu przekroju 1 600 mm², ułożonego w piecu o temperaturze 1 300°C, tak jak na przedstawionym schemacie.

A. 18,0 minut.
B. 14,5 minuty.
C. 23,0 minuty.
D. 10,5 minuty.
Wykonywanie i naprawa wyrobów…
Zakres temperatur 790÷750°C dotyczy hartowania stali o zawartości węgla
A. 0,8%
B. 0,6%
C. 0,4%
D. 0,2%
Wykonywanie i naprawa wyrobów…
Produkcję dużej liczby płaskowników, jak na przedstawionym rysunku, należy wykonać

A. za pomocą kucia ręcznego.
B. na wiertarce stołowej.
C. na prasach mimośrodowych.
D. z wykorzystaniem młota spadowego.
Wykonywanie i naprawa wyrobów…
Minimalna temperatura kucia ręcznego dla stali węglowej wynosi
A. 1000°C
B. 1200°C
C. 600°C
D. 800°C
Wykonywanie i naprawa wyrobów…
Kontrolę wymiarów odkuwek w warunkach produkcji seryjnej wykonuje się
A. suwmiarką.
B. przymiarem kreskowym.
C. sprawdzianem różnicowym.
D. mikrometrem.
Wykonywanie i naprawa wyrobów…
Z tabeli wynika, że stal, która po obróbce cieplnej pozwoli na uzyskanie twardości w granicach 365÷380 HB, to stal
| Stal | Twardość po obróbce cieplnej w HB | |
|---|---|---|
| 40S2 | 331 | |
| 50S2 | 331 | |
| 60S2 | 363 | |
| 70S2 | 464 | |
| 50HS | 363 | |
| 50HF | 371 | |
A. 50HF
B. 50HS
C. 50S2
D. 40S2
Wykonywanie i naprawa wyrobów…
Na rysunku przedstawiono matrycę

A. otwartą wielowykrojową.
B. zamkniętą jednowykrojową.
C. otwartą jednowykrojową.
D. zamkniętą wielowykrojową.
Wykonywanie i naprawa wyrobów…
Na rysunku przedstawiono

A. szkic technologiczny obróbki kucia.
B. rysunek elementu spawanego.
C. szkic odkuwki matrycowej.
D. rysunek wykonawczy tulei.
Wykonywanie i naprawa wyrobów…
Plastyczne odkształcenie materiału w celu zwiększenia przekroju poprzecznego wyrobu przez zmniejszenie długości lub wysokości to
A. przebijanie.
B. spęczanie.
C. wydłużanie.
D. wgłębianie.
Wykonywanie i naprawa wyrobów…
Na podstawie danych zawartych w tabeli wskaż wartość temperatury początku kucia stali o zawartości węgla 0,45%.
| Materiał | Temperatura | |
|---|---|---|
| stal węglowa o zawartości węgla | kucia | przepalania |
| 0,2% | 1250÷700°C | 1470°C |
| 0,3% | 1200÷730°C | 1450°C |
| 0,35% | 1200÷730°C | 1400°C |
| 0,45% | 1160÷750°C | 1320°C |
| 0,55% | 1140÷780°C | 1300°C |
| 0,65% | 1120÷780°C | 1280°C |
A. 1 160°C
B. 1 300°C
C. 1 140°C
D. 780°C
Wykonywanie i naprawa wyrobów…
Do wykonania przedstawionego elementu należy wykorzystać

A. imadło, młotek i foremniaki.
B. młotek, przyrząd do gięcia i gładzik.
C. przebijak, przyrząd do gięcia i młotek.
D. młotek, wycinak i imadło.
Wykonywanie i naprawa wyrobów…
Do wykonania bramy kutej należy zastosować stal oznaczoną symbolem
A. 40HM
B. 21HMF
C. S235JR
D. C45
Wykonywanie i naprawa wyrobów…
Rysunek przedstawia zabieg

A. przecinania.
B. wydłużania.
C. odsadzania.
D. przebijania.
Wykonywanie i naprawa wyrobów…
Jaką obróbkę cieplną należy przeprowadzić aby zmniejszyć nadmierną kruchość i usunąć naprężenia bezpośrednio po hartowaniu?
A. Ulepszanie.
B. Odpuszczanie.
C. Stabilizowanie.
D. Wyżarzanie.
Wykonywanie i naprawa wyrobów…
Stal, żarząca się kolorem żółto-czerwonym, nagrzana jest do temperatury około
A. 1100°C
B. 750°C
C. 850°C
D. 950°C
Wykonywanie i naprawa wyrobów…
Na rysunkach przedstawiono etapy wykonywania operacji

A. dziurowania odkuwki.
B. spęczania odkuwki.
C. przesadzania odkuwki.
D. rozszerzania odkuwki.
Wykonywanie i naprawa wyrobów…
Przedstawione na rysunku połączenie zostało wykonane techniką

A. nitowania.
B. spawania.
C. zgrzewania.
D. lutowania.
Wykonywanie i naprawa wyrobów…
Na rysunku przedstawiono elementy grzejne urządzenia do nagrzewania

A. indukcyjnego.
B. gazowego.
C. płomieniowego.
D. magnetycznego.