Filtrowanie pytań
MEC.06 Pytanie 1
Montaż i obsługa prostych ele…
A. gdy koszt przeprowadzenia regeneracji jest niższy od kosztu zakupu nowego elementu, a jakość po regeneracji jest na poziomie równym lub bardzo zbliżonym do nowego.
B. gdy koszt przeprowadzenia regeneracji przewyższa koszt zakupu nowego elementu.
C. zawsze, gdy elementy naprawianego urządzenia są już zużyte.
D. gdy koszt przeprowadzenia regeneracji jest mniejszy niż koszt zakupu nowego elementu, niezależnie od jakości po regeneracji,
MEC.06 Pytanie 2
Montaż i obsługa prostych ele…
Na zużycie powierzchni płytek skrawających negatywnie wpływa
A. zmniejszenie temperatury skrawania.
B. zwiększenie prędkości skrawania.
C. wzrost sztywności maszyny.
D. ulepszenie intensywności chłodzenia.
MEC.06 Pytanie 3
Montaż i obsługa prostych ele…
Które z oznaczeń wskazuje na luźne pasowanie według zasady stałej gniazda?
A. ϕ50h6
B. ϕ50H6
C. ϕ50H8/d9
D. ϕ50F9/h8
Montaż i obsługa prostych ele…
Do wykonania rowków tulei przedstawionej na rysunku stosuje się obróbkę metodą

A. toczenia.
B. frezowania.
C. wiercenia.
D. przeciągania.
Montaż i obsługa prostych ele…
Na rysunkach przedstawiono etapy procesu technologicznego

A. wyoblania.
B. przecinania.
C. dogładzania.
D. polerowania.
MEC.06 Pytanie 6
Montaż i obsługa prostych ele…
Etapy procesu klejenia obejmują: przygotowanie kleju oraz powierzchni, a także
A. wstępne podsuszenie, dodanie napełniacza, nałożenie kleju na powierzchnie, docisk i suszenie.
B. nałożenie kleju na powierzchnie, wstępne podsuszenie, docisk i suszenie.
C. nałożenie kleju na powierzchnie, wstępne podsuszenie, nałożenie wypełniacza, dalsze podsuszanie, docisk i suszenie.
D. wstępne podsuszenie, nałożenie kleju na powierzchnie, suszenie i docisk.
MEC.06 Pytanie 7
Montaż i obsługa prostych ele…
Wartość wskazania mikrometru przedstawionego na rysunku wynosi

A. 22,82 mm
B. 23,82 mm
C. 22,32 mm
D. 25,32 mm
Montaż i obsługa prostych ele…
Jakim smarem oznaczany jest smar używany do łożysk tocznych?
A. SŁ
B. ŁT
C. ŁS
D. TŁ
Montaż i obsługa prostych ele…
Zgodnie z przedstawionym rysunkiem, chropowatość oznaczonej powierzchni trzpienia, można uzyskać w operacji

A. toczenia zgrubnego.
B. frezowania.
C. szlifowania.
D. toczenia kształtującego.
Montaż i obsługa prostych ele…
Podczas pomiaru luzu przy użyciu szczelinomierza stwierdzono, że płytka o grubości 0,2 bez trudu wchodzi w szczelinę, a dodatkowo wyczuwalny jest luz, natomiast płytka o grubości 0,3 w ogóle nie wchodzi. Jaką wartość ma luz szczeliny?
A. 0,35 mm
B. 0,20 mm
C. 0,30 mm
D. 0,25 mm
MEC.06 Pytanie 11
Montaż i obsługa prostych ele…
W czterostopniowej przekładni zębatej doszło do uszkodzenia jednego łożyska tocznego. Jakie łożyska powinny zostać wymienione podczas naprawy tej przekładni?
A. Tylko uszkodzone, które znajdują się na tym samym wałku.
B. Wszystkie łożyska z tej przekładni.
C. Łożyska na wałku z uszkodzonym łożyskiem oraz łożyska na współpracujących wałkach.
D. Wyłącznie jedno uszkodzone.
Montaż i obsługa prostych ele…
Jakie narzędzie należy wykorzystać do pomiaru szerokości zębów kół zębatych?
A. kątomierz warsztatowy
B. suwmiarkę uniwersalną
C. wysokościomierz suwmiarkowy
D. suwmiarkę modułową
Montaż i obsługa prostych ele…
Aby uzyskać metalową formę odlewniczą o złożonych kształtach w warunkach produkcji jednostkowej, wykorzystuje się
A. obróbkę elektroerozyjną
B. obróbkę plastyczną
C. odlewanie precyzyjne
D. frezowanie obwiedniowe
Montaż i obsługa prostych ele…
W procesie jakim uzyskuje się metaliczne powłoki ochronne stali poprzez zanurzenie?
A. cynkowania
B. azotowania
C. cyjanowania
D. nawęglania
Montaż i obsługa prostych ele…
Gładką oraz lustrzaną powłokę metalu można uzyskać dzięki
A. skrobaniu
B. piłowaniu
C. docieraniu
D. polerowaniu
MEC.06 Pytanie 16
Montaż i obsługa prostych ele…
Zgodnie z informacją w tabeli, do wykonania otworu pod gwint M16 w żeliwie należy zastosować wiertło o średnicy
| Gwint metryczny | ||
|---|---|---|
| Symbol gwintu | Średnica wiertła w mm | |
| żeliwo i brąz | stal i mosiądz | |
| M.12 | 9,9 | 10 |
| M.14 | 11,5 | 11,75 |
| M.16 | 13,5 | 13,75 |
| M.18 | 15 | 15,25 |
| M.20 | 17 | 17,25 |
A. 13,5 mm
B. 15,25 mm
C. 11,5 mm
D. 13,75 mm
Montaż i obsługa prostych ele…
Które narzędzie zastosowano do obróbki gniazda pokazanego na rysunku?

A. Frez.
B. Narzynkę.
C. Docierak.
D. Skrobak.
MEC.06 Pytanie 18
Montaż i obsługa prostych ele…
Znak chropowatości informuje, że obrabiane powierzchnie powinny być

A. uzyskane w procesie obróbki cieplno-chemicznej.
B. uzyskane bez usunięcia zewnętrznej warstwy materiału.
C. zachowane z poprzedniego procesu technologicznego.
D. uzyskane przez usunięcie warstwy materiału przez skrawanie.
MEC.06 Pytanie 19
Montaż i obsługa prostych ele…
Ocena jakości naprawionego cięgna metodą klejenia opiera się na przeprowadzaniu badań
A. rentgenowskim
B. radiograficznym
C. wytrzymałościowym
D. wizualnym
Montaż i obsługa prostych ele…
Jak chroni się korpusy obrabiarek przed korozją?
A. oksydowanie
B. pokrycie olejem
C. szlifowanie
D. malowanie
Montaż i obsługa prostych ele…
Podtrzymka jest używana podczas obrabiania
A. tarczy
B. długich wałków
C. kół pasowych
D. stożków
Montaż i obsługa prostych ele…
Aby wytworzyć 300 sztuk półfabrykatów o długości 125 mm z pręta sześciokątnego o grubości 17 mm i długości 6 000 mm w trakcie jednej 8-godzinnej zmiany, należy użyć
A. tokarki uniwersalnej
B. piły taśmowej
C. piły ręcznej
D. nożyc dźwigniowych
Montaż i obsługa prostych ele…
Przedstawiona na rysunku płyta stosowana w obróbce ręcznej służy do

A. docierania.
B. gięcia.
C. skrobania.
D. prostowania.
Montaż i obsługa prostych ele…
Pracownik oczyścił stalową blachę za pomocą zwykłej szczotki drucianej. Jaki wynik uzyskano z tej czynności?
A. Usunięto zadziory
B. Blacha uległa odkształceniu
C. Blacha będzie podlegać korozji
D. Blacha jest trudna do spawania
Montaż i obsługa prostych ele…
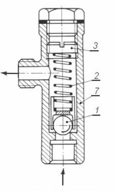
Na rysunku zaworu, numerem 2 oznaczono sprężynę

A. naciągową.
B. naciskową.
C. stożkową.
D. spiralną.
MEC.06 Pytanie 26
Montaż i obsługa prostych ele…
Na rysunku przedstawiono sposób przygotowania brzegów spawanych blach do wykonania spoiny oznaczonej symbolem

A. 1/2Y
B. V
C. 1/2U
D. ||
Montaż i obsługa prostych ele…
Jakie urządzenia wykorzystuje się do wyrównywania powierzchni spoin?
A. szlifierki kątowe
B. szlifierki do wałków
C. szczotki druciane
D. piły ramowe
Montaż i obsługa prostych ele…
Przed przechowaniem narzędzia należy
A. umyć gorącą wodą, odtłuścić i umieścić w suchym pomieszczeniu
B. przetrzeć lnianą ściereczką i odłożyć do suchego, przewiewnego miejsca
C. odtłuścić, osuszyć, a następnie pokryć cienką warstwą wazeliny
D. umyć wodą, osuszyć, a potem pokryć cienką warstwą wazeliny
Montaż i obsługa prostych ele…
W procesie obróbki powierzchni matrycy wykonuje się operację
A. rozwiercania
B. frezowania
C. skrobania
D. polerowania
Montaż i obsługa prostych ele…
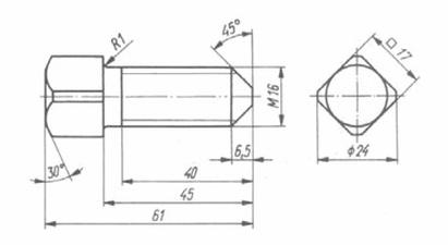
Rysunek przedstawia śrubę z łbem

A. okrągłym.
B. kwadratowym.
C. owalnym.
D. sześciokątnym.
Montaż i obsługa prostych ele…
Wybierz zestaw pilników niezbędnych do obróbki płytki przedstawionej na rysunku.

A. Płaskie, trójkątne, okrągłe.
B. Płaskie, okrągłe, kwadratowe.
C. Półokrągłe, kwadratowe, okrągłe.
D. Trójkątne, owalne, soczewkowe.
MEC.06 Pytanie 32
Montaż i obsługa prostych ele…
Który rodzaj rozwiertaka przedstawiono na rysunku?

A. Stożkowy.
B. Stały.
C. Nastawny.
D. Skrętny.
Montaż i obsługa prostych ele…
Na którym zdjęciu pokazano uchwyt spawalniczy MIG/MAG?

A. D.
B. C.
C. B.
D. A.
Montaż i obsługa prostych ele…
Z którego materiału należy wykonać przedmiot przedstawiony na rysunku?

A. Z mosiądzu MM58.
B. Ze staliwa węglowego gatunku 200-400.
C. Z żeliwa szarego EN-GJL-150.
D. Ze stali stopowej konstrukcyjnej ogólnego przeznaczenia St4S/S275.
Montaż i obsługa prostych ele…
Grubszy pomiar gorących elementów wykonywanych podczas procesu kucia ręcznego realizuje się przy użyciu
A. przymiaru kreskowego
B. macek
C. taśmy mierniczej
D. suwmiarki
MEC.06 Pytanie 36
Montaż i obsługa prostych ele…
Oblicz długość drutu o średnicy 1 mm, niezbędną do stworzenia sprężyny z 10 zwojami oraz średnią średnicą sprężyny równą 10 mm.
Do obliczeń zastosuj zależność:
n = L / (π · Do)
gdzie: L – długość drutu,
Do – średnia średnica sprężyny,
n – liczba zwojów.
A. 314 mm
B. 350 mm
C. 250 mm
D. 100 mm
Montaż i obsługa prostych ele…
Za pomocą urządzenia pomiarowego przedstawionego na zdjęciu sprawdza się

A. płaskość obrabianej powierzchni.
B. kąt prosty zewnętrzny.
C. kąt prosty wewnętrzny.
D. długość i szerokość przedmiotu.
Montaż i obsługa prostych ele…
Który z elementów tokarki uniwersalnej służy do nacinania gwintów?
A. Liniał kątowy
B. Śruba pociągowa
C. Zabierak tokarski
D. Wałek pociągowy
Montaż i obsługa prostych ele…
Obróbkę wewnętrznych otworów prostokątnych można zrealizować przy użyciu
A. piły ramowej
B. wiertarki stacjonarnej
C. pilnikarki pionowej
D. skrobaka mechanicznego
MEC.06 Pytanie 40
Montaż i obsługa prostych ele…
Do toczenia wałków służy obrabiarka przedstawiona na rysunku oznaczonym literą

A. D.
B. C.
C. A.
D. B.