Filtrowanie pytań
Projektowanie, urządzanie i p…
A. 20 albo 25 sztuk i wiązać w jednym miejscu
B. 30 albo 35 sztuk i owijać sznurkiem
C. 50 albo 55 sztuk i owijać folią
D. 5 albo 10 sztuk i wiązać w dwóch miejscach
Projektowanie, urządzanie i p…
Jaką roślinę warto zarekomendować właścicielowi gospodarstwa szkółkarskiego, które dysponuje gruntami o dominacji torfu wysokiego?
A. Wrzos zwyczajny (Calluna vulgaris)
B. Forsycję pośrednią (Forsythia intermedia)
C. Trzmielinę zwyczajną (Euonymus europaeus)
D. Bukszpan wieczniezielony (Buxus sempervirens)
OGR.03 Pytanie 163
Projektowanie, urządzanie i p…
Przedstawione na rysunku narzędzie służy do

A. przycinania trawnika na określoną wysokość.
B. szczepienia roślin drzewiastych.
C. pozyskiwania pędów krzewów na sadzonki.
D. formowania żywopłotów.
OGR.03 Pytanie 164
Projektowanie, urządzanie i p…
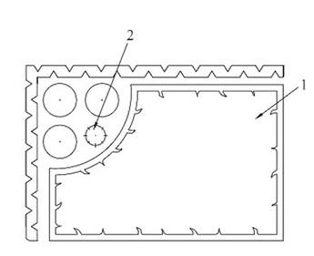
Ile sztuk roślin potrzeba do obsadzenia rabaty o wymiarach 2,0 x 2,5 m, jeżeli rośliny mają być posadzone w rozstawie 25 x 25 cm?
A. 100
B. 80
C. 60
D. 40
Organizacja prac związanych z…
Jaki instrument jest używany do pomiaru kątów zarówno poziomych, jak i pionowych w terenie?
A. Poziomica.
B. Niwelator.
C. Teodolit.
D. Kątomierz.
Projektowanie, urządzanie i p…
Jakie owady powodują intensywne deformacje wierzchołkowych liści roślin?
A. Poczwarki
B. Acarina
C. Mszyce
D. Biedronki
Organizacja prac związanych z…
Jakie metody impregnacji drewnianych komponentów wykorzystywanych w budowie ogrodów najlepiej chronią je przed biologiczną korozją?
A. Kąpieli
B. Natryskowa
C. Ciśnieniowa
D. Iniekcji
Projektowanie, urządzanie i p…
W jakiej postawie ciała wykonywanie prac związanych z pieleniem ogrodu jest najbardziej efektywne oraz najbezpieczniejsze dla zdrowia osoby pielącej?
A. W przysiadzie
B. Siedzącej niskiej
C. Klęczącej
D. Stojącej pochylonej
OGR.03 Pytanie 169
Projektowanie, urządzanie i p…
Zieleń miejska w kontekście zabudowy jednorodzinnej zaliczana jest do terenów zielonych
A. wypoczynkowo-wycieczkowe.
B. towarzyszące różnym obiektom.
C. otwarte.
D. specjalnego przeznaczenia.
Projektowanie, urządzanie i p…
Które z pnączy nadających się do obsadzenia budynku nie wymaga konstrukcji wsparcia?
A. Winorośl właściwa (Vitis vinifera)
B. Glicynia chińska (Wisteria sinensis)
C. Wiciokrzew pomorski (Lonicera periclymenum)
D. Winobluszcz trójklapowy (Parthenocissus tricuspidata)
Organizacja prac związanych z…
Na zamieszczonym rysunku spadek poprzeczny, dwustronny nawierzchni wynosi

A. 1,7%
B. 2,6%
C. 1,0%
D. 2,0%
Projektowanie, urządzanie i p…
Preparaty chemiczne stosowane w celu zwalczania chorób grzybowych na roślinach dekoracyjnych określane są jako
A. retardantami
B. bakteriocydami
C. repelentami
D. fungicydami
Projektowanie, urządzanie i p…
Na działkach z torfem charakteryzujących się odczynem pH gleby 4,5-5,5 zaleca się uprawę roślin gruntowych
A. róż
B. dalii
C. irysów
D. różaneczników
Projektowanie, urządzanie i p…
Przy projektowaniu nasadzeń drzew w alejach, kluczowe znaczenie ma
A. kontrast
B. asymetria
C. paralela
D. rytm
Projektowanie, urządzanie i p…
Jakiego herbicydu można użyć do zwalczania chwastów dwuliściennych?
A. perzu właściwego (Elymus repem)
B. gwiazdnicy pospolitej (Stellaria media)
C. chwastnicy jednostronnej (Echinochloa crus-galli)
D. kupkówki pospolitej (Dactylis glomerata)
Organizacja prac związanych z…
Do budowy zabezpieczenia przeciwerozyjnego przewidziano zastosowanie koszy gabionowych wypełnionych kruszywem. Parametry koszy zamieszczono w specyfikacji technicznej.
Które kruszywo należy wybrać do ich wypełnienia?
| Specyfikacja techniczna kosza gabionowego | |||
|---|---|---|---|
| |||
A. Korę gnejsową o frakcji 11÷32 mm
B. Tłuczeń granitowy o frakcji 31,5÷63 mm
C. Kamień polny łamany o frakcji 120÷200 mm
D. Grys szklany o frakcji 2÷16 mm
Projektowanie, urządzanie i p…
Jakich materiałów użyto do uszczelnienia betonowego koryta strumienia?

A. Żyznej ziemi i włókniny.
B. Keramzytu i piasku.
C. Piasku i maty izolacyjnej.
D. Piasku i włókniny.
Projektowanie, urządzanie i p…
Który z wymienionych elementów przestrzeni zielonej można wykorzystać na cmentarzu?
A. Staw ozdobny
B. Siedzisko huśtawkowe
C. Ławkę
D. Zegar słoneczny
Organizacja prac związanych z…
Jaką dominującą rolę odgrywa ogród etnograficzny?
A. dydaktyczna
B. użytkowa
C. badawcza
D. estetyczna
Projektowanie, urządzanie i p…
Którym symbolem graficznym, zgodnie z normą PN-B-01027 lipiec 2002, należy oznaczyć w projekcie zagospodarowania terenu istniejące drzewo do przesadzenia?

A. A.
B. D.
C. B.
D. C.
Projektowanie, urządzanie i p…
Do skrócenia żywotności dekoracji wykonanej z kwiatów ciętych może prowadzić
A. przycinanie końcówek łodyg przed każdą wymianą wody
B. umiejscowienie dekoracji w sąsiedztwie dojrzałych owoców
C. codzienna wymiana wody
D. delikatne zakwaszenie wody
Projektowanie, urządzanie i p…
Jakiego typu nawozów nie powinno się używać w okresie jesieni przy uprawie drzew i krzewów ozdobnych?
A. Azotowych
B. Wapniowych
C. Magnezowych
D. Potasowych
Organizacja prac związanych z…
Na jakim dokumencie kartograficznym można znaleźć położenie systemu wodociągowego?
A. Mapie topograficznej
B. Mapie zasadniczej
C. Ortofotomapie
D. Zdjęciu lotniczym
Projektowanie, urządzanie i p…
W projekcie kolistego kwietnika promień o długości 2,0 m należy zaznaczyć zgodnie z oznaczeniem zamieszczonym na rysunku

A. C.
B. A.
C. D.
D. B.
Projektowanie, urządzanie i p…
Kiedy powinno się sadzić bulwy zimowita jesiennego (Colchicum autumnale) w rabatach?
A. od lipca do sierpnia
B. od marca do kwietnia
C. od września do października
D. od maja do czerwca
Organizacja prac związanych z…
Jakie wyposażenie powinno być priorytetowo uwzględnione w ogrodzie botanicznym?
A. Płotki ograniczające
B. Stojaki na rowery
C. Kosze na śmieci
D. Tabliczki informacyjne
Projektowanie, urządzanie i p…
Cięcie pędu o szerokości 1 cm powinno być przeprowadzone
A. nożem ogrodniczym
B. piłą spalinową
C. nożycami elektrycznymi
D. sekatorem ręcznym
Projektowanie, urządzanie i p…
Jakie narzędzia powinny być wykorzystane do ustalenia kąta prostego przy zakładaniu nowego ogrodu?
A. Niwelator i poziomnica
B. Tyczki oraz poziomnica
C. Węgielnica oraz tyczki
D. Łata i niwelator
Organizacja prac związanych z…
Na przekroju przez oczko wodne znakiem zapytania oznaczono warstwę kruszywa, która ma zabezpieczać układaną na niej folię PVC przed uszkodzeniami mechanicznymi. Które kruszywo należy wybrać do wykonania tej warstwy?

A. Tłuczeń.
B. Kliniec.
C. Grys.
D. Piasek.
Projektowanie, urządzanie i p…
Rośliny z kategorii okrywowych, wykorzystywane na terenach zielonych w miastach znajdujących się w pobliżu skrzyżowań dróg, to
A. lipa
B. wierzba
C. pięciornik
D. thuja
Organizacja prac związanych z…
Jaki materiał powinien być wybrany na okładzinę ogrodowego murka, aby uzyskać powierzchnię z regularnie rozmieszczonymi punktowymi wgłębieniami i wypukłościami?
A. Cegła klinkierowa
B. Kamień o fakturze groszkowanej
C. Kamień o powierzchni ciosanej
D. Płytki ceramiczne
Projektowanie, urządzanie i p…
Aby określić wysokość skarpy, należy zastosować
A. niwelatora i łaty mierniczej
B. tyczek mierniczych i sznura z palikami
C. węgielnicy oraz tyczek mierniczych
D. poziomicy oraz taśmy mierniczej
Projektowanie, urządzanie i p…
Środki chemiczne używane do zwalczania chwastów zielonych to
A. arborocydy
B. herbicydy
C. fungicydy
D. bakteriocydy
Projektowanie, urządzanie i p…
Co to jest parter wodny?
A. część ogrodu z nieregularnym systemem zbiorników wodnych
B. poziom budynku, w którym usytuowany jest basen
C. część ogrodu z regularnie rozmieszczonymi zbiornikami wodnymi w geometrycznym układzie
D. poziom ogrodu, z którego można podziwiać widok na staw
OGR.03 Pytanie 195
Projektowanie, urządzanie i p…
Który z terenów zieleni zalicza się do terenów zieleni przeznaczonych na wypoczynek aktywny?
A. Park wielofunkcyjny
B. Ogród botaniki
C. Zielony skwer w mieście
D. Pas zieleni oddzielającej
Organizacja prac związanych z…
Przedstawiona na ilustracji piła służy do cięcia

A. pustaków.
B. styropianu.
C. drewna.
D. betonu.
Projektowanie, urządzanie i p…
Jakie zagrożenia chemiczne mogą wystąpić dla zdrowia człowieka podczas realizacji prac pielęgnacyjnych?
A. są nierówne, śliskie powierzchnie
B. są płyny pod ciśnieniem
C. stanowią ruchome elementy robocze maszyn
D. stanowi kontakt z nawozami sztucznymi
Projektowanie, urządzanie i p…
Jakiego z wymienionych pierwiastków nadmiar w ziemi powoduje zbyt intensywny rozwój roślin, redukcję ich kwitnienia oraz owocowania, a także zwiększa ich podatność na choroby?
A. Potasu
B. Fosforu
C. Żelaza
D. Azotu
Organizacja prac związanych z…
Zamieszczony rysunek przedstawia obliczanie mas ziemnych metodą

A. siatki trójkątów.
B. przekrojów podłużnych.
C. przekrojów poprzecznych.
D. siatki kwadratów.
OGR.03 Pytanie 200
Projektowanie, urządzanie i p…
Do jednoczesnego wyrównania oraz spulchnienia gleby należy zastosować
A. pług obracalny
B. glebogryzarkę ogrodową
C. bronę talerzową
D. wał ogrodowy