Filtrowanie pytań
Wykonywanie obsługi techniczn…
A. Różnicę ciśnień z wysokością
B. Zjawisko Dopplera dla fal ultradźwiękowych
C. Odbicie fal radiowych od powierzchni ziemi
D. Zmiany pola magnetycznego Ziemi
Wykonywanie obsługi techniczn…
Moment obrotowy wirnika nośnego w śmigłowcach jest kompensowany przez
A. efekt Coriolisa.
B. ciąg śmigła ogonowego.
C. autorotację.
D. cykliczne zmiany kąta natarcia łopaty natarcającej i powracającej wirnika nośnego.
TLO.01 Pytanie 243
Wykonywanie obsługi techniczn…
Co oznacza pojęcie 'odporność na EMI' w kontekście urządzeń awionicznych?
A. Zdolność urządzenia do prawidłowej pracy w środowisku zakłóceń elektromagnetycznych
B. Zdolność urządzenia do pochłaniania zakłóceń elektromagnetycznych
C. Zdolność urządzenia do filtrowania zakłóceń elektromagnetycznych
D. Zdolność urządzenia do generowania minimalnych zakłóceń elektromagnetycznych
TLO.01 Pytanie 244
Wykonywanie obsługi techniczn…
Trzy rezystory o wartościach R1=R2=5Ω oraz R3=10Ω połączono w układ przedstawiony na rysunku. Jaka jest rezystancja zastępcza układu?

A. 7,5Ω
B. 14 Ω
C. 5 Ω
D. 10 Ω
Wykonywanie obsługi techniczn…
Na ilustracji przedstawiono naciąg wiązki przewodów elektrycznych. Naciąg powinien być taki, aby ugięcie (zwisanie) wiązki między dwoma sąsiednimi punktami mocowania było nie większe niż

A. 5 – 10 mm
B. 2 – 4 mm
C. 11 – 15 mm
D. 16 – 20 mm
Wykonywanie obsługi techniczn…
Ile wynosi długość fali radiowej o okresie 1 ms?
A. 300 km
B. 30 km
C. 3 km
D. 3 000 km
Wykonywanie obsługi techniczn…
W jakim celu stosuje się ekranowanie przewodów w instalacjach elektrycznych statku powietrznego?
A. W celu zwiększenia obciążalności prądowej przewodów
B. W celu ochrony przed zakłóceniami elektromagnetycznymi
C. W celu zwiększenia odporności mechanicznej przewodów
D. W celu ułatwienia identyfikacji wiązek przewodów
Wykonywanie obsługi techniczn…
Maksymalny zakres pomiarowy przyrządu przedstawionego na rysunku jest równy

A. 2°/s
B. 4°/s
C. 3°/s
D. 6°/s
Wykonywanie obsługi techniczn…
Który z wymienionych systemów umożliwia identyfikację statku powietrznego podczas lotu przez służby ruchu lotniczego?
A. VOR
B. WRX
C. ATC
D. ADF
Wykonywanie obsługi techniczn…
Na rysunku przedstawiono symbol graficzny i tabele zależności układu logicznego typu
| X1 | 0 | 0 | 1 | 1 |
| X2 | 0 | 1 | 0 | 1 |
| X3 | 0 | 1 | 1 | 0 |

A. EXOR
B. NAND
C. AND
D. NOR
Wykonywanie obsługi techniczn…
Co oznacza skrót BITE w kontekście systemów awionicznych?
A. Binary Information Transfer Encoding
B. Basic Interface Technical Equipment
C. Built-In Test Equipment
D. Background Integrated Test Environment
Wykonywanie obsługi techniczn…
Jakim akronimem określa się dokument potwierdzający gotowość statku powietrznego do operacji lotniczych?
A. MS
B. PDT
C. ARS
D. CRS
Wykonywanie obsługi techniczn…
Który z wymienionych systemów nie należy do wyposażenia awionicznego?
A. System radiokomunikacyjny
B. System ELT
C. System TCAS
D. System hydrauliczny
Wykonywanie obsługi techniczn…
Jaka jest typowa częstotliwość pracy radarów meteorologicznych stosowanych w lotnictwie?
A. 400 MHz
B. 100 MHz
C. 1 GHz
D. 9 GHz
Wykonywanie obsługi techniczn…
Jak często należy kalibrować przyrządy pomiarowe stosowane w obsłudze technicznej statków powietrznych?
A. Tylko po naprawie przyrządu
B. Po każdym użyciu
C. Co najmniej raz w roku
D. Zgodnie z harmonogramem określonym przez producenta
Wykonywanie obsługi techniczn…
Która część samolotu jest odpowiedzialna za utrzymanie poprzecznej stateczności w locie?
A. Klapy zaskrzydłowe
B. Statecznik pionowy
C. Skrzydła
D. Statecznik poziomy
Wykonywanie obsługi techniczn…
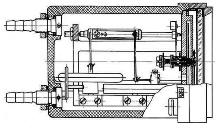
Na rysunku zamieszczono schemat konstrukcyjny

A. wariometru.
B. machometru.
C. wysokościomierza.
D. prędkościomierza IAS.
Wykonywanie obsługi techniczn…
Jaka dokumentacja jest niezbędna do wykonania obsługi technicznej wyposażenia awionicznego?
A. Formularz zgłoszenia usterki
B. Instrukcja obsługi technicznej producenta
C. Instrukcja użytkowania w locie
D. Wyłącznie ogólne procedury obsługowe
Wykonywanie obsługi techniczn…
Które z poniższych urządzeń służy do pomiaru odległości od radiolatarni naziemnej?
A. ILS
B. DME
C. VOR
D. ADF
Wykonywanie obsługi techniczn…
Jaką funkcję pełni obwód kompensacji temperaturowej w przyrządach pomiarowych?
A. Utrzymuje stałą temperaturę przyrządu
B. Wskazuje aktualną temperaturę mierzonego medium
C. Koryguje błędy wskazań wynikające ze zmian temperatury
D. Zabezpiecza przyrząd przed uszkodzeniem w wysokich temperaturach
TLO.01 Pytanie 261
Wykonywanie obsługi techniczn…
Na ilustracji przedstawiono układ zapłonowy ze świecą półprzewodnikową. Element zaznaczony strzałką i cyfrą 1 to

A. świeca półprzewodnikowa.
B. iskrownik.
C. iskiernik.
D. promiennik.
Wykonywanie obsługi techniczn…
Wskaż ustroj pomiarowy przyrządu o tarczy podziałkowej pokazanej na rysunku.

A. Elektromagnetyczny.
B. Elektrodynamiczny.
C. Ferrodynamiczny.
D. Magnetoelektryczny.
TLO.01 Pytanie 263
Wykonywanie obsługi techniczn…
Uzwojenie twornika lotniczej prądnicy prądu stałego znajduje się w obszarze oznaczonym symbolem

A. L1
B. L4
C. L3
D. L2
Wykonywanie obsługi techniczn…
Gęstość elektrolitu w całkowicie naładowanym akumulatorze kwasowo-ołowiowym ma wartość
A. 1,280 g/cm³
B. 1,220 g/cm³
C. 1,310 g/cm³
D. 1,250 g/cm³
TLO.01 Pytanie 265
Wykonywanie obsługi techniczn…
Które z poniższych narzędzi służy do kontroli ciągłości ekranów przewodów w instalacjach elektrycznych?
A. Omomierz
B. Woltomierz
C. Amperomierz
D. Megaomomierz
Wykonywanie obsługi techniczn…
Który z podanych systemów pozwala na identyfikację statku powietrznego w trakcie lotu przez służby kontrolujące ruch lotniczy?
A. VHF
B. ADF
C. WRX
D. ATC
Wykonywanie obsługi techniczn…
Co oznacza pojęcie 'pasmo przepustowe' w układach elektronicznych?
A. Zakres częstotliwości, dla których sygnał jest przetwarzany z małym tłumieniem
B. Maksymalna amplituda sygnału, która może być przetworzona bez zniekształceń
C. Częstotliwość, przy której wzmocnienie układu spada do zera
D. Stosunek sygnału użytecznego do szumu
Wykonywanie obsługi techniczn…
Ile wynosi standardowa częstotliwość prądu przemiennego w instalacjach lotniczych?
A. 50 Hz
B. 400 Hz
C. 60 Hz
D. 800 Hz
Wykonywanie obsługi techniczn…
We wskaźniku przedstawionym na rysunku oś główna giroskopu jest

A. skierowana zgodnie z osią y-y samolotu.
B. równoległa do płaszczyzny xy samolotu.
C. skierowana zgodnie z osią x-x samolotu.
D. skierowana zgodnie z osią z-z samolotu.
Wykonywanie obsługi techniczn…
Jaką podstawową funkcję pełni awaryjny system zasilania (Emergency Power System) w samolocie?
A. Zapewnienie odpowiedniego napięcia do rozruchu silników głównych
B. Dostarczanie dodatkowej mocy podczas startu i lądowania
C. Zasilanie krytycznych systemów w przypadku awarii głównego źródła zasilania
D. Zasilanie wszystkich urządzeń pokładowych w sytuacjach awaryjnych
Wykonywanie obsługi techniczn…
Przy wznoszeniu się statku powietrznego ciśnienie w obudowie wariometru
A. rośnie wolniej niż w puszce różnicowej.
B. maleje szybciej niż w puszce różnicowej.
C. maleje wolniej niż w puszce różnicowej.
D. rośnie szybciej niż w puszce różnicowej.
Wykonywanie obsługi techniczn…
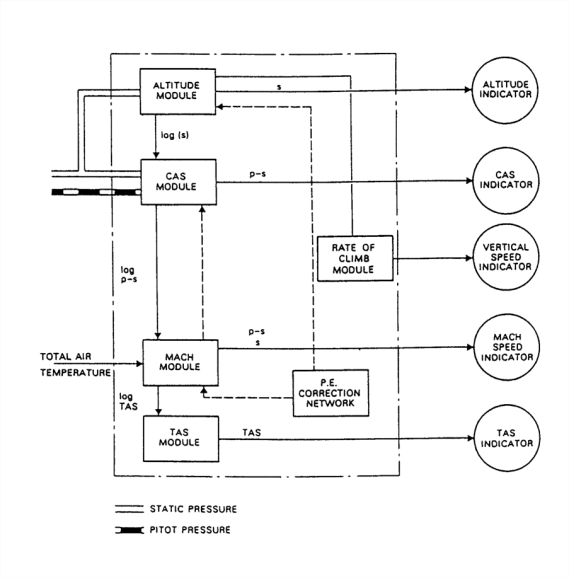
W przedstawionej na rysunku centrali aerodynamicznej /ADC/ wyliczana jest prędkość pionowa /VS/ samolotu w torze pomiaru

A. prędkości rzeczywistej VTAS.
B. prędkości przyrządowej VIAS.
C. wysokości.
D. liczby Macha.
Wykonywanie obsługi techniczn…
Jakie zjawisko fizyczne wykorzystuje radiowysokościomierz do pomiaru wysokości?
A. Odbicie fal radiowych od powierzchni ziemi
B. Różnica ciśnień statycznego i dynamicznego
C. Pomiar czasu propagacji sygnału GPS
D. Zmiana ciśnienia atmosferycznego z wysokością
Wykonywanie obsługi techniczn…
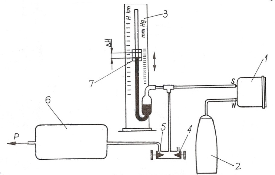
W układzie pomiarowym przedstawionym na rysunku sprawdza się błędy
1. Sprawdzany przyrząd
2. Naczynie wyrównawcze
3. Barometr
4. Zawór
5. Zawór
6. Zbiornik podciśnieniowy
7. Suwak na barometrze
P – do pompy próżniowej

A. wariometru.
B. machometru.
C. prędkościomierza.
D. wskaźnika różnicy ciśnień.
Wykonywanie obsługi techniczn…
Na rysunku przedstawiono schemat konstrukcyjny

A. wysokościomierza.
B. prędkościomierza IAS.
C. machometru.
D. prędkościomierza VSI.
Wykonywanie obsługi techniczn…
Schemat przedstawia odbiornik pokładowy, który jest elementem systemu nawigacji

A. VOR
B. MLS
C. ADF
D. ATC
Wykonywanie obsługi techniczn…
W satelitarnym odległościowym systemie nawigacyjnym GNSS pozycję użytkownika określa się na podstawie pomiaru
A. wysokości sztucznego satelity systemu nawigacyjnego nad pozycją odbiornika.
B. przesunięcia Dopplera sygnału nawigacyjnego odbieranego przez odbiornik.
C. prędkości odbiornika względem sztucznego satelity systemu nawigacyjnego.
D. odległości odbiornika od sztucznego satelity systemu nawigacyjnego.
TLO.01 Pytanie 278
Wykonywanie obsługi techniczn…
Aby zmierzyć rezystancję wynoszącą więcej niż 1 Ω, powinno się zastosować mostek
A. Wiena
B. Wheatstone’a
C. Thomsona
D. Maxwella-Wiena
Wykonywanie obsługi techniczn…
Warunkiem prawidłowego określenia odległości do stacji przez układ nawigacyjny VOR jest zainstalowanie systemu
A. Long Range Navigation.
B. Distance Measurement Equipment.
C. Tactical Air Navigation.
D. Instrument Landing System.
Wykonywanie obsługi techniczn…
Na rysunku przedstawiono miernik elektryczny, który posiada ustrój pomiarowy

A. elektrodynamiczny.
B. elektromagnetyczny.
C. ferrodynamiczny.
D. magnetoelektryczny.