Filtrowanie pytań
Wykonywanie robót dekarsko-bl…
A. 960,00 zł
B. 1 170,00 zł
C. 1 050,00 zł
D. 840,00 zł
Wykonywanie robót dekarsko-bl…
Na rysunku przedstawiono dach w układzie

A. dwuspadowym.
B. jednospadowym.
C. mansardowym.
D. półszczytowym.
Wykonywanie robót dekarsko-bl…
Na rysunku przestawiono montaż

A. obróbki kosza.
B. obróbki kalenicy.
C. haków do mocowania rynien.
D. haków do mocowania rury spustowej.
Wykonywanie robót dekarsko-bl…
Do przykręcenia arkusza blachodachówki potrzeba 7 sztuk wkrętów na 1 m². Ile sztuk wkrętów potrzeba do zamocowania 220 m² blachodachówki?
A. 1 420 sztuk.
B. 1 240 sztuk.
C. 1 300 sztuk.
D. 1 540 sztuk.
Wykonywanie robót dekarsko-bl…
Cena 1m² blachy wynosi 27,00 zł. Ile będzie kosztował arkusz blachy o wymiarach 1000 mm x 2000 mm?
A. 55,00 zł
B. 45,00 zł
C. 54,00 zł
D. 44,00 zł
Wykonywanie robót dekarsko-bl…
Gąsiory ceramiczne podczas krycia dachu dachówką zakładkową ceramiczną mocuje się za pomocą
A. uchwytów przykręcanych do łaty kalenicowej.
B. farmerów przykręcanych do łaty kalenicowej.
C. uchwytów przykręcanych do dachówek.
D. farmerów przykręconych do dachówek.
Wykonywanie robót dekarsko-bl…
Na podstawie danych zawartych w tabeli oblicz długość montażową koszy aluminiowych potrzebną do wykonania kosza na dachu, jeżeli jego długość wynosi 6,50 m.
| Nakłady na 1 m | ||
|---|---|---|
| Wyszczególnienie | J.m. | Montaż kosza aluminiowego zwykłego |
| Robotnicy | r-g | 1,62 |
| Kosz aluminiowy | m | 1,08 |
| Klamra do mocowania koszy | kg | 6,0 |
| Zaczep klamrowy uniwersalny do dachówek ciętych | kg | 3,0 |
| Uszczelka z gąbki do kosza | szt. | 2,05 |
| Materiały pomocnicze | m-g | 2,5 |
A. 6,69 m
B. 7,02 m
C. 5,05 m
D. 6,40 m
Wykonywanie robót dekarsko-bl…
Ocena jakości wykonania orynnowania polega na sprawdzeniu
A. projektowanego spadku.
B. ilości odcinków rynny.
C. kształtu otworu wylotowego.
D. ilości haków rynnowych.
Wykonywanie robót dekarsko-bl…
Skrzydło obrotowe okna dachowego można obrócić o
A. 180°
B. 270°
C. 90°
D. 190°
Wykonywanie robót dekarsko-bl…
Do wykonania paroprzepuszczalnej izolacji wodochronnej na dachu nieodeskowanym, pod pokrycie dachówką ceramiczną, stosuje się
A. piankę poliuretanową.
B. membranę wysokoparoprzepuszczalną.
C. styropian.
D. wełnę mineralną.
Wykonywanie robót dekarsko-bl…
Narzędzie przedstawione na rysunku to

A. zaciskacz okapu.
B. zamykać łukowy.
C. zamykać dachowy.
D. szczypce zaciskowe.
Wykonywanie robót dekarsko-bl…
Gdzie stosuje się grzebień z kratką wentylacyjną?
A. W części środkowej połaci.
B. Przy okapie.
C. Przy kalenicy.
D. W szczycie dachu.
Wykonywanie robót dekarsko-bl…
Na rysunku przedstawiono wykonanie obróbki

A. dylatacji.
B. kalenicy.
C. okapu.
D. kosza.
Wykonywanie robót dekarsko-bl…
Ile m³ desek „całówek” o grubości 25 mm potrzeba do wykonania pełnego deskowania dachu o powierzchni 268 m²?
A. 4,60 m³
B. 8,30 m³
C. 5,20 m³
D. 6,70 m³
Wykonywanie robót dekarsko-bl…
Ile m² blachy potrzeba do wykonania obróbki (bez uwzględniania zakładów) pokazanej na rysunku, jeżeli długość szczytu wynosi 6 m?

A. 2,04 m²
B. 2,65 m²
C. 3,02 m²
D. 1,45 m²
Wykonywanie robót dekarsko-bl…
Rurę spustową należy mocować do konstrukcji ścian budynku uchwytami w odstępach wynoszących maksimum
A. 2 m
B. 3 m
C. 1 m
D. 4 m
Wykonywanie robót dekarsko-bl…
Na rysunku przedstawiono dach o kształcie

A. półszczytowym.
B. naczółkowym.
C. mansardowym.
D. namiotowym.
Wykonywanie robót dekarsko-bl…
Na podstawie rysunku określ, w jakim celu stosuje się kominki wentylacyjne w warstwach izolacyjnych dachu płaskiego.

A. Ochrony podkładu przed wodą opadową.
B. Zabezpieczenia blachy przez korozją.
C. Napowietrzania styropianu.
D. Odprowadzania pary wodnej.
Wykonywanie robót dekarsko-bl…
Na podstawie informacji zawartych w tabeli, oblicz jaki będzie koszt zamocowania 30 m rynny PCV oraz 8 łączników rynny.
| Cennik materiałów do wykonania odwodnienia dachu | ||
|---|---|---|
| Element orynnowania | Jednostka miary | Cena |
| Rynna PCV | m | 15,00 zł |
| Rura spustowa | m | 17,00 zł |
| Kolanko | szt. | 30,00 zł |
| Łącznik rynny | szt. | 15,00 zł |
| Sztucer | szt. | 25,00 zł |
| Obejma | szt. | 8,00 zł |
A. 520,00 zł
B. 690,00 zł
C. 570,00 zł
D. 630,00 zł
BUD.03 Pytanie 100
Wykonywanie robót dekarsko-bl…
Na podstawie danych w tabeli, oblicz ile łat iglastych wymiarowych nasyconych kl. II 40 x 60 mm potrzeba do ołacenia dachu pod dachówki profilowane o powierzchni 160 m².

A. 1,3968 m³
B. 1,1000 m³
C. 1,4732 m³
D. 1,2345 m³
Wykonywanie robót dekarsko-bl…
Do wykonania obróbki ogniomuru stosuje się blachę
A. falistą, stalową ocynkowaną o grubości 0,5÷0,6 mm
B. płaską, stalową ocynkowaną o grubości 0,5÷0,6 mm
C. płaską, stalową ocynkowaną o grubości 1,0÷2,0 mm
D. falistą, stalową ocynkowaną o grubości 1,0÷2,0 mm
Wykonywanie robót dekarsko-bl…
Dach o konstrukcji przyczółkowej przedstawiono na rysunku
A. Rysunek 1

B. Rysunek 4

C. Rysunek 2

D. Rysunek 3

Wykonywanie robót dekarsko-bl…
Na podstawie danych zawartych w tabeli oblicz, ile sztuk obejm wkręcanych potrzeba do zamocowania 40 m rury spustowej.

A. 20 sztuk.
B. 30 sztuk.
C. 10 sztuk.
D. 40 sztuk.
Wykonywanie robót dekarsko-bl…
Korzystając z informacji zawartych w tabeli, wskaż maksymalny rozstaw łat przy kryciu karpiówką w koronkę podwójnie na dachu o kącie nachylenia 40°.

A. 16 cm
B. 25 cm
C. 28 cm
D. 31 cm
Wykonywanie robót dekarsko-bl…
Naprawa pokrycia z dachówek, w którym stwierdzono kilka pękniętych dachówek, polega na
A. wymianie wszystkich dachówek.
B. wymianie pękniętych dachówek.
C. uszczelnieniu uszczelniaczem dekarskim pęknięć w dachówkach.
D. uszczelnieniu silikonem pęknięć w dachówkach.
Wykonywanie robót dekarsko-bl…
Na rysunku przedstawiono uchwyt do mocowania

A. rury spustowej.
B. łaty kalenicowej.
C. rynny doczłowej.
D. rynny nakrokwiowej.
Wykonywanie robót dekarsko-bl…
Arkusz blachy trapezowej o powierzchni 2,5 m² kosztuje 80,00 zł. Ile będzie kosztowało pokrycie dachu o powierzchni 100 m²?
A. 3 200,00 zł
B. 2 100,00 zł
C. 4 300,00 zł
D. 5 500,00 zł
Wykonywanie robót dekarsko-bl…
Zespół składający się z dekarza i dwóch pomocników otrzymał za wykonanie pokrycia dachowego wynagrodzenie w wysokości 10 000 zł. Pomocnicy zarobili 60% całej kwoty. Ile zarobił jeden pomocnik?
A. 3 000 zł
B. 5 000 zł
C. 4 000 zł
D. 6 000 zł
Wykonywanie robót dekarsko-bl…
Wykonanie 1 m² pokrycia dachu kosztuje 25,00 zł. Jaki będzie koszt robocizny wykonania pokrycia dachu o wymiarach 11 × 4 m?
A. 1 100,00 zł
B. 1 230,00 zł
C. 1 350,00 zł
D. 1 400,00 zł
Wykonywanie robót dekarsko-bl…
Ile membrany wysokoparoprzepuszczalnej potrzeba do pokrycia dachu o powierzchni 230 m², jeżeli norma zużycia wynosi 1,1 m²/m²?
A. 238 m²
B. 253 m²
C. 258 m²
D. 230 m²
Wykonywanie robót dekarsko-bl…
Na rysunku przedstawiono świetlik dachowy

A. pilasty.
B. łukowy.
C. latarniowy.
D. trapezowy.
Wykonywanie robót dekarsko-bl…
Urządzenie przedstawione na rysunku służy do

A. dociskania łat.
B. wbijania gwoździ.
C. wyciągania gwoździ.
D. wkręcania wkrętów.
Wykonywanie robót dekarsko-bl…
Wartość kosztorysowa wykonanych robót dekarskich wynosi 5 000,00 zł. Oblicz wartość zysku, przyjmując, że jego wysokość wynosi 8% wartości kosztorysowej.
A. 4 000,00 zł
B. 500,00 zł
C. 5 000,00 zł
D. 400,00 zł
Wykonywanie robót dekarsko-bl…
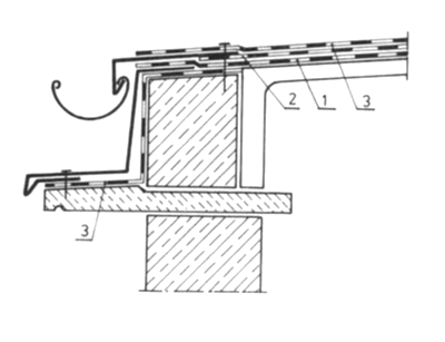
Cyfrą 2 na rysunku oznaczono

A. wiatrownicę.
B. podwalinę.
C. wieniec.
D. murłatę.
Wykonywanie robót dekarsko-bl…
Rynhaki mocuje się do
A. deski czołowej.
B. kontrłaty.
C. ściany budynku.
D. pokrycia.
Wykonywanie robót dekarsko-bl…
Na rysunku przedstawiono rozwiązanie obróbki blacharskiej

A. naroża dachu.
B. okapu dachu.
C. szczytu dachu.
D. kalenicy dachu.
Wykonywanie robót dekarsko-bl…
Arkusze papy należy układać krzyżowo, jeżeli nachylenie połaci dachowej wynosi
| Pochylenie połaci dachowej | Kierunek układania |
|---|---|
| do 15% | równolegle do okapu |
| 15÷30% | krzyżowo |
| powyżej 30% | prostopadle do okapu |
A. 10%
B. 14%
C. 12%
D. 16%
Wykonywanie robót dekarsko-bl…
Na rysunku przedstawiono sposób zamocowania

A. obejmy rynnowej.
B. haka doczołowego.
C. uchwytu rurowego.
D. haka nakrokwiowego.
Wykonywanie robót dekarsko-bl…
Korzystając z informacji zawartych w tabeli, wskaż pochylenie połaci dachowej, przy którym arkusze papy należy układać prostopadle do okapu.
| Pochylenie połaci dachowej | Kierunek układania |
|---|---|
| do 15% | równolegle do okapu |
| 15÷30% | krzyżowo |
| powyżej 30% | prostopadle do okapu |
A. 25%
B. 20%
C. 10%
D. 35%
Wykonywanie robót dekarsko-bl…
Przyczyną uszkodzenia rynny przedstawionej na rysunku jest

A. niewłaściwa średnica uchwytów rynnowych.
B. brak uchwytów rynnowych przy leju spustowym.
C. brak obróbki pasa okapowego.
D. brak obróbki okapu.