Filtrowanie pytań
Wykonywanie prac geologicznych
A. wydziela nieprzyjemny zapach.
B. szybko zmienia kolor.
C. intensywnie reaguje (burzy/pieni się).
D. rozpada się.
Wykonywanie prac geologicznych
Dolomit powstaje z wapieni poddanych działaniu roztworów zasobnych w
A. Mg<sup>2+</sup>
B. Na<sup>+</sup>
C. K<sup>+</sup>
D. SiO<sub>2</sub>
Wykonywanie prac geologicznych
Jak nazywa się jaskinie, które powstały w wyniku rozpuszczającej i erozyjnej działalności wód podziemnych?
A. Grawitacyjnymi.
B. Abrazyjnymi.
C. Tektonicznymi.
D. Przepływowymi.
Wykonywanie prac geologicznych
Które zbocze wzniesienia przedstawionego na fragmencie mapy jest najbardziej strome?

A. Północne.
B. Południowe.
C. Wschodnie.
D. Zachodnie.
Wykonywanie prac geologicznych
Zjawisko filtracji polega na
A. warstwowo-burzliwym ruchu wody w potokach podziemnych.
B. szybkim przesączaniu się wody przez rumosze i głazowiska.
C. powolnym przesączaniu się wody przez skały porowate, np. piaskowce.
D. szybkim przesączaniu się wody przez skały silnie skrasowiałe, np. wapienie.
Wykonywanie prac geologicznych
Które góry powstały w wyniku zamknięcia Oceanu Tetydy?
A. Kordyliery.
B. Andy.
C. Himalaje.
D. Karpaty.
Wykonywanie prac geologicznych
Magnetotelluryka to metoda wykorzystująca
A. naturalne pole elektromagnetyczne ziemi.
B. zróżnicowanie podatności magnetycznej skał.
C. promieniowanie kosmiczne.
D. indukowane sztucznie pole elektromagnetyczne.
Wykonywanie prac geologicznych
Zdjęcie lotnicze przedstawia

A. meandry rzeczne.
B. przeciągnięcie rzeki.
C. rzekę i starorzecza.
D. deltę rzeczną.
GIW.06 Pytanie 89
Wykonywanie prac geologicznych
W ramach projektowania prac geologiczno-inżynierskich wykonuje się
A. badania laboratoryjne.
B. prace terenowe.
C. prace dokumentacyjne.
D. przegląd terenu.
GIW.06 Pytanie 90
Wykonywanie prac geologicznych
Rów Mariański, najniżej położone zbadane miejsce na Ziemi, znajduje się między
A. Indiami a Półwyspem Arabskim.
B. Australią a Antarktydą.
C. Japonia a Papuą Nową Gwineą.
D. Kanadą a Grenlandią.
Wykonywanie prac geologicznych
Jak nazywa się proocean istniejący od końca karbonu do początków neogenu?
A. Wszechocean.
B. Paleoocean.
C. Ocean Gondwany.
D. Ocean Tetydy.
Wykonywanie prac geologicznych
Badany makroskopowo grunt określa się jako mało wilgotny, jeżeli jego grudka
A. przy zgniataniu pęka, a po rozdrobnieniu daje suchy proszek.
B. przy zgniataniu odkształca się plastycznie, a przyłożony do niej papier pozostaje suchy.
C. przy ściskaniu w dłoni odłącza wodę.
D. przyłożona do papieru zostawia na nim wilgotny ślad.
Wykonywanie prac geologicznych
Widoczne na mapie osady permu sfałdowane zostały

A. po triasie.
B. przed karbonem.
C. po kredzie.
D. przed triasem.
Wykonywanie prac geologicznych
Karpaty powstały w wyniku likwidacji skorupy oceanicznej w północnej części oceanu
A. Iapetus.
B. Tetyda.
C. Uralskiego.
D. Reik.
Wykonywanie prac geologicznych
Oś fałdu widocznego na fragmencie mapy zapada w kierunku

A. SE
B. SW
C. NE
D. NW
Wykonywanie prac geologicznych
W wyniku silnego parowania wody morskiej powstają złoża
A. gipsu.
B. siarki.
C. węgla.
D. cynku.
Wykonywanie prac geologicznych
Cięcie poziomicowe na przedstawionej mapie wynosi

A. 5 m
B. 20 m
C. 10 m
D. 25 m
Wykonywanie prac geologicznych
Przedstawiona na rysunku marszruta zastosowana do wykonania zdjęcia geologicznego prowadzona była metodą

A. sieciową.
B. profilową.
C. punktową.
D. granic geologicznych.
Wykonywanie prac geologicznych
Ile wynosi masa próbki piasku drobnego do analizy sitowej?
A. 50 + 100 g
B. 1000 + 5000 g
C. 200 + 250 g
D. 500 + 1000 g
Wykonywanie prac geologicznych
Dla zaobserwowania atrakcji geoturystycznej, którą jest Wodospad Kamieńczyka, należy zaprojektować trasę geoturystyczną na obszarze
A. Gór Kaczawskich.
B. Bieszczad.
C. Karkonoszy.
D. Gór Świętokrzyskich.
Wykonywanie prac geologicznych
Podczas której orogenezy nastąpiło pierwotne sfałdowanie Tatr?
A. Karelskiej.
B. Waryscyjskiej.
C. Kaledońskiej.
D. Alpejskiej.
Wykonywanie prac geologicznych
W wyniku osadzania się na przedpolu lądolodu materiału niesionego przez wody pochodzące z topnienia lodu tworzą się
A. drumliny.
B. kemy.
C. sandry.
D. ozy.
Wykonywanie prac geologicznych
Pasmo górskie Tatr zostało wypiętrzone podczas orogenezy
A. kaledońskiej.
B. hercyńskiej.
C. alpejskiej.
D. waryscyjskiej.
Wykonywanie prac geologicznych
Doliny V-kształtne powstają w wyniku działania erozji
A. dennej.
B. wstecznej.
C. czołowej.
D. bocznej.
Wykonywanie prac geologicznych
Na obszarze krasowym potok wpływa pod powierzchnię ziemi w miejscu zwanym
A. lejem.
B. ponorem.
C. mogotem.
D. wywierzyskiem.
Wykonywanie prac geologicznych
Widoczny na mapie uskok powstał

A. po kredzie.
B. po permie.
C. przed karbonem.
D. przed triasem.
Wykonywanie prac geologicznych
Dla poznania rzeźby polodowcowej na trasie ścieżki edukacyjnej wokół kotłów Wielkiego i Małego Stawu należy zorganizować wycieczkę na obszarze
A. Pienin.
B. Tatr.
C. Bieszczad.
D. Karkonoszy.
Wykonywanie prac geologicznych
Ile wynosi wilgotność gruntu użytego do badania w aparacie Casagrande'a, którego wyniki przedstawione są na wykresie?

A. 25%
B. 54%
C. 20%
D. 32%
Wykonywanie prac geologicznych
Na mapie widoczny jest uskok

A. zawiasowy.
B. nożycowy.
C. przesuwczy.
D. zrzutowy normalny.
Wykonywanie prac geologicznych
Formy krasu gipsowego można obejrzeć
A. w Niecce Nidziańskiej.
B. w Kotlinie Kłodzkiej.
C. w Górach Świętokrzyskich.
D. w Górach Stołowych.
Wykonywanie prac geologicznych
Do określenia położenia lądów i mórz w przeszłości geologicznej stosuje się badania
A. sejsmiczne.
B. elektroporowe.
C. magnetyczne.
D. izotopowe.
Wykonywanie prac geologicznych
Pasmo górskie Tatr zostało wypiętrzone podczas orogenezy
A. kaledońskiej.
B. hercyńskiej.
C. waryscyjskiej.
D. alpejskiej.
Wykonywanie prac geologicznych
Meandry są formą powstałą w wyniku działania erozji
A. wstecznej.
B. dennej.
C. czołowej.
D. bocznej.
Wykonywanie prac geologicznych
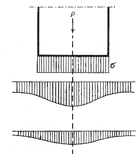
Stan naprężenia gruntu przedstawiony na rysunku należy do naprężeń

A. mimośrodowych.
B. wtórnych.
C. osiowych.
D. pierwotnych.
Wykonywanie prac geologicznych
Najbardziej stromy fragment stoku jest na odcinku oznaczonym

A. literą A
B. literą C
C. literą B
D. literą D
Wykonywanie prac geologicznych
Różnica wysokości pomiędzy punktami K i P przedstawionymi na fragmencie mapy wynosi

A. 100 m
B. 250 m
C. 150 m
D. 200 m
Wykonywanie prac geologicznych
Substancje chemiczne mogą tworzyć kryształy o identycznych lub bardzo zbliżonych postaciach krystalograficznych. Proces taki nazywa się
A. likwacją.
B. izomorfizmem.
C. metamorfizmem.
D. paramorfozą.
Wykonywanie prac geologicznych
Stygnąca lawa zmniejsza swoją objętość, a powstające naprężenia prowadzą do powstania spękań nazywanych ciosem
A. diagenetycznym.
B. termicznym.
C. katetalnym.
D. ławicowym.
Wykonywanie prac geologicznych
Podczas plejstoceńskich glacjałów obszar Polski prawie w całości był pokryty lądolodem skandynawskim, z którego wystawały jedynie wyższe partie gór jako nunataki. Jakie to góry?
A. Tatry.
B. Góry Izerskie.
C. Góry Świętokrzyskie.
D. Karkonosze.
Wykonywanie prac geologicznych
Jak nazywa się proces, w którym następuje stopniowy wzrost procentowy zawartości pierwiastka C, a zmniejsza się zawartość innych pierwiastków np.: O₂ i H₂?
A. Dolomityzacja.
B. Utlenianie.
C. Uwęglanie.
D. Karbonatyzacja.