Filtrowanie pytań
Eksploatacja podziemna złóż
A. pyłów respirabilnych
B. substancji promieniotwórczych
C. wody z uskoków wodonośnych
D. powietrza kopalnianego
Organizacja i prowadzenie eks…
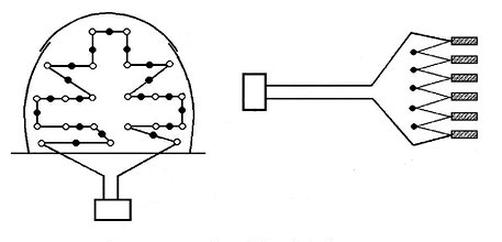
Jak nazywa się połączenie zapalników przedstawione na rysunku?

A. Równoległe.
B. Równoległo-szeregowe.
C. Trójpierścieniowe.
D. Szeregowe.
Organizacja i prowadzenie eks…
Jakie urządzenie jest wykorzystywane do pomiaru wilgotności powietrza w kopalniach?
A. pirometr
B. manometr
C. psychrometr
D. anemometr
Organizacja i prowadzenie eks…
Minimalny odstęp między krawędziami zestawu transportowego z ładunkiem a obudową wykopu, ociosami, drzwiami bądź maszynami i urządzeniami nie powinien być mniejszy niż
A. 0,40 m
B. 0,50 m
C. 0,25 m
D. 0,30 m
Organizacja i prowadzenie eks…
Jakie dokumenty zawierają informacje o rodzajach wykonywanych prac, przerwach w działalności, a także uwagi odnośnie stanu obudowy oraz potencjalnych zagrożeń, które są zapisywane przez dozór oddziałowy?
A. książce raportowej dyspozytora ruchu zakładu górniczego
B. książce obudowy
C. raporcie zmianowym
D. dokumencie bezpieczeństwa
Organizacja i prowadzenie eks…
Sprzęt strzałowy przedstawiony na fotografii służy do

A. pomiaru rezystancji obwodów strzałowych.
B. testowania wskaźników WRZOS-2
C. pomiaru natężenia prądów błądzących.
D. kontroli ciągłości obwodu strzałowego.
Organizacja i prowadzenie eks…
Który z podanych elementów nie wpływa na wybór odpowiedniej technologii głębienia szybu?
A. Warunki hydrogeologiczne
B. Planowane przeznaczenie szybu
C. Głębokość szybu
D. Typ sprzętu, który będzie użyty do głębienia
Organizacja i prowadzenie eks…
Do naturalnych zagrożeń w kopalniach nie wlicza się zagrożenia
A. pyłami szkodliwymi dla zdrowia
B. erupcyjnego
C. wodnego
D. wybuchem pyłu węglowego
Eksploatacja podziemna złóż
Natychmiast należy ewakuować osoby z niebezpiecznego wyrobiska, w którym stężenie tlenku azotu przekracza
A. 0,00026%
B. 0,0026%
C. 0,0007%
D. 0,000075%
Eksploatacja podziemna złóż
Jaką wielkość fizyczną powietrza kopalnianego można zarejestrować za pomocą anemometru?
A. Wilgotność
B. Różnicę ciśnień
C. Temperaturę
D. Prędkość przepływu
Eksploatacja podziemna złóż
Na przedstawionym rysunku paleta transportowa oznaczona jest literą

A. B.
B. C.
C. D.
D. A.
Organizacja i prowadzenie eks…
Jakie informacje są zawarte w Karcie oceny ryzyka zawodowego dla danego stanowiska pracy?
A. Lista chorób zawodowych występujących w danym zakładzie
B. Lista wypadków występujących na danym stanowisku
C. Lista skutków aktywizacji zagrożeń
D. Zasady raportowania wypadków w pracy
Eksploatacja podziemna złóż
Interpretacja zapisu ST w książce wstrząsów górotworu odnosi się do wstrząsu, który wystąpił na skutek
A. silnego tąpnięcia
B. strzelania urabiającego
C. wstrząsu samoistnego
D. strzelania torpedującego
Eksploatacja podziemna złóż
Czynnikiem, który przesądza o możliwości realizacji ścian z podsadzką hydrauliczną, jest
A. nachylenie pokładu
B. grubość pokładu
C. kategoria zagrożenia metanowego
D. klasa skał stropowych
Organizacja i prowadzenie eks…
Przyrząd przedstawiony na rysunku używany jest do

A. łączenia przewodów strzałowych.
B. uzbrajania lontu detonującego zapalnikiem elektrycznym.
C. łączenia lontów detonujących.
D. formowania ładunków przybitki specjalnej.
Eksploatacja podziemna złóż
Podstawowym środkiem ochrony osobistej dla operatorów maszyn górniczych poruszających się samodzielnie w trakcie pracy są
A. pasy antywibracyjne
B. linki bezpieczeństwa z dampenerem
C. lampy na hełmy
D. szelki zabezpieczające
Eksploatacja podziemna złóż
W udostępnionym złożu metanonośność wynosi powyżej 2,5 m3/Mg, jednak nie przekracza 4,5 m3/Mg w przeliczeniu na czystą substancję węglową. Do której kategorii zagrożenia metanowego można zakwalifikować takie złoże?
A. Do kategorii III
B. Do kategorii II
C. Do kategorii IV
D. Do kategorii I
Organizacja i prowadzenie eks…
Który aparat tlenowy przeznaczony do izolowania dróg oddechowych człowieka od atmosfery nienadającej się do oddychania przedstawiono na rysunku?

A. AU-9
B. KA-60
C. Dräger
D. SZSS-1PV
Eksploatacja podziemna złóż
Jakim urządzeniem dokonuje się wiercenia otworów strzałowych?
A. Wiertnicą pneumatyczną
B. Koparką gąsienicową
C. Kombajnem chodnikowym
D. Ładowarką kołową
Eksploatacja podziemna złóż
Na rysunku przedstawiony jest system eksploatacji pokładu węgla

A. zabierkowy z zawałem stropu.
B. ubierkowo-zabierkowy z zawałem stropu.
C. komorowo-filarowy z podsadzką płynną.
D. zabierkowy z podsadzką płynną.
Organizacja i prowadzenie eks…
Samojezdny wóz transportowy o objętości skrzyni ładunkowej 15 m3 zrealizował 8 kursów w ciągu 6 godzin. Ile wynosi efektywność tego wozu, jeśli gęstość skały wynosi 2,0 t/m3?
A. 40 t/h
B. 30 t/h
C. 20 t/h
D. 60 t/h
Eksploatacja podziemna złóż
W jakim systemie eksploatowane są złoża wysadowe soli kamiennej?
A. komorowym
B. ścianowym
C. ubierkowym
D. jankowickim
Eksploatacja podziemna złóż
Jaką kategorię zagrożenia metanowego przypisuje się udostępnionemu pokładowi węgla kamiennego, w którym wystąpił nagły wyciek metanu?
A. Przypisuje się do kategorii III
B. Przypisuje się do kategorii IV
C. Przypisuje się do kategorii I
D. Przypisuje się do kategorii II
Eksploatacja podziemna złóż
Maszyna górnicza przedstawiona na rysunku służy do

A. wiercenia otworów strzałowych.
B. ładowania urobku.
C. kotwienia wyrobisk.
D. kruszenia skał.
Eksploatacja podziemna złóż
Jakie narzędzie jest wykorzystywane przy montażu obudowy łukowej podatnej?
A. podciągnika hydraulicznego
B. siekier górniczych
C. klucza dynamometrycznego
D. ciągarki górniczej
Organizacja i prowadzenie eks…
Jaką metodę wykorzystuje się do oceny ryzyka tąpań w kopalni węgla kamiennego?
A. Elektrometryczna
B. Magnetometryczna
C. Radiometryczna
D. Sejsmoakustyczna
Organizacja i prowadzenie eks…
Informacje o rozmiarze oraz strukturze produkcji w aspekcie ilościowym i wartościowym obejmuje
A. dokumentacja geologiczna złoża.
B. plan produkcji przedsiębiorstwa górniczego
C. dokumentacja związana z bezpieczeństwem.
D. raportowa książka oddziałowa.
Eksploatacja podziemna złóż
Przedstawione na rysunku narzędzie do wiercenia otworów strzałowych w skałach średniotwardych i twardych to

A. koronka do wiercenia obrotowo-udarowego.
B. raczek do wiercenia obrotowego ze skrawaniem.
C. żerdź monolityczna do wiercenia udarowo-obrotowego.
D. koronka krzyżowa do wiercenia udarowo-obrotowego.
Eksploatacja podziemna złóż
Złoża miedzi o grubości pokładu przekraczającej 7 m należy eksploatować przy użyciu systemu
A. komorowo-filarowego z ugięciem stropu
B. komorowo-filarowego z podsadzką
C. ubierkowego z ugięciem stropu
D. ubierkowego z zawałem stropu
Organizacja i prowadzenie eks…
Przed przystąpieniem do drążenia, eksploatacji, zbrojenia lub likwidacji robót górniczych, należy przygotować projekty techniczne oraz technologie ich realizacji, które muszą zostać zatwierdzone przez
A. kierownika robót przygotowawczych
B. kierownika ruchu zakładu górniczego
C. kierownika działu przygotowania produkcji
D. kierownika oddziału
Eksploatacja podziemna złóż
Jakie są podstawowe funkcje systemu wentylacyjnego w kopalniach?
A. Kontrola temperatury i wilgotności w wyrobiskach
B. Dostarczanie świeżego powietrza i usuwanie szkodliwych gazów
C. Ochrona przed zalaniem (to jest zadanie systemów odwodnieniowych, nie wentylacyjnych)
D. Transport urobku na powierzchnię (to nie jest zadanie systemu wentylacyjnego)
Eksploatacja podziemna złóż
Jakie urządzenia wykorzystuje się do pomiaru stężenia SO2 w atmosferze górniczej?
A. metanomierze żarowe.
B. benzynowe lampy wskaźnikowe.
C. wykrywacze gazów oraz rurki wskaźnikowe.
D. metanomierze interferencyjne.
Eksploatacja podziemna złóż
Sprzęt przedstawiony na ilustracji jest używany podczas

A. rabowania stojaków ciernych.
B. zabudowy stojaków ciernych.
C. rabowania stojaków hydraulicznych centralnie zasilanych typu SHC.
D. zabudowy stojaków hydraulicznych centralnie zasilanych typu SHC.
Eksploatacja podziemna złóż
W korytarzowych wyrobiskach w pokładach trzeciej oraz czwartej kategorii zagrożenia metanowego, jakie wyposażenie jest wymagane na ścianach oraz przodkach?
A. 2 gaśnice proszkowe 6 kg i 2 gaśnice pianowe
B. 4 gaśnice proszkowe 6 kg i 2 gaśnice pianowe
C. 2 gaśnice pianowe oraz 2 gaśnice proszkowe 12 kg
D. 2 gaśnice proszkowe 6 kg i 2 gaśnice proszkowe 12 kg
Eksploatacja podziemna złóż
W procesie wyboru, przy użyciu samojezdnego wozu SWK, realizuje się operację
A. ładowania urobku
B. obrywki
C. kotwienia
D. ładowania otworów strzałowych
Eksploatacja podziemna złóż
Jaki jest podstawowy cel stosowania obudowy kotwowej w wyrobiskach podziemnych?
A. Zabezpieczenie stropu przed opadnięciem
B. Zmniejszenie ilości pyłów w powietrzu
C. Poprawa wentylacji w wyrobiskach
D. Zwiększenie wydajności wydobycia
Organizacja i prowadzenie eks…
Filtry klasy P-3 są używane, gdy stężenie pyłów w atmosferze w miejscu pracy przewyższa
A. czterokrotność najwyższego dozwolonego stężenia (NDS) i nie przewyższa dziesięciokrotności najwyższego dozwolonego stężenia (NDS)
B. najwyższe dozwolone stężenie (NDS) i nie przekracza czterokrotności najwyższego dozwolonego stężenia (NDS)
C. dwudziestokrotność najwyższego dozwolonego stężenia (NDS)
D. dziesięciokrotność najwyższego dozwolonego stężenia (NDS) i nie przekracza dwudziestokrotności najwyższego dozwolonego stężenia (NDS)
Eksploatacja podziemna złóż
Dystans lutniociągu od przodu przodka w strefach metanowych lub zagrożonych wydobyciem gazów i skał przy wentylacji ssącej nie może być większy niż
A. 10 m
B. 12 m
C. 8 m
D. 6 m
GIW.09 Pytanie 279
Organizacja i prowadzenie eks…
Gdy usłyszy się dźwięk alarmu pożarowego, składający się z serii krótkich sygnałów (tzw. "szturm") oraz 4 długich, pracownik jest zobowiązany do natychmiastowego wycofania się
A. do komory przeciwpożarowej
B. z kierunkiem przepływu powietrza
C. do wnęki z rurociągiem sprężonego powietrza
D. pod prąd powietrza
Eksploatacja podziemna złóż
Górnik strzałowy transportuje w pudełku z amunicją
A. zapalarkę elektryczną
B. materiał wybuchowy
C. zapalniki elektryczne
D. przybitkę piaskową