Kwalifikacja: MEC.05 - Użytkowanie obrabiarek skrawających
Zawód: Technik mechanik
Kategorie: Obrabiarki skrawające Rysunek techniczny i oznaczenia
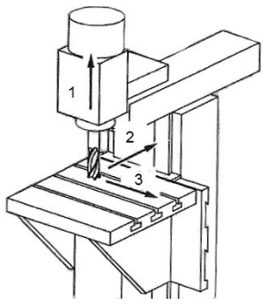
Rysunek przedstawia układ osi frezarki pionowej sterowanej numerycznie. Cyfrą 1 oznaczona jest

Odpowiedzi
Informacja zwrotna
Odpowiedź oś Z jest poprawna, ponieważ w kontekście frezarek pionowych sterowanych numerycznie, oś Z jest odpowiedzialna za ruch pionowy narzędzia. Ruch ten umożliwia precyzyjne obrabianie materiału w kierunku góra-dół, co jest kluczowe dla wielu operacji frezarskich. Przykładowo, przy frezowaniu otworów lub wykonywaniu wgłębień, to właśnie oś Z precyzyjnie kontroluje głębokość obróbki. W standardach CNC, osie są zazwyczaj definiowane w sposób uniwersalny, gdzie oś X reprezentuje ruch w poziomie w kierunku prawo-lewo, oś Y kontroluje ruch w drugiej płaszczyźnie poziomej (przód-tył), a oś Z, jak w tym przypadku, jest zarezerwowana dla ruchu pionowego. Dobrą praktyką w pracy z maszynami CNC jest znajomość układu osi, co pozwala na lepsze planowanie i programowanie procesów obróbczych. Znajomość tych zasad jest niezbędna dla operatorów i programistów CNC, aby efektywnie wykorzystać możliwości maszyn.
Wybór odpowiedzi, która wskazuje na osie X, Y lub C, jest błędny, ponieważ te osie nie odpowiadają za pionowy ruch narzędzia w kontekście frezarek pionowych. Oś X charakteryzuje się ruchem w poziomie w kierunku prawo-lewo, co jest zrozumiałe podczas frezowania krawędzi czy rowków w materiale. Oś Y natomiast kontroluje ruch w drugiej płaszczyźnie poziomej, co jest istotne przy obróbce elementów w układzie poziomym, ale nie ma to bezpośredniego związku z pionowym ruchem narzędzia. Oś C, która często odnosi się do obrotów lub ruchów w płaszczyźnie wokół osi, również nie jest związana z narzędziem poruszającym się w górę i w dół. Przy wyborze nieprawidłowych odpowiedzi, często pojawia się nieporozumienie dotyczące układów współrzędnych oraz funkcji poszczególnych osi w kontekście operacji frezarskich. Kluczowe jest zrozumienie, że każda oś ma przypisaną swoją rolę w procesie obróbczych i ignorowanie tej zasady może prowadzić do nieefektywnego programowania i błędów w produkcji. Zrozumienie, jak każda oś współdziała z narzędziem oraz materiałem, jest fundamentalne dla zapewnienia precyzji i jakości obróbki w przemyśle CNC.