Filtrowanie pytań
Obsługa maszyn i urządzeń do …
A. 90%
B. 12%
C. 60%
D. 18%
Organizacja procesu przeróbki…
Do odwadniania ciśnieniowego koncentratów przeróbczych są stosowane
A. odwadniacze kołowe i sita łukowe.
B. wirówki odwadniające i hydrocyklony.
C. zagęszczacze promieniowe i sita łukowe.
D. prasy filtracyjne taśmowe i komorowe.
Organizacja procesu przeróbki…
Za pomocą którego wzoru oblicza się zawartość składnika użytecznego w koncentracie?
Stosowane we wzorach symbole greckie oznaczają:
\( \gamma \) – wychód produktu,
\( \alpha \) – zawartość składnika użytecznego w nadawie,
\( \varepsilon \) – uzysk składnika użytecznego w koncentracie.
A. \( \beta = \frac{\alpha \varepsilon}{\gamma} \)
B. \( \beta = \frac{\alpha - \gamma}{\beta - \gamma} \varepsilon \)
C. \( \beta = \frac{\varepsilon \gamma}{\alpha} \)
D. \( \beta = \frac{\alpha - \Theta}{\alpha - \gamma} \)
Obsługa maszyn i urządzeń do …
Węgiel koksujący o wymiarze ziaren poniżej 1 mm wzbogacany jest metodą
A. grawitacyjną.
B. specjalną.
C. fluidyzacji.
D. flotacji.
Obsługa maszyn i urządzeń do …
Którą klasę ziarnową rud cynkowo-ołowiowych można skierować do procesu flotacji?
A. ≥ 2,0 mm
B. ≥ 0,5 mm
C. ≥ 1,0 mm
D. ≤ 0,3 mm
Obsługa maszyn i urządzeń do …
Proces odwadniania odpadu poflotacyjnego węgla kamiennego przeprowadza się w
A. prasach filtracyjnych.
B. zagęszczaczach zwojowych.
C. cyklonach zawiesinowych.
D. suszarkach bębnowych.
Obsługa maszyn i urządzeń do …
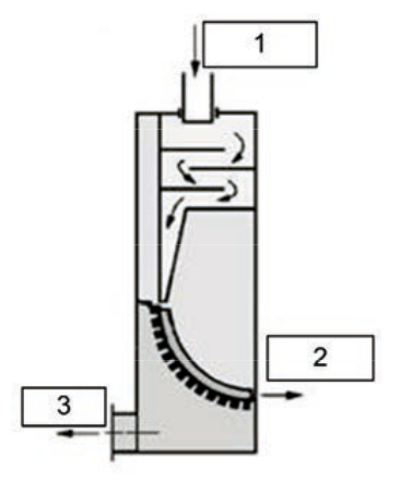
Na rysunku przedstawiono maszynę stosowaną podczas procesu wzbogacania

A. grawitacyjnego we wzbogacalnikach zawiesinowych.
B. grawitacyjnego w osadzarkach pulsacyjnych.
C. magnetycznego w separatorach magnetycznych.
D. flotacyjnego we flotownikach pneumatycznych.
GIW.11 Pytanie 8
Organizacja procesu przeróbki…
Ile wynosi stopień rozdrobnienia nadawy o uziarnieniu 0-20 mm w kruszarce szczękowej o szerokości szczeliny wylotowej wynoszącej 2 mm?
A. 40
B. 18
C. 20
D. 10
Obsługa maszyn i urządzeń do …
Do procesu suszenia w suszarkach bębnowych wykorzystuje się
A. gorące spaliny.
B. siarczek azotu.
C. ciekły azot.
D. sprężone powietrze.
Organizacja procesu przeróbki…
Do najdrobniej uziarnionych sortymentów węgla kamiennego zalicza się
A. groszek.
B. miał.
C. grysik.
D. muł.
Obsługa maszyn i urządzeń do …
Jeżeli udział klasy ziarnowej +130 mm wynosi 20% w nadawie, podawanej w ilości 1200 t/h, to węzeł kruszenia stacji przygotowania powinien mieć wydajność
A. ≥360 t/h
B. ≥300 t/h
C. ≥240 t/h
D. ≥180 t/h
Organizacja procesu przeróbki…
Ile wynosi współczynnik wzbogacenia, jeżeli zawartość miedzi w koncentracie była równa 24,0%, a zawartość tego składnika w nadawie wynosiła 1,5%?
A. 22,5
B. 25,5
C. 16,0
D. 36,0
Organizacja procesu przeróbki…
Proces odwadniania i suszenia koncentratów miedziowych nie obejmuje
A. odwadniania na sitach łukowych.
B. suszenia w suszarkach obrotowych.
C. odwadniania w prasach filtracyjnych.
D. zagęszczania w osadnikach Dorra.
Obsługa maszyn i urządzeń do …
W celu optymalizacji procesu klarowania zawiesin i uzyskania wymaganej wysokiej czystości wody przelewowej w zagęszczaczu promieniowym należy zastosować
A. aktywatory i regulatory.
B. flokulanty i koagulanty.
C. flokulanty.
D. koagulanty.
Obsługa maszyn i urządzeń do …
Na zdjęciu przedstawiono sita wykonane z

A. tworzyw sztucznych.
B. blachy stalowej.
C. prętów stalowych.
D. drutu nierdzewnego.
Obsługa maszyn i urządzeń do …
Jaki element na rysunku zaznaczono cyfrą 5?

A. Napęd hydrauliczny
B. Napęd inercyjny
C. Napęd pneumatyczny
D. Obudowę napędu
Obsługa maszyn i urządzeń do …
W wodach obiegowych kontroluje się
A. zawartość tlenku węgla.
B. zasolenie.
C. zawartość siarki.
D. zawartość tlenku azotu.
Obsługa maszyn i urządzeń do …
Szczęka ruchoma kruszarki jest napędzana
A. przekładnią planetarną.
B. przekładnią cięgnową.
C. przekładnią hydrostatyczną.
D. przekładnią zębatą.
Obsługa maszyn i urządzeń do …
W wyniku wzbogacania flotacyjnego otrzymano koncentrat miedziowy o wychodzie równym 6% i uzysku miedzi w tym koncentracie na poziomie 86%. Ile wynosił wychód odpadu i strata miedzi w odpadzie, jeżeli podczas procesu wzbogacania otrzymano wyłącznie dwa produkty o procentowych udziałach?
A. Wychód odpadu – 94%, strata miedzi w odpadzie – 14%
B. Wychód odpadu – 86%, strata miedzi w odpadzie – 14%
C. Wychód odpadu – 84%, strata miedzi w odpadzie – 6%
D. Wychód odpadu – 14%, strata miedzi w odpadzie – 86%
Obsługa maszyn i urządzeń do …
Ile wynosi uziarnienie nadawy do mielenia w młynie kulowym na drugim stopniu mielenia w procesie przedstawionym na schemacie?

A. 0 – 1 mm
B. 0 – 5 mm
C. 1 – 5 mm
D. 0 – 10 mm
Organizacja procesu przeróbki…
Który minerał we wzorcowej skali Mohsa charakteryzuje się najniższym stopniem twardości?
A. Gips.
B. Talk.
C. Kalcyt.
D. Ortoklaz.
Obsługa maszyn i urządzeń do …
Zbyt niski stopień wypełnienia młynów mielnikami podczas procesu rozdrabniania rudy miedzi prowadzi do
A. zmniejszenia stopnia rozdrobnienia ziarn i polepszenia efektywności flotacji.
B. zwiększenia stopnia uwolnienia ziarn i polepszenia procesu wzbogacania.
C. zwiększenia stopnia uwolnienia ziarn i pogorszenia efektywności wzbogacania.
D. zmniejszenia stopnia rozdrobnienia ziarn i pogorszenia efektywności flotacji.
Obsługa maszyn i urządzeń do …
Powierzchnię idealnie zwilżalną oznacza kąt zwilżalności Θ (theta) równy
A. 0
B. 120
C. 45
D. 90
Obsługa maszyn i urządzeń do …
Podziarnem nazywamy ziarna mniejsze od wymiaru oczka sita, które w wyniku procesu przesiewania
A. są produktem klasyfikacji.
B. zostały wyodrębnione do dalszej przeróbki.
C. pozostały w klasie górnej.
D. znalazły się w klasie dolnej.
Organizacja procesu przeróbki…
Środki ochrony indywidualnej spełniające wymagania jakościowe są oznaczone znakiem
A. PL
B. CE
C. CH₄
D. BHP
Organizacja procesu przeróbki…
Transport koncentratu miedziowego do huty odbywa się
A. samochodami.
B. przenośnikami zgrzebłowymi.
C. rurociągami.
D. wagonami kolejowymi.
Organizacja procesu przeróbki…
Na którym rysunku przedstawiono sposób rozdrabniania skały przez łamanie?
A. Rysunek 4

B. Rysunek 1

C. Rysunek 3

D. Rysunek 2

Obsługa maszyn i urządzeń do …
W jakich maszynach przeróbczych wykorzystuje się rynnę zwężającą do dozowania nadawy?
A. We flotownikach.
B. We wzbogacalnikach.
C. W przesiewaczach.
D. W osadzarkach.
Obsługa maszyn i urządzeń do …
Ile wynosi wydajność dobowa przesiewacza rusztowego wibracyjnego, jeżeli wiadomo, że podczas jednej 8-godzinnej zmiany roboczej klasyfikuje on 480 Mg materiału?
A. 3 840 Mg/dobę.
B. 160 Mg/dobę.
C. 1 140 Mg/dobę.
D. 480 Mg/dobę.
Organizacja procesu przeróbki…
Ile węgla klasy 25-07-06 trzeba zużyć, uwzględniając jego wartość opałową, aby uzyskać taki sam efekt energetyczny jak po spaleniu 1 Mg węgla klasy 30-12-10?
A. 1,0 Mg
B. 1,2 Mg
C. 0,7 Mg
D. 5,0 Mg
Obsługa maszyn i urządzeń do …
Na rysunku przedstawiono

A. membrany filtracyjne do pras ciśnieniowych.
B. wykładziny przejściowe pomp wirowych.
C. sita przelewu do klasyfikatorów zwojowych.
D. sita poliuretanowe przesiewaczy mechanicznych.
Organizacja procesu przeróbki…
Hydrofobowe ziarna mineralne podczas procesu flotacji
A. przyczepiają się do pęcherzyka powietrza i flotują.
B. przyczepiają się do pęcherzyka powietrza i toną.
C. przyczepiają się do ziarn hydrofilnych i flotują.
D. przyczepiają się do ziarn hydrofilnych i toną.
Organizacja procesu przeróbki…
Transport węgla brunatnego do elektrowni najczęściej odbywa się przy użyciu
A. przenośników taśmowych.
B. rurociągów polimerowych.
C. ładowarek łyżkowych.
D. przenośników ślimakowych.
Obsługa maszyn i urządzeń do …
W wyniku klasyfikacji nadawy o uziarnieniu od 0 do 100 mm na przesiewaczu dwupokładowym o wymiarze oczek sit 20 i 40 mm otrzymuje się następujące klasy ziarnowe:
A. 0 – 20, 0 – 40, 0 – 100 mm
B. 20 – 40, 40 – 100, 100 – 200 mm
C. 20 – 40, 20 – 100, 20 – 200 mm
D. 0 – 20, 20 – 40, 40 – 100 mm
Obsługa maszyn i urządzeń do …
Maszyna przedstawiona na rysunku stosowana jest

A. do rozdrabniania węgla.
B. do wzbogacania węgla.
C. do przesiewania węgla.
D. do peletowania węgla.
Obsługa maszyn i urządzeń do …
Surową nadawę przyjmuje się i magazynuje
A. na taśmach.
B. na taśmociągach.
C. w wagonach.
D. w zbiornikach.
Organizacja procesu przeróbki…
Aby ocenić wzbogacalność rudy, wykreśla się krzywą Mayera, która przedstawia zależność wychodu produktu od
A. uzysku metalu w koncentracie.
B. wychodu pozostałych składników w odpadzie.
C. zawartości metalu w odpadzie.
D. zawartości metalu w koncentracie.
Organizacja procesu przeróbki…
Na rysunku przedstawiono

A. separator strumieniowo-zwojowy.
B. osadnik stożkowy wieloproduktowy.
C. klasyfikator niemechaniczny stożkowy.
D. wzbogacalnik zawiesinowy ośrodkowy.
Obsługa maszyn i urządzeń do …
Do gazów niepalnych należy
A. acetylen.
B. propan butan.
C. ditlenek węgla.
D. metan.
Organizacja procesu przeróbki…
Głównym parametrem jakościowym piasków szklarskich, oprócz zawartości tlenków metali oraz wielkości ziaren jest zawartość
A. substancji organicznej.
B. krzemionki.
C. soli potasowych.
D. siarki.