Filtrowanie pytań

Wybierz zawód, aby zobaczyć dostępne kwalifikacje

Obsługa maszyn i urządzeń do …

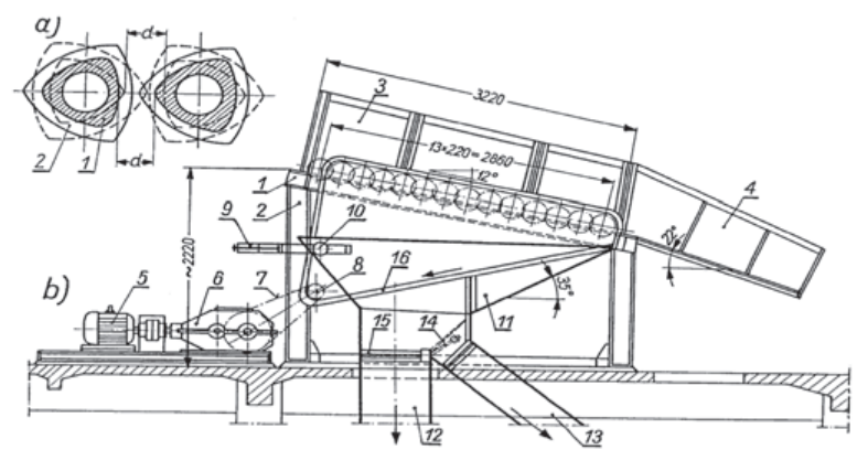
Która usterka jest charakterystyczna dla klasyfikatora zwojowego?

A. Dziurawy króciec ssący.
B. Uszkodzona płyta filtracyjna.
C. Niedrożna dysza wylewu.
D. Uszkodzone pióro spirali.
Obsługa maszyn i urządzeń do …

Do wzbogacania grawitacyjnego węgla kamiennego są stosowane

A. mechaniczno-pneumatyczne maszyny flotacyjne.
B. osadzarki.
C. klasyfikatory zwojowe.
D. wzbogacalniki magnetyczne.
Obsługa maszyn i urządzeń do …

W celu obniżenia stopnia ścierania dysz wylewowych hydrocyklonów wykonuje się je z twardego i odpornego na ścieranie

A. tlenku glinu.
B. polietylenu.
C. żeliwa.
D. węgliku krzemu.
Obsługa maszyn i urządzeń do …

Na rysunku przedstawiającym typowy układ mielenia i klasyfikacji znakiem X oznaczono

Ilustracja do pytania 10
A. kruszarkę stożkową.
B. klasyfikator zwojowy.
C. przesiewacz wibracyjny.
D. młyn stożkowy.
GIW.05 Pytanie 251
Obsługa maszyn i urządzeń do …

Przedstawiony rysunek przedstawia zasadę pracy napędu

Ilustracja do pytania 11
A. elektrycznego.
B. pneumatycznego.
C. mechanicznego.
D. inercyjnego.
Obsługa maszyn i urządzeń do …

Przedstawiony na zdjęciu wygarniak flotownika wygarniapowstałą w procesie wzbogacania flotacyjnego pianę, która zawiera wyflotowane cząstki stałe o właściwościach powierzchniowych

Ilustracja do pytania 15
A. silnie hydrofilnych.
B. zmieniających się.
C. hydrofilnych.
D. hydrofobowych.
GIW.05 Pytanie 258
Obsługa maszyn i urządzeń do …

Jaki element na rysunku oznaczono cyfrą 5?

Ilustracja do pytania 18
A. Silnik napędu.
B. Obudowę napędu.
C. Napęd pneumatyczny.
D. Napęd inercyjny.
Obsługa maszyn i urządzeń do …

W procesie wzbogacania grawitacyjnego na stole koncentracyjnym kontroluje się

A. gęstość cieczy ciężkiej.
B. zawartość mętów.
C. wielkość szczeliny.
D. kąt nachylenia płyty roboczej.
Obsługa maszyn i urządzeń do …

Ferromagnetyczne magnetytowe rudy żelaza, ze względu na wysokie różnice pomiędzy podatnością magnetyczną minerałów użytecznych i nieużytecznych, wzbogaca się w separatorach

A. elektrycznych.
B. flotacyjnych.
C. magnetycznych.
D. grawitacyjnych.
Obsługa maszyn i urządzeń do …

W procesie odwadniania koncentratów miedziowych zagęszczona w zagęszczaczach Dorra zawiesina jest kierowana do

A. suszarek bębnowych.
B. osadników promieniowych.
C. pras ciśnieniowych.
D. wirówek odwadniających.
Obsługa maszyn i urządzeń do …

Która usterka nie dotyczy elementów klasyfikatorów zwojowych?

A. Uszkodzone pióro spirali.
B. Dziurawe sito przelewu.
C. Dziurawe koryto zawrotu.
D. Uszkodzona łopatka statora.
Obsługa maszyn i urządzeń do …

Wzbogacanie węgla kamiennego o uziarnieniu 0,5 – 20 mm prowadzi się

A. we wzbogacalniku DISA.
B. we flotowniku pneumomechanicznym.
C. w separatorze magnetycznym.
D. w osadzarce miałoowej.
Obsługa maszyn i urządzeń do …

Schemat przedstawia przebieg procesu wzbogacania

Ilustracja do pytania 34
A. grawitacyjnego w osadzarce pulsacyjnej.
B. flotacyjnego w maszynie flotacyjnej.
C. grawitacyjnego na stole koncentracyjnym.
D. magnetycznego na separatorze taśmowym.
Obsługa maszyn i urządzeń do …

Które maszyny są stosowane do rozdrabniania i klasyfikacji półproduktów w układach wzbogacania?

A. Osadzarki pulsacyjne i flotowniki.
B. Separatory magnetyczne i flotowniki.
C. Wzbogacalniki zawiesinowe i zagęszczacze.
D. Młyny bębnowe i hydrocyklony.
Obsługa maszyn i urządzeń do …

Urządzenie przedstawione na fotografii, zamontowane w dnie zbiornika buforowego, jest zastosowane do

Ilustracja do pytania 40
A. zamykania nadawy na taśmociąg.
B. kierowania nadawy na taśmociąg.
C. otwierania nadawy na taśmociąg.
D. dozowania nadawy na taśmociąg.