Filtrowanie pytań
Obsługa maszyn i urządzeń do …
A. wysoką przepuszczalnością powietrza.
B. dużą plastycznością.
C. małym zużyciem energii podczas przetwórstwa.
D. dużą wytrzymałością mechaniczną.
Obsługa maszyn i urządzeń do …
Na rysunku przedstawiono

A. luksometr.
B. środkownik.
C. mikrometr.
D. suwmiarkę.
Obsługa maszyn i urządzeń do …
Częścią której z maszyn jest głowica krzyżowa?
A. Napylarki.
B. Zgrzewarki.
C. Termoformierki.
D. Wytłaczarki.
Obsługa maszyn i urządzeń do …
Na rysunku przedstawiono

A. rotametr.
B. woltomierz.
C. amperomierz.
D. wakuometr.
Obsługa maszyn i urządzeń do …
Poprawność mocowania formy na wtryskarce powinna być sprawdzona podczas
A. przeglądu okresowego wtryskarki.
B. kontroli założenia formy.
C. inwentaryzacji form wtryskowych.
D. transportu narzędzia.
Obsługa maszyn i urządzeń do …
Na rysunku przedstawiono element układu plastyfikującego w postaci

A. zaworu.
B. grzałki.
C. dyszy.
D. cylindra.
Obsługa maszyn i urządzeń do …
Fenoplasty zalicza się do tworzyw
A. elastomerowych.
B. termoutwardzalnych.
C. termoplastycznych.
D. chemoutwardzalnych.
Obsługa maszyn i urządzeń do …
Płyty z tworzyw termoplastycznych przetwarzane są w procesie próżniowego
A. termoformowania.
B. kalandrowania.
C. napylania.
D. lekkiego RTM-u.
CHM.01 Pytanie 89
Obsługa maszyn i urządzeń do …
Która z kart powinna zawierać schemat podłączenia układu termostatowania formy wtryskowej?
A. Technologiczna.
B. Kontroli jakości.
C. Wyrobu.
D. Smarowania.
Obsługa maszyn i urządzeń do …
Do wyznaczenia linii prostopadłej do danej krawędzi należy zastosować
A. rysik.
B. liniał.
C. kątownik.
D. znacznik.
Obsługa maszyn i urządzeń do …
Definicja: Wskaźnik szybkości płynięcia WSP (g/min) oznacza masę stopionego tworzywa wytłoczonego przez określoną dyszę, pod określonym obciążeniem, w zadanej temperaturze, w ciągu określonego czasu.
Dla polietylenu stosowanego na folie opakowaniowe wskaźnik WSP = 1,8, natomiast dla stosowanego na folie techniczne wskaźnik WSP = 0,6. Oznacza to, że w przypadku zmiany cyklu produkcji z folii opakowaniowej na opakowania techniczne na godzinną pracę wytłaczarki do produkcji folii technicznych należy przygotować
A. 3-krotnie więcej surowca.
B. 180-krotnie mniej surowca.
C. 180-krotnie więcej surowca.
D. 3-krotnie mniej surowca.
Obsługa maszyn i urządzeń do …
Przedstawionym piktogramem oznaczane są substancje

A. łatwopalne.
B. korozyjne.
C. żrące.
D. utleniające.
Obsługa maszyn i urządzeń do …
Na schemacie hydraulicznym przedstawiony symbol graficzny jest oznaczeniem

A. dławika.
B. siłownika.
C. pompy.
D. przewodu.
Obsługa maszyn i urządzeń do …
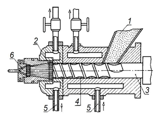
Cyfrą 3 na schemacie wytłaczarki oznaczono

A. dyszę.
B. tłok.
C. ślimak.
D. wał.
Obsługa maszyn i urządzeń do …
Który z przyrządów służy do pomiaru natężenia przepływu płynów?
A. Mikrometr.
B. Luksometr.
C. Termometr.
D. Rotametr.
Obsługa maszyn i urządzeń do …
Do dokręcenia nakrętki przedstawionej na rysunku należy zastosować klucz

A. hakowy.
B. oczkowy.
C. imbusowy.
D. płaski.
Obsługa maszyn i urządzeń do …
W procesie wtrysku wytwarzane są
A. rury wodociągowe.
B. profile okienne.
C. przewody elektryczne.
D. preformy butelek.
Obsługa maszyn i urządzeń do …
Jaką funkcję spełnia w kompozytach korektor parafinowy?
A. Zmniejsza powstawanie linii płynięcia w elementach wtryskiwanych z PC.
B. Umożliwia zróżnicowanie grubości powłok nanoszonych elektrostatycznie.
C. Zapobiega kleistości powierzchni laminatu poliestrowego.
D. Poprawia powstawanie wypływek w elementach wtryskiwanych z PA.
Obsługa maszyn i urządzeń do …
Przedstawiony na rysunku sprawdzian to

A. szczelinomierz.
B. kątownik.
C. środkownik.
D. suwmiarka.
Obsługa maszyn i urządzeń do …
Do której kategorii produkcji należy regranulacja odpadów folii?
A. Przygotowywanie.
B. Formowanie.
C. Kształtowanie.
D. Obrabianie.
Obsługa maszyn i urządzeń do …
Zawór pierścieniowy w procesie wtrysku stosowany jest w celu
A. obniżenia temperatury oleju w układzie hydraulicznym.
B. uniemożliwienia wstecznego przepływu uplastycznionego tworzywa.
C. utrzymania stałego ciśnienia w układzie chłodzenia formy.
D. zwiększenia siły zwarcia w układach kolanowo-dźwigniowych.
Obsługa maszyn i urządzeń do …
Głowica krzyżowa jest oprzyrządowaniem
A. napylarki.
B. zgrzewarki.
C. termoformierki.
D. wytłaczarki.
Obsługa maszyn i urządzeń do …
Na rysunku przedstawiono

A. tokarkę.
B. spawarkę.
C. wtryskarkę.
D. wytłaczarkę.
Obsługa maszyn i urządzeń do …
Na rysunku przedstawiono kształtkę wykorzystywaną w procesie zgrzewania

A. impulsowego.
B. gorącym klinem.
C. mufowego.
D. elektroporowego.
Obsługa maszyn i urządzeń do …
Przedstawiona na rysunku dysza używana jest w procesie spawania

A. gorącym powietrzem.
B. w osłonie argonu.
C. elektrodą otuloną.
D. elektrodą nietopliwą.
Obsługa maszyn i urządzeń do …
Ślimak i cylinder wtryskarki wchodzą w skład układu
A. formującego.
B. odbierającego.
C. napędowego.
D. uplastyczniającego.
CHM.01 Pytanie 107
Obsługa maszyn i urządzeń do …
W którym z wymienionych urządzeń linii do granulacji należy sprawdzić działanie osłony bezpieczeństwa z wyłącznikiem krańcowym?
A. Wytłaczarka.
B. Głowica.
C. Granulator.
D. Wanna powietrzna.
Obsługa maszyn i urządzeń do …
Zgodnie z danymi przedstawionymi w tabeli do rozpuszczenia polietylenu należy użyć
| Nazwa tworzywa | Octan etylu | Cztero-chlorek węgla | Benzen | Aceton | Alkohol etylowy |
|---|---|---|---|---|---|
| Polietylen | − | + | + | − | − |
| Polistyren | + | + | /-/ | + | − |
| Poli(chlorek winylu) | + | /−/ | + | + | − |
| Poliamid | − | /-/ | /-/ | − | − |
| Poliester | − | /- | − | − | − |
| Poli(metakrylan metylu) | + | /-/ | /-/ | + | /-/ |
| + tworzywo rozpuszczalne, − tworzywo nierozpuszczalne, /-/ tworzywo warunkowo odporne | |||||
A. alkoholu etylowego.
B. acetonu.
C. benzenu.
D. octanu etylu.
Obsługa maszyn i urządzeń do …
Osadzaniu się nalotów w formie wtryskowej, spowodowanych zaleganiem cząstek częściowo rozłożonego tworzywa, można zapobiegać poprzez systematyczne
A. mycie formy detergentem.
B. smarowanie formy olejem.
C. czyszczenie formy rozpuszczalnikiem.
D. czyszczenie formy piaskiem.
Obsługa maszyn i urządzeń do …
Podczas spalania którego z tworzyw wyczuwalny jest zapach hiacyntów?
A. PS
B. PE
C. PC
D. PA
Obsługa maszyn i urządzeń do …
Zmniejszenie zjawiska elektryzowania się powierzchni w wyrobach z tworzyw sztucznych uzyskuje się poprzez zastosowanie
A. barwników.
B. antystatyków.
C. antypirenów.
D. poroforów.
Obsługa maszyn i urządzeń do …
Przedstawiony na rysunku element stanowiący część maszyny lub urządzenia to

A. wahacz.
B. odciągnik rolkowy.
C. siłownik hydrauliczny.
D. motoreduktor.
CHM.01 Pytanie 113
Obsługa maszyn i urządzeń do …
Kontrola założenia głowicy wytłaczarki jest wykonywana podczas
A. wymiany i montażu głowicy.
B. smarowania okresowego wytłaczarki.
C. inwentaryzacji głowicy.
D. sprzątania wytłaczarki.
Obsługa maszyn i urządzeń do …
Na podstawie danych w tabeli, określ czas docisku dla wyrobu w postaci osłony kół wykonanych w procesie wtrysku z PP.
| Artykuł | Tworzywo | Czas wtrysku, s | Czas docisku, s |
|---|---|---|---|
| Koła zębate | POM | 2,0 | 8,0 |
| Obudowy kamer | PC GF | 0,7 | 6,0 |
| Listwy wtykowe | PBT | 0,5 | 1,5 |
| Osłony kół | PP | 2,5 | 4,5 |
| Miski kuchenne | PP | 1,5 | 3,0 |
A. 2,0 s
B. 4,5 s
C. 8,0 s
D. 2,5 s
Obsługa maszyn i urządzeń do …
Wanna do przesycania rowingu szklanego używana jest w procesie
A. zgrzewania.
B. nawijania.
C. spawania.
D. wytłaczania.
Obsługa maszyn i urządzeń do …
Synteza poliuretanów jest procesem przyłączania całej cząsteczki monomeru do rosnącej makrocząsteczki bez wydzielenia produktów ubocznych. Reakcja ta nosi nazwę
A. poliaddycji.
B. dimeryzacji.
C. polikondensacji.
D. kopolimeryzacji.
Obsługa maszyn i urządzeń do …
Przedstawiona na rysunku maszyna używana jest w procesie

A. termoformowania.
B. fluidyzacji.
C. wytłaczania.
D. wtrysku.
Obsługa maszyn i urządzeń do …
Przedstawiony na rysunku element instalacji pneumatycznej to

A. kolanko wtykowe.
B. złączka wtykowa przelotowa.
C. złączka wtykowa redukcyjna.
D. rozdzielacz wtykowy.
Obsługa maszyn i urządzeń do …
Na rysunku przedstawiono proces prasowania tłocznego. Elementy prasy oznaczone cyframi 1, 2, 5 oznaczają odpowiednio:

A. 1-stempel, 2-gniazdo formujące, 5- wypychacz.
B. 1-stempel, 2-matrycę, 5-wypychacz.
C. 1-matrycę, 2-gniazdo formujące, 5-stempel.
D. 1-wypychacz, 2-matrycę, 5-stempel.
Obsługa maszyn i urządzeń do …
Z ilu stref geometrycznych składa się uniwersalny ślimak wtryskarki?
A. Siedmiu.
B. Pięciu.
C. Trzech.
D. Jednej.