Filtrowanie pytań
Wytwarzanie prostych wyrobów …
A. Średnica części roboczej 8,0 mm, długość części roboczej 35 mm
B. Średnica części roboczej 8,1 mm, długość części roboczej 27 mm
C. Średnica części roboczej 7,9 mm, długość części roboczej 27 mm
D. Średnica części roboczej 8,0 mm, długość części roboczej 10 mm
Wytwarzanie prostych wyrobów …
Do wysokiego składowania pakietów płyty wiórowej laminowanej w magazynie zamkniętym należy użyć
A. przenośnika taśmowego.
B. wózka widłowego.
C. przenośnika ślimakowego.
D. wózka platformowego.
Wytwarzanie prostych wyrobów …
Na zdjęciu noża do strugarki widoczny jest kąt

A. skrawania.
B. natrcia.
C. ostrza.
D. przyłożenia.
Wytwarzanie prostych wyrobów …
Która przekładnia w obrabiarkach do drewna nie jest zaliczana do przekładni cięgnowych?
A. Łańcuchowa.
B. Pasowa z paskiem klinowym.
C. Pasowa z paskiem płaskim.
D. Zębata.
Wytwarzanie prostych wyrobów …
Która kolejność operacji jest charakterystyczna dla procesu technologicznego wykonania mebla skrzyniowego z płyty wiórowej laminowanej?
A. dobór i trasowanie materiału - wiercenie gniazd pod kołki - oklejanie wąskich powierzchni - formatowanie elementów - wykonywanie wręgów
B. dobór i trasowanie materiału - wykonywanie wręgów - oklejanie wąskich powierzchni - wiercenie gniazd pod kołki - montaż elementów
C. oklejanie wąskich powierzchni - formatowanie elementów - dobór i trasowanie materiału - wiercenie gniazd pod kołki - wykonywanie wręgów
D. dobór i trasowanie materiału - formatowanie elementów - oklejanie wąskich powierzchni - wiercenie gniazd pod kołki - wykonywanie wręgów
Wytwarzanie prostych wyrobów …
Na przodzie szuflady wskazano układ okleiny. Przygotowywana formatka będzie

A. ukośna.
B. poprzeczna.
C. gwiaździsta.
D. wzdłużna.
Wytwarzanie prostych wyrobów …
Do wykonania elementu przedstawionego na rysunku należy zastosować

A. wiertarkę.
B. tokarkę.
C. dłutarkę.
D. czopiarkę.
Wytwarzanie prostych wyrobów …
Do najważniejszych parametrów hydrotermicznej obróbki drewna należą
A. gatunek drewna i temperatura parzenia.
B. czas i temperatura parzenia.
C. wilgotność drewna i czas parzenia.
D. temperatura i wilgotność względna powietrza.
Wytwarzanie prostych wyrobów …
Na dłutarce łańcuchowej wykonuje się gniazda o przekroju
A. kwadratowym.
B. prostokątnym.
C. okrągłym.
D. owalnym.
Wytwarzanie prostych wyrobów …
Wskaźnik wydajności dla tarcicy sosnowej III klasy jakości o grubości 25 mm i długości 1950 mm zgodnie z załączoną tabelą wynosi

A. 31%
B. 28%
C. 25%
D. 29%
Wytwarzanie prostych wyrobów …
Wyrzynek z drewna okrągłego nie może przekraczać długości
A. 1,2 m
B. 2,6 m
C. 2,0 m
D. 1,5 m
Wytwarzanie prostych wyrobów …
Której piły należy użyć do wypiłowania krzywoliniowego kształtu elementu?
A. Płatnicy.
B. Krawężnicy.
C. Otwornicy.
D. Grzbietnicy.
Wytwarzanie prostych wyrobów …
Przedstawiona na zdjęciu prasa służy do klejenia

A. korpusów mebli.
B. płyt wiórowych.
C. elementów giętych.
D. ram okiennych.
Wytwarzanie prostych wyrobów …
Do wyrównania krawędzi okleiny w celu spojenia jej na szerokość stosuje się
A. pilarkę formatową.
B. strugarkę grubościową.
C. gilotynę.
D. formatyzerkę.
Wytwarzanie prostych wyrobów …
Długość łączyny z czopami na obu końcach wynosi

A. 429 mm
B. 390 mm
C. 428 mm
D. 430 mm
Wytwarzanie prostych wyrobów …
W którym połączeniu wzajemne położenie elementów tworzy charakterystyczną literę T?
A. Krzyżowym.
B. Narożnikowym.
C. Półkrzyżowym.
D. Równoległym.
Wytwarzanie prostych wyrobów …
Pokazany na rysunku schemat instalacji do nanoszenia powłok malarsko-lakierniczych na powierzchnie elementów przedstawia metodę natrysku

A. w polu elektrostatycznym.
B. na krawędzi czaszy.
C. w kabinie natryskowej.
D. hydrodynamicznego.
Wytwarzanie prostych wyrobów …
Określ prawidłową kolejność operacji technologicznych wykonania nogi stołu o konstrukcji oskrzyniowej.
A. Manipulacja wstępna, struganie powierzchni bazowych, struganie grubościowo-szerokościowe, piłowanie na dokładny wymiar, szlifowanie, wykonanie gniazd.
B. Manipulacja wstępna, struganie powierzchni bazowych, piłowanie na dokładny wymiar, struganie grubościowo-szerokościowe, wykonanie gniazd, szlifowanie.
C. Manipulacja wstępna, struganie powierzchni bazowych, struganie grubościowo-szerokościowe, piłowanie na dokładny wymiar, wykonanie gniazd, szlifowanie.
D. Manipulacja wstępna, struganie powierzchni bazowych, struganie grubościowo-szerokościowe, szlifowanie, piłowanie na dokładny wymiar, wykonanie gniazd.
Wytwarzanie prostych wyrobów …
Najmniejszy promień gięcia wzdłuż włókien, trójwarstwowej sklejki o grubości 1,5 mm, klejonej klejem mocznikowym wynosi

A. 12 mm
B. 23 mm
C. 18 mm
D. 15 mm
Wytwarzanie prostych wyrobów …
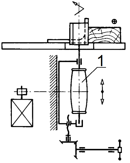
Przedstawiony na ilustracji element obrabiarki służy do

A. rozpierania piłowanego materiału.
B. dociskania obrabianego materiału.
C. ustalania głębokości wiercenia.
D. zmniejszania wibracji narzędzia skrawającego.
Wytwarzanie prostych wyrobów …
Na schemacie przedstawiono działanie

A. szlifierki walcowej.
B. obrabiarki kombinowanej.
C. okleiniarki.
D. strugarki czterostronnej.
Wytwarzanie prostych wyrobów …
Na rysunku przedstawiającym schemat działania frezarki dolnowrzecionowej cyfrą 1 oznaczono

A. frez.
B. silnik.
C. wrzeciono.
D. uchwyt.
Wytwarzanie prostych wyrobów …
Za pomocą którego przyrządu można dokonać kontroli ciśnienia wewnątrz autoklawu?
A. Higrometru.
B. Termometru.
C. Manometru.
D. Barometru.
Wytwarzanie prostych wyrobów …
Na podstawie rysunku odczytaj wysokość drzwi we wręgu.
A. 1721
B. 2020
C. 2030
D. 779
Wytwarzanie prostych wyrobów …
Część tokarki oznaczona strzałką przeznaczona jest do

A. centrowania elementu.
B. wiercenia gniazd w czole elementu.
C. smarowania noża podczas pracy.
D. mocowania toczonego elementu.
Wytwarzanie prostych wyrobów …
Który proces technologiczny jest właściwy dla wykonania nogi taboretu z drewna?
A. 1. piłowanie 2. struganie 3. formatowanie 4. wiercenie 5. szlifowanie
B. 1. piłowanie 2. struganie 3. nawilżanie 4. wiercenie 5. szlifowanie
C. 1. piłowanie 2. struganie 3. czopowanie 4. wiercenie 5. szlifowanie
D. 1. piłowanie 2. struganie 3. prasowanie 4. wiercenie 5. szlifowanie
Wytwarzanie prostych wyrobów …
Na tokarce suportowej stwierdzono utratę gładkości prowadnicy suportu, głębokie rysy i zadziory, co wpływa na pogorszenie jakości toczonych elementów. W celu przywrócenia prowadnicy do dobrego stanu należy
A. zamocować tuleję podpierającą toczony przedmiot.
B. naprawić prowadnicę przez skrobanie i szlifowanie.
C. wymienić suport narzędziowy.
D. zeszlifować nierówności, a następnie doprowadzić prowadnicę do odpowiedniej średnicy przez metalizację natryskową.
Wytwarzanie prostych wyrobów …
Obrabiarki sterowane numerycznie stosuje się w produkcji
A. wielkoseryjnej pojedynczego wyrobu.
B. materiałów podłogowych.
C. zróżnicowanych wzorniczo serii produkcyjnych.
D. elementów konstrukcyjnych mebli tapicerowanych.
Wytwarzanie prostych wyrobów …
Brzegowanie płyt z tworzyw drzewnych ma na celu
A. optymalizację rozkroju.
B. wyrównanie wąskiej powierzchni arkusza.
C. ustalenie kolejności rozkroju.
D. ustalenie liczby formatek.
Wytwarzanie prostych wyrobów …
Na jaką prędkość obrotową, zgodnie z zaleceniami producenta frezarki zawartymi w tabeli, należy ustawić wrzeciono frezarki dolnowrzecionowej, jeśli średnica zewnętrzna freza wynosi 100 mm?

A. 6000 obr/min
B. 9000 obr/min
C. 4500 obr/min
D. 3000 obr/min
Wytwarzanie prostych wyrobów …
W jakiej kolejności należy wykonać prace, aby uzyskać element graniakowy z tarcicy, z czopami prostokątnymi na obu końcach?
A. Suszenie, piłowanie brutto, struganie, formatowanie, wykonanie czopów, szlifowanie.
B. Piłowanie brutto, struganie, formatowanie, wykonanie czopów, szlifowanie, suszenie.
C. Suszenie, piłowanie brutto, wykonanie czopów, struganie, formatowanie, szlifowanie.
D. Suszenie, piłowanie brutto, szlifowanie, struganie, formatowanie, wykonanie czopów.
Wytwarzanie prostych wyrobów …
Drzwiczki wykonane z płyty wiórowej laminowanej uległy zniszczeniu na skutek wyłamania zawiasów puszkowych. W której kolejności należy wykonać czynności podejmowane w celu wymiany drzwiczek?
A. Demontaż drzwiczek, wiercenie, formatowanie, oklejanie, montaż, kontrola jakości.
B. Demontaż drzwiczek, formatowanie, montaż, oklejanie, wiercenie, kontrola jakości.
C. Demontaż drzwiczek, oklejanie, formatowanie, wiercenie, montaż, kontrola jakości.
D. Demontaż drzwiczek, formatowanie, oklejanie, wiercenie, montaż, kontrola jakości.
Wytwarzanie prostych wyrobów …
Uzyskanie na strugarce wyrówniarce określonej grubości struganej warstwy drewna polega na ustawieniu
A. stołu przedniego.
B. stołu tylnego.
C. wału nożowego.
D. wystawania noży.
Wytwarzanie prostych wyrobów …
Urządzenie przedstawione na fotografii stosowane jest do łączenia

A. ścian bocznych.
B. elementów stelaża.
C. płyt roboczych.
D. elementów skrzyni.
Wytwarzanie prostych wyrobów …
Do manipulacji bali sosnowych na długość należy zastosować pilarkę tarczową
A. formatową.
B. wzdłużną.
C. rozdzielczą.
D. poprzeczną.
Wytwarzanie prostych wyrobów …
O którą operację należy uzupełnić wykaz operacji potrzebnych do wykonania elementu z drewna litego pokazanego na rysunkach?

A. Toczenia.
B. Fazowania.
C. Frezowania.
D. Okleinowania.
Wytwarzanie prostych wyrobów …
Który sposób wykonania jest właściwy dla uzyskania krzywoliniowego kształtu elementów krzesła widocznego na rysunku?

A. Piłowanie elementów drewnianych na pilarce taśmowej.
B. Gięcie warstw drewna z równoczesnym klejeniem.
C. Gięcie łat drewnianych.
D. Użycie naturalnie ukształtowanych przez naturę elementów.
Wytwarzanie prostych wyrobów …
Odległość klina rozszczepiającego względem wysokości tarczy piły powinna wynosić
A. 4 mm powyżej tarczy.
B. 4 mm poniżej tarczy.
C. 2 mm powyżej tarczy.
D. 2 mm poniżej tarczy.
Wytwarzanie prostych wyrobów …
Zbyt mały nacisk prasy na powierzchnię płytową podczas okleinowania może doprowadzić do powstania
A. przebić klejowych.
B. pęcherzy powietrznych.
C. przebarwień okleiny.
D. pęknięć okleiny.
Wytwarzanie prostych wyrobów …
Na podstawie danych zawartych w tabeli dobierz czas parzenia elementów z drewna dębowego o grubości 18 mm.

A. 60÷70 min
B. 75÷90 min
C. 25÷30 min
D. 40÷50 min