Filtrowanie pytań
Wytwarzanie prostych wyrobów …
A. Dobór materiału, szlifowanie, formatowanie, demontaż łączyny, montaż łączyny.
B. Demontaż łączyny, formatowanie, dobór materiału, szlifowanie, montaż łączyny.
C. Demontaż łączyny, dobór materiału, formatowanie, szlifowanie, montaż łączyny.
D. Formatowanie, demontaż łączyny, szlifowanie, dobór materiału, montaż łączyny.
Wytwarzanie prostych wyrobów …
Na podstawie danych zawartych w tabeli określ, do którego sortymentu tarcicy obrzynanej należy zaliczyć tarcicę o wymiarach 100 x 150 mm.

A. Krawędziaki.
B. Listwy.
C. Belki.
D. Łaty.
Wytwarzanie prostych wyrobów …
Na podstawie danych zawartych w tabeli określ najmniejszy promień gięcia wzdłuż włókien sklejki pięciowarstwowej o grubości 3 mm klejonej klejem mocznikowym.

A. 20 mm
B. 30 mm
C. 12 mm
D. 37 mm
Wytwarzanie prostych wyrobów …
Do której grupy wad drewna należy zaliczyć pokazaną na rysunku wadę?

A. Sęków.
B. Wad budowy.
C. Wad kształtu.
D. Pęknięć.
Wytwarzanie prostych wyrobów …
Przedstawiona na zdjęciu wstawka przeznaczona jest do uzupełnienia ubytków po

A. pęknięciach czołowych.
B. kanałach żywicznych.
C. rysach poprzecznych.
D. sękach okrągłych.
Wytwarzanie prostych wyrobów …
Wymiary netto elementu z tarcicy wynoszą 240 x 75 x 15 mm. Jakie były wymiary brutto, jeżeli naddatki na obróbkę dla tego elementu wynoszą: na długość 20 mm, na szerokość i na grubość 6 mm?
A. 246 x 90 x 35 mm
B. 260 x 81 x 15 mm
C. 260 x 81 x 21 mm
D. 246 x 95 x 21 mm
Wytwarzanie prostych wyrobów …
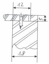
Na podstawie szczegółu konstrukcyjnego i oznaczenia graficznego, określ z jakiego materiału wykonano ściankę tylną do szafki.

A. Sklejki.
B. Płyty HDF.
C. Płyty pilśniowej
D. Płyty MDF.
Wytwarzanie prostych wyrobów …
Na którym rysunku pokazano kształt próbki widłowej typowej dla drewna, którego suszenie dopiero się zaczęło?
A. Rysunek 1

B. Rysunek 4

C. Rysunek 2

D. Rysunek 3

Wytwarzanie prostych wyrobów …
Poprzez sklejenie drobnych zrębków drzewnych otrzymuje się płytę
A. komórkową.
B. MDF.
C. wiórową.
D. stolarską.
DRM.03 Pytanie 170
Wytwarzanie prostych wyrobów …
Na rysunku przedstawiono szczegół połączenia elementów szafki w przekroju. Cyfrą 1 oznaczono element wykonany

A. z tarcicy.
B. z płyty pilśniowej.
C. ze sklejki.
D. z płyty wiórowej.
Wytwarzanie prostych wyrobów …
Szuflada komody, której elementy zostały poprawnie wykonane z drewna litego, po pewnym czasie użytkowania zaczęła na całej długości stawiać opór podczas wysuwania. Przyczyną zaistniałego uszkodzenia najprawdopodobniej jest
A. dobranie zbyt długich elementów na boki szuflady.
B. spęcznienie elementów szuflady.
C. dobranie zbyt krótkich elementów na boki szuflady.
D. zastosowanie prowadnic niewłaściwej długości.
Wytwarzanie prostych wyrobów …
Ile sztuk jednobarwnej płyty wiórowej laminowanej o wymiarach 1220 x 2500 mm należy przygotować do wykonania 10 regałów, zgodnie z podanym wykazem materiałów?

A. 2 szt.
B. 6 szt.
C. 4 szt.
D. 8 szt.
Wytwarzanie prostych wyrobów …
W jakiej temperaturze należy suszyć drewno, by uzyskało wilgotność 10%, przy wilgotności względnej powietrza 60%?

A. 25°C
B. 40°C
C. 50°C
D. 60°C
Wytwarzanie prostych wyrobów …
W którym magazynie należy składować graniaki po obróbce mechanicznej, przygotowane do toczenia?
A. Materiałów podstawowych.
B. Materiałów pomocniczych.
C. Międzyoperacyjnym.
D. Wyrobów gotowych.
Wytwarzanie prostych wyrobów …
Przedstawiona na rysunku piła przeznaczona jest do ręcznego

A. narzynania drewna na określoną głębokość.
B. zgrubnego cięcia drewna wzdłuż włókien.
C. wyrzynania w drewnie krzywoliniowych zarysów.
D. precyzyjnego cięcia drewna w poprzek włókien.
Wytwarzanie prostych wyrobów …
Szare smugi widoczne na powierzchni elementów przedstawionych na ilustracji powstały w wyniku

A. działania grzybów.
B. niskiej wilgotności drewna.
C. żerowania owadów.
D. ujemnej temperatury powietrza.
Wytwarzanie prostych wyrobów …
Który składnik należy umieścić jako pierwszy w mieszarce w celu przygotowania masy klejowej?
A. Wypełniacz.
B. Utwardzacz.
C. Żywicę.
D. Rozpuszczalnik.
Wytwarzanie prostych wyrobów …
Podczas strugania wyrównującego materiału o grubości poniżej 50 mm na strugarce wyrówniarce zaobserwowano wyrywanie włókien, powstawanie nierówności i chropowatości. Przyczyną jest
A. zbyt mała prędkość posuwu.
B. kierunek posuwu materiału niezgodny z kierunkiem przebiegu włókien drzewnych.
C. zbyt mała grubość warstwy skrawanej.
D. ręczny posuw materiału struganego.
Wytwarzanie prostych wyrobów …
Składnikiem przyśpieszającym proces sieciowania lakieru poliuretanowego jest
A. utwardzacz.
B. katalizator.
C. rozpuszczalnik.
D. wypełniacz.
Wytwarzanie prostych wyrobów …
W celu zwiększenia lepkości mieszaniny klejowej kleju mocznikowo-formaldehydowego należy dodać
A. żywicy.
B. wypełniacza.
C. utwardzacza.
D. katalizatora.
Wytwarzanie prostych wyrobów …
Który strug stosowany jest do strugania dłuższych elementów?
A. Spust stolarski.
B. Gładzik.
C. Równiak.
D. Zdzierak.
Wytwarzanie prostych wyrobów …
Operator suszarni konwekcyjnej komorowej powinien kontrolować
A. ciśnienie powietrza atmosferycznego.
B. kierunek i szybkość ruchu powietrza.
C. barwę suszonego materiału.
D. grubość suszonych desek.
Wytwarzanie prostych wyrobów …
Które nieobrzynane materiały tarte mają grubość od 50 do 100 mm?
A. Deski.
B. Bale.
C. Belki.
D. Łaty.
Wytwarzanie prostych wyrobów …
Na podstawie wyciągu z katalogu wskaźników wydajności materiałów stosowanych do produkcji mebli odczytaj, ile procent wynosi wydajność dla elementu z drewna o wymiarach 950 mm x 300 mm x 26 mm w II klasie jakości?

A. 30%
B. 29%
C. 32%
D. 28%
Wytwarzanie prostych wyrobów …
Wada drewna przedstawiona na fotografii to

A. pęcherz żywiczny.
B. skręt włókien.
C. sęk otwarty.
D. zgnilizna miękka.
Wytwarzanie prostych wyrobów …
Chcesz otrzymać fryzy bukowe o wilgotności nominalnej i wymiarach brutto 1000 x 120 x 57 mm. Tarcica w stanie mokrym, z której będą robione fryzy, będzie miała grubość
A. 53 mm
B. 60 mm
C. 128 mm
D. 61 mm
Wytwarzanie prostych wyrobów …
Graficzne oznaczenie przekroju płyty MDF przedstawiono na rysunku
A. Rysunek I.

B. Rysunek III.

C. Rysunek II.

D. Rysunek IV.

Wytwarzanie prostych wyrobów …
Na podstawie danych zawartych w tabeli dobierz klej, którego użycie do klejenia złączy wykonanych z drewna litego zapewni uzyskanie wytrzymałości spoiny na sucho, wynoszącą 17 MPa i bardzo dobrą odporność na obciążenia dynamiczne i statyczne.

A. Mocznikowy.
B. Melaminowy.
C. Kazeinowy.
D. Polioctanowinylowy.
Wytwarzanie prostych wyrobów …
Na mechaniczne właściwości drewna nie wpływa jego
A. budowa.
B. barwa.
C. wilgotność.
D. gęstość.
Wytwarzanie prostych wyrobów …
Do konserwacji i czyszczenia pistoletu natryskowego po lakierowaniu lakierem nitrocelulozowym należy zastosować
A. rozpuszczalnik.
B. olej.
C. utwardzacz.
D. wodę.
Wytwarzanie prostych wyrobów …
Ile wynosi miąższość deski o wymiarach: grubość 25 mm, szerokość 200 mm, długość 3,0 m?
A. 0,0015 m³
B. 0,015 m³
C. 1,5 m³
D. 0,15 m³
Wytwarzanie prostych wyrobów …
Przyrząd pokazany na zdjęciu służy do określenia

A. wilgotności drewna.
B. gęstości drewna.
C. połysku drewna.
D. gładkości drewna.
Wytwarzanie prostych wyrobów …
Tolerancja wymiarowa to różnica między wymiarami
A. nominalnymi.
B. granicznymi.
C. rzeczywistymi.
D. gabarytowymi.
Wytwarzanie prostych wyrobów …
Rysunek przedstawia oznaczenie graficzne płyty

A. sklejki.
B. pilśniowej MDF.
C. wiórowej.
D. pilśniowej twardej.
Wytwarzanie prostych wyrobów …
Operację przygotowania powierzchni drewna litego pod powłoki malarsko-lakiernicze przeprowadza się
A. po położeniu podkładu.
B. bezpośrednio po struganiu wąskich płaszczyzn.
C. przed barwieniem drewna.
D. po wstępnym barwieniu drewna.
Wytwarzanie prostych wyrobów …
Na podstawie wykresu określ ciepło właściwe drewna o wilgotności 50% i temperaturze 90°C.

A. 0,6 kcal/kg°C
B. 0,8 kcal/kg°C
C. 0,9 kcal/kg°C
D. 0,7 kcal/kg°C
Wytwarzanie prostych wyrobów …
Do drewna wielkowymiarowego zaliczane jest drewno okrągłe, którego średnica minimalna mierzona w cieńszym końcu bez kory wynosi
A. 15 cm
B. 13 cm
C. 16 cm
D. 14 cm
Wytwarzanie prostych wyrobów …
Prawidłowo zabezpieczone czoła tarcicy przed nadmiernym nasłonecznieniem zapobiegają przed ich
A. pęcznieniem.
B. zsarzeniem.
C. gniciem.
D. pękaniem.
Wytwarzanie prostych wyrobów …
Którą z wymienionych technik nanoszenia materiałów malarsko-lakierniczych cechują najmniejsze straty materiału?
A. Polewanie.
B. Natrysk pneumatyczny.
C. Malowanie walcami.
D. Natrysk hydrodynamiczny.
Wytwarzanie prostych wyrobów …
Ile wynosi temperatura wody w basenach warzelinanych podczas uplastyczniania drewna przy produkcji sklejki w okresie letnim?
A. 81÷85°C
B. 71÷80°C
C. 40÷65°C
D. 25÷39°C