Filtrowanie pytań
Wytwarzanie prostych wyrobów …
A. konwekcyjną.
B. pojemnościową.
C. stykową.
D. promiennikową.
Wytwarzanie prostych wyrobów …
Prasę hydrauliczną jednopółkową stosuje się do
A. okleinowania szerokich płaszczyzn fornirem.
B. klejenia drewna litego na długość.
C. okleinowania powierzchni głęboko profilowanych płyt MDF.
D. klejenia płyt wiórowych na długość.
Wytwarzanie prostych wyrobów …
Narzędzie przedstawione na ilustracji należy zastosować do wykonania

A. skosu.
B. profilu.
C. otworu.
D. gniazda.
Wytwarzanie prostych wyrobów …
Który rodzaj obróbki należy zastosować do wykonania płytkich gniazd pod zawiasy puszkowe?
A. Frezowanie.
B. Wiercenie.
C. Struganie.
D. Czopowanie.
Wytwarzanie prostych wyrobów …
Który z wymienionych elementów nie musi być obowiązkowo zamontowany w pilarce tarczowej stolarskiej?
A. Wyłącznik bezpieczeństwa.
B. Klin rozszczepiający.
C. Osłona piły.
D. Przykładnia boczna.
Wytwarzanie prostych wyrobów …
Jakie czynności należy wykonać w celu zwiększenia gładkości powierzchni elementów z drewna litego, frezowanych na frezarce dolnowrzecionowej?
A. Zmniejszyć prędkość posuwu materiału.
B. Zmniejszyć obroty wrzeciona.
C. Zwiększyć grubość warstwy skrawanej podczas frezowania.
D. Wyrównać obwód skrawania noży.
Wytwarzanie prostych wyrobów …
Przy piłowaniu wzdłużnym krótkich elementów w celu zapewnienia większego bezpieczeństwa należy zastosować
A. popychacz.
B. wzornik.
C. osłonę Filarskiego.
D. posuw mechaniczny.
Wytwarzanie prostych wyrobów …
Które wyposażenie, zapewniające bezpieczną pracę, posiada obrabiarka przedstawiona na ilustracji?

A. Kaptur ochronny.
B. Popychacz.
C. Osłonę wachlarzową wału.
D. Grzebień dociskowy.
Wytwarzanie prostych wyrobów …
Stół przedstawiony na rysunku ma konstrukcję

A. stojakową.
B. oskrzyniową.
C. bezoskrzyniową.
D. deskową.
Wytwarzanie prostych wyrobów …
W celu pozyskania fryzów, wstępną manipulację cięcia przeprowadza się na pilarkach
A. formatowej i poprzecznej.
B. formatowej i wzdłużnej.
C. poprzecznej i wzdłużnej.
D. taśmowej i wzdłużnej.
Wytwarzanie prostych wyrobów …
Wyrywania włókien podczas strugania elementów z drewna mogą powstać w wyniku strugania
A. zbyt ostrymi nożami.
B. ze zbyt małą prędkością posuwu.
C. niezgodnie z przebiegiem włókien.
D. zgodnie z przebiegiem włókien.
Wytwarzanie prostych wyrobów …
Do pomiaru głębokości gniazd na kołki konstrukcyjne służy
A. miara zwijana.
B. mikrometr.
C. szczelinomierz.
D. suwmiarka.
Wytwarzanie prostych wyrobów …
Imitacja rysunku drewna polegająca na nakładaniu kilku warstw farby, to technika zwana
A. fladrowaniem.
B. inkrustacją.
C. snycerką.
D. intarsją.
Wytwarzanie prostych wyrobów …
Przyrząd kontrolno-pomiarowy przedstawiony na rysunku to

A. grubościomierz elektroniczny.
B. czujnik zegarowy.
C. mikrometr.
D. szczelinomierz.
Wytwarzanie prostych wyrobów …
Przysiek to dłuto wykorzystywane do
A. wykonywania płaskorzeźby.
B. toczenia tralek.
C. fazowania krawędzi.
D. dłutowania gniazd.
Wytwarzanie prostych wyrobów …
Na przedstawionej ilustracji element drewniany jest zamocowany do stołu obrabiarki za pomocą docisku

A. mimośrodowego.
B. sprężynowego.
C. śrubowego.
D. pneumatycznego.
Wytwarzanie prostych wyrobów …
Drewno przeznaczone do pozyskania okleiny należy bezpośrednio przed skrawaniem poddać obróbce
A. łupaniem na składzie surowca.
B. chemicznej na wolnym powietrzu.
C. fizykochemicznej w komorach.
D. hydrotermicznej w dołach parzelnianych.
Wytwarzanie prostych wyrobów …
Starą politurę w naprawianych meblach stylowych można zachować przez jej odnowienie, jeżeli na powierzchni elementów
A. wykonano większe wstawki z okleiny.
B. są wyraźne uszkodzenia mechaniczne.
C. występują niewielkie przeswity.
D. wykonano wstawki z drewna.
DRM.03 Pytanie 59
Wytwarzanie prostych wyrobów …
Jaką konstrukcję mebla szkieletowego pokazano na zdjęciu?

A. Deskową.
B. Oskrzyniową.
C. Stojakową.
D. Kolumnową.
Wytwarzanie prostych wyrobów …
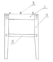
Na rysunku podzespołu taboretu, łącznik oznaczono literą

A. d
B. b
C. a
D. c
Wytwarzanie prostych wyrobów …
Na rysunku kłody cyfrą 3 oznaczono przekrój drewna

A. czołowy.
B. promieniowy.
C. styczny.
D. boczny.
Wytwarzanie prostych wyrobów …
Z jakiego materiału wykonano siedzisko taboretu zgodnie z przedstawionym rysunkiem?

A. Z płyty wiórowej.
B. Z płyty MDF.
C. Ze sklejki.
D. Z drewna.
Wytwarzanie prostych wyrobów …
Jaką kolejność operacji należy zastosować przy wykonywaniu przedstawionego na rysunku elementu meblowego z płyty wiórowej laminowanej, którego jedna wąska dłuższa płaszczyzna zabezpieczona jest taśmą obrzeżową?

A. Piłowanie brutto, piłowanie netto, zabezpieczenie wąskiej płaszczyzny, wiercenie frezowanie.
B. Piłowanie netto, wiercenie, frezowanie, szlifowanie szerokich płaszczyzn, zabezpieczenie wąskiej płaszczyzny.
C. Piłowanie brutto, struganie szerokich płaszczyzn, wiercenie, zabezpieczenie wąskiej płaszczyzny, frezowanie.
D. Piłowanie netto, piłowanie brutto, zabezpieczenie wąskiej płaszczyzny, wiercenie, frezowanie.
Wytwarzanie prostych wyrobów …
Do ręcznego nacinania wczepin, podczas wykonywania złącza wczepowego, najlepiej użyć piły
A. krawężnicy.
B. grzbietnicy.
C. otwornicy.
D. płatnicy.
Wytwarzanie prostych wyrobów …
Część przekroju poprzecznego pnia drzewa zaznaczona na rysunku strzałką to

A. rdzeń.
B. twardziel.
C. biel.
D. łyko.
Wytwarzanie prostych wyrobów …
Stół przedstawiony na ilustracji posiada konstrukcję

A. oskrzyniową.
B. kolumnową.
C. krzyżakową.
D. stojakową.
Wytwarzanie prostych wyrobów …
Do wykonania mebli drewnianych ogrodowych należy zastosować drewno o wilgotności użytkowej
A. od 6% do 8%
B. od 9% do 12%
C. od 13% do 22%
D. od 28% do 30%
Wytwarzanie prostych wyrobów …
Do wytrasowania desek długości 4,8 m i szerokości 200 mm z tarcicy nieobrzynanej grubości 32 mm oprócz ołówka należy użyć
A. przymiaru kątowego, liniału i miary zwijanej stalowej.
B. znacznika, cyrkla nastawnego i liniału.
C. metrówki, liniału i kątownika nastawnego.
D. macek, kątownika nastawnego, przymiaru metrowego.
Wytwarzanie prostych wyrobów …
Do którego rodzaju uszkodzeń należy zaliczyć uszkodzenie krzesła pokazanego na rysunku?

A. Odkształceń ramiaka.
B. Uszkodzeń połączeń konstrukcyjnych.
C. Uszkodzeń powierzchni.
D. Pęknięć elementów.
Wytwarzanie prostych wyrobów …
Jeżeli tył szuflady wpuszczony jest w bok szuflady, a elementy o grubości 18 mm połączono za pomocą kołków konstrukcyjnych o długości 36 mm, to głębokość gniazda w boku wynosi
A. 13 mm
B. 25 mm
C. 12 mm
D. 24 mm
Wytwarzanie prostych wyrobów …
Użytkowanie szuflady doprowadziło do wypadnięcia kulek i uszkodzenia koszyka łożyska prowadnicy szufladowej. Naprawa powinna polegać na
A. wymianie szuflady.
B. naprawie uszkodzonego koszyka łożyska.
C. włożeniu wypadniętych kulek.
D. wymianie prowadnicy kulkowej.
Wytwarzanie prostych wyrobów …
W produkcji wielkoseryjnej do klejenia drewna na szerokość należy dobrać
A. sklejarkę membranową.
B. prasę jednopółkową.
C. prasę wielopółkową.
D. sklejarkę zwornicową.
Wytwarzanie prostych wyrobów …
Do wykonania gniazd w elementach krzesła ogrodowego, przedstawionych na ilustracji, należy zastosować

A. strug.
B. piłę.
C. świder.
D. dłuto.
Wytwarzanie prostych wyrobów …
Wkręt typu konfirmat przedstawiono na ilustracji
A. Ilustracja II.

B. Ilustracja III.

C. Ilustracja IV.

D. Ilustracja I.

Wytwarzanie prostych wyrobów …
Przy piłowaniu z użyciem prowadnicy narasta opór posuwu oraz zwiększa się szerokość na końcu elementu. Przyczyną takiego stanu jest
A. niewłaściwa prędkość posuwu.
B. złe rozwarcie piły.
C. stępienie się piły.
D. złe ustawienie prowadnicy.
Wytwarzanie prostych wyrobów …
Podczas pracy na frezarce górnowrzecionowej zauważono zwiększony hałas, pogorszenie się jakości frezowanej powierzchni oraz zwiększony pobór mocy. Co należy zrobić, aby to wyeliminować?
A. Zwiększyć prędkość posuwu materiału.
B. Naostrzyć narzędzia.
C. Zwiększyć obroty wrzeciona.
D. Zmniejszyć prędkość posuwu materiału.
Wytwarzanie prostych wyrobów …
Twarde gatunki drewna to:
A. dąb, jesion, grab, orzech.
B. buk, brzoza, dąb, sosna.
C. buk, olcha, topola, jesion.
D. dąb, brzoza, olcha, orzech.
Wytwarzanie prostych wyrobów …
W który sposób należy zabezpieczyć elementy bukowe biurka wykończone na wysoki połysk na czas transportu?
A. Obłożyć każdy papierem i owinąć folią.
B. Złożyć po dwa lewymi stronami.
C. Złożyć po dwa prawymi stronami.
D. Ułożyć elementy w stos i ściągnąć taśmą.
Wytwarzanie prostych wyrobów …
Wskaż właściwą kolejność operacji przy ręcznym wykonywaniu złącza czopowego.
A. Trasowanie, odsadzanie, nacinanie.
B. Trasowanie, nacinanie, odsadzanie.
C. Nacinanie, trasowanie, odsadzanie.
D. Odsadzanie, trasowanie, nacinanie.
Wytwarzanie prostych wyrobów …
Pokazany na rysunku przekrój dotyczy

A. czoła szuflady z uchwytem.
B. poręczy schodów.
C. listwy z ornamentem.
D. połączenia półkrzyżowego listew profilowych.