Filtrowanie pytań
 Eksploatacja i programowanie … 
A. Licznik dwukierunkowy
B. Timer TON
C. Multiplekser analogowy
D. Regulator PID
 Montaż, uruchamianie i konser… 
Na rysunku przedstawiono przekrój siłownika pneumatycznego

A. tandemu.
B. wielopołożeniowego.
C. udarowego.
D. tłokowego.
 Montaż, uruchamianie i konser… 
Pracownik obsługujący urządzenia pneumatyczne generujące wibracje powinien mieć na sobie
A. kask ochronny
B. buty na gumowej podeszwie
C. okulary ochronne
D. fartuch ochronny
 Eksploatacja i programowanie … 
W jaki sposób powinno się zdefiniować dane w programach sterowników PLC, które mają postać sekwencji znaków lub cyfr, przy czym cyfry traktowane są jedynie jako znaki (bez przypisanej wartości)?
A. STRING
B. BYTE
C. USINT
D. WORD
 Eksploatacja i programowanie … 
Jaka jest podstawowa funkcja przekaźnika w układach elektrycznych?
A. Zwiększanie napięcia w układzie
B. Przełączanie obwodów elektrycznych
C. Stabilizacja prądu
D. Ochrona przed przepięciami
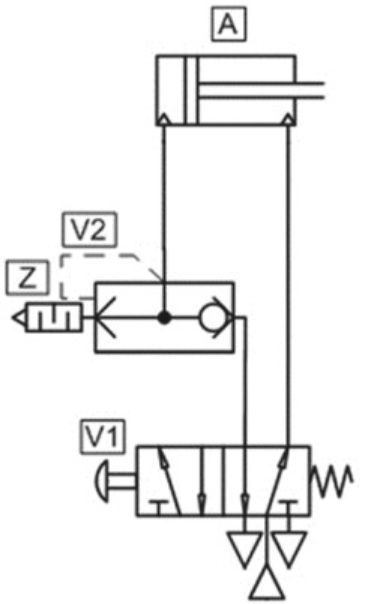
 Montaż, uruchamianie i konser… 
Jaką funkcję pełni element V2 w układzie przedstawionym na rysunku?

A. Zmniejsza prędkość wsuwania tłoka siłownika.
B. Zmniejsza prędkość wysuwania tłoka siłownika.
C. Zwiększa prędkość wsuwania tłoka siłownika.
D. Zwiększa prędkość wysuwania tłoka siłownika.
 Eksploatacja i programowanie … 
Które polecenie umożliwi przeniesienie programu z komputera do sterownika PLC?
A. Erase Memory
B. Upload
C. Write
D. Download
 Eksploatacja i programowanie … 
Które z wymienionych w tabeli czynności wchodzą w zakres oględzin napędu mechatronicznego, w którym elementem wykonawczym (napędowym) jest silnik komutatorowy? 
 
| Lp. | Czynność | 
|---|---|
| 1. | Sprawdzanie skuteczności chłodzenia elementów energoelektronicznych | 
| 2. | Sprawdzanie stanu pierścieni ślizgowych i komutatorów | 
| 3. | Pomiar temperatury obudowy i łożysk | 
| 4. | Sprawdzanie stanu szczotek i szczotkotrzymaczy | 
| 5. | Sprawdzanie jakości połączeń elementów urządzenia | 
A. 2, 4, 5
B. 2, 3, 5
C. 1, 2, 4
D. 1, 2, 3
 Montaż, uruchamianie i konser… 
Rysunek przedstawia siłownik pneumatyczny o mocowaniu
A. z uchem.
B. wahliwym.
C. gwintowym.
D. kołnierzowym.
 Montaż, uruchamianie i konser… 
Co należy uczynić w przypadku rany z krwotokiem tętniczym?
A. przemyć ranę wodą utlenioną i oczekiwać na pomoc medyczną
B. założyć opaskę uciskową powyżej miejsca urazu
C. położyć poszkodowanego w pozycji bocznej ustalonej i czekać na pomoc medyczną
D. nałożyć opatrunek z jałowej gazy bezpośrednio na ranę
 Eksploatacja i programowanie … 
Jaka liczba w systemie heksadecymalnym odpowiada liczbie binarnej 1010110011BIN?
A. 1F3H
B. 10EH
C. 2B3H
D. 1A4H
 Eksploatacja i programowanie … 
Jakie czujniki mogą dostarczać dane do sterownika PLC o poziomie cieczy nieprzewodzącej w zbiorniku mechatronicznym działającym jako niezależny system napełniania i dozowania?
A. Pojemnościowe
B. Indukcyjne
C. Termoelektryczne
D. Magnetyczne
 Montaż, uruchamianie i konser… 
Aby połączyć dwa stalowe elementy w procesie zgrzewania, należy
A. docisnąć je podczas podgrzewania miejsca łączenia.
B. wprowadzić płynne spoiwo pomiędzy te elementy.
C. stopić je w miejscu zetknięcia bez użycia spoiwa.
D. stopić je w miejscu styku z użyciem spoiwa.
 Eksploatacja i programowanie … 
Który z parametrów nie odnosi się do frezarki CNC?
A. Maksymalna prędkość ruchu dla poszczególnych osi
B. Powtarzalność pozycjonowania
C. Gramatura wtrysku
D. Liczba wrzecion
 Eksploatacja i programowanie … 
Aby dokładnie ustalić kątową pozycję, przemieszczenie oraz zliczyć obroty silnika w systemie mechatronicznym, używa się
A. akcelerometr
B. enkoder
C. czujnik ultradźwiękowy
D. licznik
 Eksploatacja i programowanie … 
Jakie działania regulacyjne powinny zostać przeprowadzone w napędzie mechatronicznym opartym na przemienniku częstotliwości oraz silniku indukcyjnym, aby zwiększyć prędkość obrotową wirnika bez zmiany wartości poślizgu?
A. Zwiększyć wartość napięcia zasilającego
B. Proporcjonalnie zwiększyć wartość częstotliwości oraz napięcia zasilającego
C. Proporcjonalnie zmniejszyć wartość częstotliwości oraz napięcia zasilającego
D. Obniżyć wartość częstotliwości napięcia zasilającego
 ELM.03  Pytanie 97 
 Montaż, uruchamianie i konser… 
Co znaczy zaświecenie czerwonej diody oznaczonej skrótem BATF na panelu kontrolnym sterownika PLC?
A. Brak baterii podtrzymującej zasilanie
B. Tryb wstrzymania CPU
C. Potrzeba zmian w parametrach programu
D. Tryb funkcjonowania CPU
 Montaż, uruchamianie i konser… 
Na podstawie tabeli z kodami paskowymi rezystorów określ rezystancję rezystora oznaczonego paskami w kolejności: pomarańczowy, niebieski, czarny. 
 
| kolor | 1. cyfra | 2. cyfra | mnożnik | 
|---|---|---|---|
| czarny | 0 | 0 | 100 | 
| brązowy | 1 | 1 | 101 | 
| czerwony | 2 | 2 | 102 | 
| pomarańczowy | 3 | 3 | 103 | 
| żółty | 4 | 4 | 104 | 
| zielony | 5 | 5 | 105 | 
| niebieski | 6 | 6 | 106 | 
| fioletowy | 7 | 7 | 107 | 
| szary | 8 | 8 | 108 | 
| biały | 9 | 9 | 109 | 
A. 3600 Ω
B. 360 Ω
C. 36 000 Ω
D. 36 Ω
 Eksploatacja i programowanie … 
Który kabel w sieci elektrycznej zasilającej silnik trójfazowy jest oznaczony izolacją w kolorze żółto-zielonym?
A. Neutralny
B. Sterujący
C. Ochronny
D. Fazowy
 Eksploatacja i programowanie … 
Aby zmienić wartość skoku gwintu, należy dostosować wartość numeryczną obok litery adresowej
N100 G00 X55 Z5
 N110 T3 S80 M03
 N120 G31 X50 Z-30 D-2 F3 Q3
A. Q (promień wodzący)
B. T (wybór narzędzia)
C. D (korektor narzędzia)
D. F (prędkość posuwu)
 Montaż, uruchamianie i konser… 
Elastyczny przewód elektryczny, służący do łączenia elementów systemu elektrycznego w aplikacjach mechatronicznych, powinien być
A. zakończony na końcach tulejkami
B. odizolowany na dowolną długość
C. równo przycięty na końcach
D. zaizolowany na końcach
 Montaż, uruchamianie i konser… 
Jaki środek smarny powinien być regularnie uzupełniany w smarownicy sprężonego powietrza?
A. Silikon
B. Olej
C. Pastę
D. Towot
 Eksploatacja i programowanie … 
W systemie Komputerowo Zintegrowanego Wytwarzania (CIM) za co odpowiada moduł RDP?
A. organizowanie i zarządzanie produkcją
B. komputerowe wspomaganie produkcji
C. rejestrowanie danych procesowych
D. komputerowo wspomagane projektowanie
 Eksploatacja i programowanie … 
Jaką z wymienionych czynności można przeprowadzić podczas pracy silnika prądu stałego?
A. Dokręcić śruby mocujące silnik do podłoża
B. Przeczyścić odpowiednimi środkami elementy wirujące silnika
C. Wymienić szczotki komutatora
D. Wyczyścić łopatki wentylatora
 Montaż, uruchamianie i konser… 
W siłowniku działającym w obie strony o średnicy tłoka D = 20 mm oraz efektywności 0,8, zasilanym ciśnieniem p = 0,6 MPa, teoretyczna siła przy wysunięciu siłownika wynosi około
A. 150 N
B. 160 N
C. 140 N
D. 130 N
 ELM.03  Pytanie 106 
 Montaż, uruchamianie i konser… 
Czujnik indukcyjny, którego dane techniczne przedstawiono w tabeli, może pracować w układzie elektrycznym o następujących parametrach: 
 
| Typ czujnika | indukcyjny | 
| Konfiguracja wyjścia | 2-przewodowy NO | 
| Zasięg | 0÷4 mm | 
| Napięcie zasilania | 15÷34V DC | 
| Obudowa czujnika | M12 | 
| Przyłącze | przewód 2 m | 
| Klasa szczelności | IP67 | 
| Prąd pracy max. | 25 mA | 
| Temperatura pracy | -25÷70°C | 
| Rodzaj czoła | wysunięte | 
| Częstotliwość przełączania maks. | 300 Hz | 
A. napięcie zasilania 20 V AC i prąd pracy 0,02 A
B. napięcie zasilania 24 V DC i prąd pracy 30 mA
C. napięcie zasilania 15 V DC i prąd pracy 0,02 A
D. napięcie zasilania 24 V DC i prąd pracy 0,02 A
 Montaż, uruchamianie i konser… 
Do działań wstępnych, które pozwolą na prawidłowy montaż nowego paska klinowego w przekładni pasowej, nie należy zaliczać
A. oceny stopnia naprężenia
B. weryfikacji czystości paska
C. analizy stopnia zużycia
D. sprawdzenia wymiarów
 ELM.03  Pytanie 108 
 Montaż, uruchamianie i konser… 
Dobierz minimalny zestaw sterownika S7-200 do realizacji sterowania windą w budynku trzykondygnacyjnym. Wykorzystaj w tym celu opis elementów wejściowych/wyjściowych podłączonych do sterownika.
 
| Elementy wejściowe  | jeden czujnik na każdej kondygnacji informujący o stanie drzwi zewnętrznych (otwarte/zamknięte) | 
| jeden czujnik na każdej kondygnacji informujący o położeniu windy | |
| jeden przycisk na każdej kondygnacji przywołujący windę | |
| 3 przyciski wewnątrz windy służące do wyboru kondygnacji | |
| jeden przycisk wewnątrz windy informujący o awarii (AWARIA) | |
| Elementy wyjściowe  | dwa styczniki załączające otwieranie i zamykanie drzwi | 
| dwa styczniki uruchamiające jazdę kabiny na dół i jazdę kabiny do góry | 
A. S7-200 o 24 wejściach i 16 wyjściach
B. S7-200 o 6 wejściach i 4 wyjściach
C. S7-200 o 14 wejściach i 10 wyjściach
D. S7-200 o 8 wejściach i 6 wyjściach
 Eksploatacja i programowanie … 
Jaką czynność należy zrealizować w pierwszej kolejności przy wymianie filtru ssawnego w instalacji hydraulicznej?
A. Usunąć zanieczyszczenia z wnętrza zbiornika zasilacza hydraulicznego
B. Napełnić zbiornik czystym olejem oraz odpowietrzyć system
C. Spuścić olej do właściwego naczynia przez korek spustowy
D. Wyciągnąć wkład filtra oleju i powietrza
 Montaż, uruchamianie i konser… 
Przy obróbce metalu z użyciem pilników, jakie środki ochrony osobistej są wymagane?
A. rękawicach i okularach ochronnych
B. obuwiu z gumową podeszwą oraz fartuchu ochronnym
C. rękawicach skórzanych i fartuchu skórzanym
D. kasku ochronnym i rękawicach elektroizolacyjnych
 ELM.03  Pytanie 111 
 Montaż, uruchamianie i konser… 
Jakie urządzenie powinno być zastosowane do zasilania silnika indukcyjnego klatkowego w układzie trójfazowym, aby umożliwić ustawienie maksymalnych wartości prądu rozruchowego oraz płynne dostosowanie prędkości obrotowej silnika?
A. Przełącznika gwiazda-trójkąt
B. Prostownika sterowanego trójpulsowego
C. Softstartu
D. Przemiennika częstotliwości
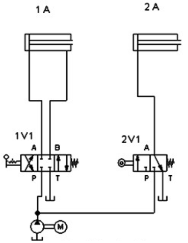
 Montaż, uruchamianie i konser… 
Na schemacie symbolem 1A oznaczono

A. stację zasilania olejem.
B. element wykonawczy.
C. czujniki położenia.
D. zawór rozdzielający.
 Montaż, uruchamianie i konser… 
Jaki miernik należy zastosować w przedstawionym na rysunku układzie pomiaru metodą pośrednią?

A. woltomierz.
B. amperomierz.
C. omomierz.
D. watomierz.
 Montaż, uruchamianie i konser… 
Tachometryczna prądnica działa z prędkością obrotową wynoszącą 1000 obr/min. Jaką prędkość obrotową należy osiągnąć, aby napięcie na wyjściu prądnicy wyniosło 7,3 V?
A. 7,3 obr/min
B. 73 obr/min
C. 7 300 obr/min
D. 730 obr/min
 Montaż, uruchamianie i konser… 
Charakterystykę I = f(U) diody półprzewodnikowej można uzyskać za pomocą oscyloskopu dwukanałowego w trybie
A. X/T
B. AC
C. DC
D. X/Y
 Eksploatacja i programowanie … 
Jakie kroki należy podjąć w celu stworzenia układu kombinacyjnego asynchronicznego?
A. Opracować algorytm przy pomocy metody Grafcet, a następnie na jego podstawie stworzyć program dla sterownika PLC
B. Zbudować tabelę Karnaugha, zredukować funkcję, sformułować równanie i w oparciu o nie wykonać schemat logiczny układu
C. Przygotować graf sekwencji, stworzyć program lub wykonać schemat układu z użyciem przerzutników
D. Przygotować diagram czasowy, na jego podstawie sformułować równanie stanu oraz narysować schemat z użyciem przerzutników JK
 Eksploatacja i programowanie … 
Na podstawie danych znamionowych prądnicy tachometrycznej określ, jaką wartość napięcia będzie wskazywał woltomierz na wyjściu prądnicy, jeżeli wirnik obraca się z prędkością 4800 obr/min. 
 
| Dane znamionowe prądnicy tachometrycznej PZTK 51-18 ku = 12,5 V/1000 obr/min Robc min = 5 kΩ nmax = 8000 obr/min  | 
A. 5 V
B. 60 V
C. 18 V
D. 12,5 V
 Eksploatacja i programowanie … 
Który z wymienionych fragmentów kodu assemblera wskazuje na realizację operacji dodawania przez procesor?
A. ADD
B. DIV
C. MUL
D. SUB
 Eksploatacja i programowanie … 
Wskaż element funkcyjny, którego zastosowanie w programie sterującym umożliwi bezpośrednie zliczanie impulsów na wejściu PLC?
A. Licznik
B. Regulator PID
C. Multiplekser
D. Timer TON
 ELM.03  Pytanie 120 
 Montaż, uruchamianie i konser… 
Jaka jest maksymalna wartość podciśnienia, które może być doprowadzone do zaworu o danych znamionowych zamieszczonych w tabeli? 
 
| MS-18-310/2-HN Zawory elektromagnetyczne 3/2 G1/8 Średnica nominalna : 1,4 mm Ciśnienie pracy : -0,95 bar...8 bar Czas zadziałania : 12 ms Temperatura pracy : -10°C...+70°C Zabezpieczenie : IP 65 EN 60529 Napięcie sterujące : 12V DC - 230V AC  | 
A. 1 bar.
B. 2 bary.
C. 0,75 bara.
D. 0,95 bara.