Filtrowanie pytań

Wybierz zawód, aby zobaczyć dostępne kwalifikacje

MOD.03 Pytanie 1
Projektowanie i wytwarzanie w…

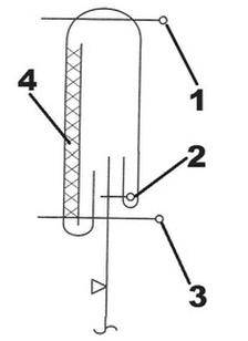
Profesjonalna usługa polegająca na naprawie zamka błyskawicznego, który zaciął się w połowie jego długości (jak na rysunku), powinna polegać na

Ilustracja do pytania 1
A. skróceniu zapięcia.
B. przerobieniu zapięcia na guziki.
C. doszyciu haftek.
D. wymianie zamka.
Projektowanie i wytwarzanie w…

Przeróbka polega na skróceniu długich rękawów w sukience dla kobiet oraz na wykończeniu krótkich rękawów. Jakie działania należy podjąć przed skracaniem rękawów?

A. Rozpruć szwy do poziomu łokcia w rękawach, zmierzyć długość rękawa krótkiego, zaznaczyć linię dołu rękawa krótkiego, obciąć rękawy długie
B. Zmierzyć długość rękawa krótkiego, zaznaczyć linię dolną, zmierzyć i oznaczyć wielkość dodatku na wykończenie dołu, obciąć rękaw długie
C. Wypruć długie rękawy, wyprasować, zmierzyć długość rękawa krótkiego, zaznaczyć linię dołu rękawa krótkiego, obciąć rękawy długie
D. Zmierzyć długość rękawa krótkiego, zaznaczyć linię do podwinięcia, obliczyć wielkość dodatku na podwinięcie dołu, obciąć długie rękawy, wyprasować
Projektowanie i wytwarzanie w…

Jakie będzie zapotrzebowanie na tkaninę w groszki o szerokości 150 cm, potrzebnej do uszycia spódnicy podstawowej o długości 70 cm, dla klientki o obwodzie bioder wynoszącym 96 cm?

A. 140 cm
B. 154 cm
C. 77 cm
D. 70 cm
Projektowanie i wytwarzanie w…

Jakiego typu kontrola odbywa się bezpośrednio po złączeniu wykrojów?

A. Kontrola wstępna
B. Kontrola jakości produktów
C. Kontrola międzyoperacyjna
D. Kontrola wykrojów
MOD.03 Pytanie 5
Projektowanie i wytwarzanie w…

Technika polegająca na łączeniu niewielkich elementów z użyciem wkładu klejowego w celu zapewnienia usztywnienia oraz stabilizacji kształtów nazywana jest

A. połączeniami tymczasowymi
B. wkładami sztywnymi
C. wkładami konstrukcyjnymi klejowymi
D. małymi wklejkami
Projektowanie i wytwarzanie w…

Jakie tkaniny odzieżowe oraz akcesoria krawieckie powinny być zakupione do uszycia letniej kobiecej bluzki w stylu sportowym?

A. Adamaszek, guziki z galalitu
B. Satynę, guziki szklane
C. Popelinę, guziki poliestrowe
D. Krepon, guziki perłowe
Projektowanie i wytwarzanie w…

Do punktu usługowego zgłosiła się klientka z prośbą o wszycie zamka błyskawicznego do spodni i wydłużenie nogawek. Jaka będzie cena wykonania usługi, jeżeli w zakładzie obowiązuje cennik usług określony w przedstawionej tabeli?

Cennik usług
Rodzaj usługiCena
Poszerzenie lub zwężenie wyrobu20,00 zł
Skrócenie lub wydłużenie długości wyrobu, rękawów, nogawek15,00 zł
Wszycie zamka20,00 zł

A. 35,00 zł
B. 20,00 zł
C. 40,00 zł
D. 15,00 zł
MOD.03 Pytanie 9
Projektowanie i wytwarzanie w…

Który z przedstawionych na rysunku mankietów zastosowano do wykończenia dołów skróconych rękawów w bluzce damskiej?

Ilustracja do pytania 9
A. Mankiet z wywiniętym obrębem.
B. Mankiet doszyty konfekcyjnie.
C. Mankiet doszyty dwustronnie.
D. Mankiet ze stębnówką na zewnątrz.
Projektowanie i wytwarzanie w…

Jaki jest koszt wykonania usługi polegającej na skróceniu spódnicy i wymianie podszewki w spódnicy, jeśli podszewka do punktu usługowego została dostarczona przez klientkę?

Cennik usług krawieckich
SkracanieWymiana podszewki
spódnica15 złspódnica25 zł + materiał
spodnie20 złżakiet80 zł + materiał
rękawy30 złkurtka80 zł + materiał

A. 40 zł
B. 50 zł
C. 25 zł
D. 30 zł
Projektowanie i wytwarzanie w…

Całkowity koszt uszycia garsonki w punkcie usługowym wynosi 185,00 zł. Do jej produkcji wykorzystano 2,50 m wełny, której cena za metr to 30,00 zł. Jaką kwotę stanowią wydatki na dodatki krawieckie oraz wynagrodzenie za pracę?

A. 155,00 zł
B. 110,00 zł
C. 170,00 zł
D. 125,00 zł
Projektowanie i wytwarzanie w…

Położenie linii łopatek na przedstawionej formie tyłu bluzki, wyznacza się korzystając ze wzoru

Ilustracja do pytania 12
A. \( ST = SyTy + 1 \text{ cm} \)
B. \( TP = \frac{1}{2} PR + 3 \text{ cm} \)
C. \( SC = \frac{1}{2} SP \)
D. \( RP = \frac{1}{3} RvPl - 2 \text{ cm} \)
MOD.03 Pytanie 13
Projektowanie i wytwarzanie w…

Jaki błąd występuje w przodach bluzki przedstawionej na rysunku?

Ilustracja do pytania 13
A. Zachodzące przody.
B. Za krótkie przody.
C. Rozchodzące się przody.
D. Za długie przody.
MOD.03 Pytanie 14
Projektowanie i wytwarzanie w…

Jakie z wymienionych urządzeń szwalniczych powinny być wykorzystane w procesie szycia klasycznych spodni z wełny?

A. Maszynę łańcuszkową, dziurkarkę, podszywarkę
B. Overlock, maszynę stębnową, ryglówkę
C. Maszynę łańcuszkową, fastrygówkę, overlock
D. Guzikarkę, maszynę stębnową, obrębiarkę
Projektowanie i wytwarzanie w…

Podaj metodę obliczenia ilości gładkiej tkaniny wełnianej o szerokości 150 cm, jaka będzie potrzebna do uszycia męskich spodni o długości 110 cm, dla klienta o wzroście 176 cm i obwodzie pasa 88 cm?

A. 110 cm + 20%
B. 110 cm + 10%
C. 176 cm + 20%
D. 176 cm + 10%
MOD.03 Pytanie 17
Projektowanie i wytwarzanie w…

Co może powodować przerywanie się nici górnej w trakcie działania maszyny?

A. niewystarczające napięcie nici górnej
B. uszkodzone ząbki transportera
C. niewłaściwy docisk stopki
D. nieprawidłowo zamocowana igła
MOD.03 Pytanie 19
Projektowanie i wytwarzanie w…

Co może być przyczyną przerywania się górnej nici podczas szycia na maszynie do szycia z zygzakiem?

A. uszkodzony otwór w płytce ściegowej
B. zbyt mocno zanieczyszczony transporter
C. nieprawidłowo zamocowany bębenek
D. niewłaściwy nacisk materiału
MOD.03 Pytanie 21
Projektowanie i wytwarzanie w…

Zgodnie z przedstawionym rysunkiem instruktażowym wskaż metodę przyszycia rękawa do podkroju pachy?

Ilustracja do pytania 21
A. Wszycie główki rękawa do podkroju pachy oraz obszycie krawędzi lamówką
B. Wszycie główki rękawa do podkroju pachy oraz obrzucenie krawędzi wspólnie
C. Obrzucenie osobno krawędzi główki oraz podkroju pachy i zszycie ich razem
D. Obszycie lamówką krawędzi główki i podkroju pachy oraz zszycie ich razem
MOD.03 Pytanie 22
Projektowanie i wytwarzanie w…

W celu rozwiązania sporu pomiędzy dwoma pracownikami krojowni zastosowano metodę arbitrażu, w której

A. udziałowcy konfliktu wybierają osobę trzecią - specjalistę, która podejmie decyzję w sprawie rozwiązania konfliktu
B. strony konfliktu korzystają z pomocy mediatora, który wspiera je w prowadzeniu dyskusji
C. udziałowcy konfliktu prowadzą rozmowy mające na celu osiągnięcie zgody
D. udziałowcy konfliktu liczą na to, że spór z czasem wygaśnie samoczynnie
MOD.03 Pytanie 23
Projektowanie i wytwarzanie w…

Jakiego typu wykończenie powinno się zastosować dla materiału bawełnianego przeznaczonego na odzież turystyczną?

A. Niemnący
B. Odporny na brud
C. Odporny na wodę
D. Usztywniający
Projektowanie i wytwarzanie w…

Jakiego rodzaju dodatek krawiecki powinno się zastosować do reperacji nogawek przetartych na końcu w męskich spodniach wełnianych?

A. Wkład klejowy
B. Lamówkę
C. Pliskę skośną
D. Taśmę tkaną
MOD.03 Pytanie 25
Projektowanie i wytwarzanie w…

Szwem, który obrzuca, jest szew

A. zgrzewany.
B. brzegowy.
C. łączący.
D. klejony.
MOD.03 Pytanie 26
Projektowanie i wytwarzanie w…

Spódnicę kloszową ze śladami przypaleń w części dolnej można naprawić, inspirując się fasonem spódnicy przedstawionej na rysunku poprzez

Ilustracja do pytania 26
A. ułożenie drapowań.
B. doszycie trójkątów.
C. wycięcie "zębów".
D. rozłożenie fałd.
MOD.03 Pytanie 28
Projektowanie i wytwarzanie w…

Podszewkę z wiskozowego jedwabiu o splocie atłasowym, tkaną w szerokie białe i wąskie czarne paski, powinno się wykorzystać do

A. wykończenia rękawów w marynarce męskiej
B. wykończenia dolnej krawędzi kołnierza w marynarce wełnianej
C. ochrony nogawek przed wypychaniem w spodniach
D. termoizolacyjnego ocieplenia zimowego płaszcza
MOD.03 Pytanie 29
Projektowanie i wytwarzanie w…

Użycie oprzyrządowania w maszynach do szycia ma m.in. na celu

A. usprawnienie operacji szycia
B. regulację gęstości ściegu
C. naoliwienie elementów maszyny
D. zapobieganie łamliwości nici
MOD.03 Pytanie 30
Projektowanie i wytwarzanie w…

Jaką tkaninę można zalecić klientce na letnią bluzkę z kołnierzykiem?

A. Batyst.
B. Kreton.
C. Dymkę.
D. Żorżetę.
MOD.03 Pytanie 31
Projektowanie i wytwarzanie w…

Przy ustalaniu ceny za wykonaną usługę z użyciem własnych materiałów, punkt usługowy bierze pod uwagę koszty bezpośrednie, które zawierają koszty

A. zarządzania punktem usługowym oraz materiałów i akcesoriów krawieckich
B. materiałów oraz akcesoriów krawieckich, jak również robocizny
C. działań administracyjnych i zarządzania punktem usługowym
D. robocizny oraz działań administracyjnych
Projektowanie i wytwarzanie w…

Jakie parametry są właściwe do prasowania spodni wykonanych z lnu?

A. 150℃, z użyciem pary
B. 150℃, bez użycia pary
C. 200℃, z użyciem pary
D. 110℃, bez użycia pary
Projektowanie i wytwarzanie w…

Które pomiary krawieckie, poza wzrostem, są niezbędne do wykonania form spódnicy damskiej przedstawionej na rysunku?

Ilustracja do pytania 34
A. opx, obt.
B. ot, obt, TD.
C. ZUo, ZTv, obt.
D. SyTy, ot.
MOD.03 Pytanie 35
Projektowanie i wytwarzanie w…

Ocenianie jakości dokonanej przeróbki sukni damskiej zazwyczaj następuje w momencie, gdy klientka odbiera suknię, a przed jej odebraniem

A. rozkłada suknię na stole, przygląda się i ocenia jakość wykonanej przeróbki w odniesieniu do wcześniej ustalonych wymagań
B. rozkłada suknię na stole, przygląda się jej, ocenia jakość oraz zakres wykonania przeróbki w porównaniu do stanu sukni sprzed przeróbki
C. nakłada suknię i, przeglądając się w lustrze, prosi wykonawcę przeróbki o ocenę swojego wyglądu
D. nakłada suknię i, przeglądając się w lustrze, porównuje wykonanie przeróbki z ustalonym zakresem oraz ocenia jakość jej realizacji
MOD.03 Pytanie 36
Projektowanie i wytwarzanie w…

Jakiej operacji technologicznej nie można przeprowadzić na specjalistycznej maszynie wyposażonej w mechanizm zygzaka?

A. Mocowania kieszeni nakładanej
B. Przyszycia zamka błyskawicznego
C. Wykończenia krawędzi wyrobu
D. Przytwierdzenia aplikacji do elementu odzieżowego
Projektowanie i wytwarzanie w…

W spodniach przedstawionych na rysunku tworzą się fałdy w przodach. Błąd usuwa się przez pogłębienie podkroju krocza w przodzie i

Ilustracja do pytania 37
A. wydłużenie przodu w dole.
B. wydłużenie w górze przodu i tyłu.
C. pogłębienie podkroju na linii talii w tyle.
D. pogłębienie podkroju na linii talii w przodzie.
MOD.03 Pytanie 38
Projektowanie i wytwarzanie w…

Która z poniższych przyczyn nie przyczynia się do łamania igły podczas szycia?

A. Zbyt cienka igła
B. Zbyt wysokie napięcie górnej nitki
C. Niewłaściwe umiejscowienie bębenka w mechanizmie chwytacza
D. Niewłaściwe nawinięcie dolnej nitki na szpuleczkę bębenka
Projektowanie i wytwarzanie w…

Jakiego typu układ szablonów powinno się wykorzystać do stworzenia wykrojów dla damskiej kurtki z wełnianego flauszu?

A. Łączony, symetryczny
B. Jednokierunkowy, pojedynczy
C. Sekcyjny, dwukierunkowy
D. Asymetryczny, dwukierunkowy