Filtrowanie pytań
Przewróceniu się wiązarów dachowych przedstawionych na schemacie konstrukcji budynku, wskutek oddziaływania wiatru na ściany szczytowe, zapobiegają

Którą z wymienionych czynności należy wykonać w celu zabezpieczenia deskowania przed przyczepieniem się mieszanki betonowej?
Do jednokrotnego pomalowania 1 m² powierzchni wałkiem potrzeba 0,1 litra lakieru. Oblicz ile lakieru należy kupić, aby polakierować 2-krotnie podłogę w pomieszczeniu o wymiarach 5,0×10,0 m.
Którą z wymienionych czynności należy wykonać przed montażem nieimpregnowanych elementów więźby dachowej o konstrukcji krokwiowo-płatwiowej?
Stemple podpierające deskowanie stropu należy ustawiać
Cena gwoździ budowlanych okrągłych gołych wynosi 25,00 zł/kg. Na podstawie tablicy oblicz, ile będą kosztować gwoździe potrzebne do wykonania deskowania płyty fundamentowej bez żeber i wzmocnień o objętości 50 m³.

W oparciu o zamieszczony fragment instrukcji określ, jaką minimalną ilość środka impregnacyjnego należy zastosować w celu czterofunkcyjnego zabezpieczenia 40 m² powierzchni drewna.
| Fragment instrukcji | |
|---|---|
Zużycie: – 0,050 kg środka/m² powierzchni drewna – 2-krotne malowanie powierzchni drewna – zabezpieczenie trójfunkcyjne (przeciw grzybom, owadom i pleśniom). – 0,200 kg środka/m² powierzchni drewna – 4-krotne malowanie powierzchni drewna – zabezpieczenie czterofunkcyjne (przed działaniem ognia, grzybów, owadów i pleśni). | |
Na którym rysunku przedstawiono rusztowanie typu warszawskiego?




Na rysunku przedstawiono złącze ciesielskie

Deskowanie stropu płaskiego typu Kleina, o rozpiętości płyty 3,0 m, należy wykonać jako
Do zabezpieczenia elementów drewnianych przed szkodliwym działaniem promieni UV między innymi służą
Cieśla wykonał odgrzybienie jednej mniejszej ściany drewnianej w pomieszczeniu o wymiarach 4,0×5,0 m i wysokości 2,5 m. Ile wynosi koszt robocizny, jeżeli stawka wynagrodzenia to 15,00 zł/godz., a według normy na odgrzybienie pracownik potrzebuje 0,05 r-g/m²?
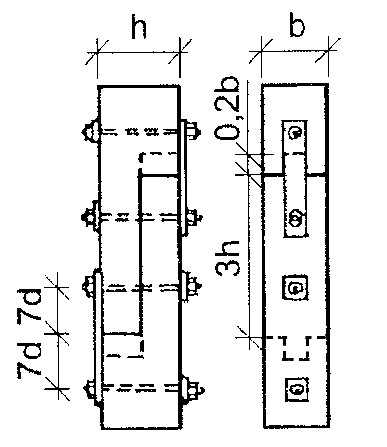
Którym symbolem oznaczono na rysunku odległość skrajnych rzędów stalowych sworzni od końców (krawędzi poprzecznych) łączonych elementów drewnianych?

Producent podaje, że średnia wydajność lakieru do drewna wynosi 12 m²/l przy jednokrotnym nanoszeniu. Ile należy zakupić tego lakieru, aby pomalować dwukrotnie deski elewacyjne odnawianego domu o łącznej powierzchni zewnętrznej ścian 150 m²?
Który z wymienionych elementów jest stałą częścią stempla stalowego, za pomocą którego można dokonać regulacji wysokości stempla podpierającego dźwigar?
Na rysunku przedstawiono deskowanie stopy fundamentowej

Na podstawie tabeli określ, jaki powinien być rozstaw nakładek tarcz deskowania belki o wysokości 60 cm, jeśli nakładki wykonane są z desek grubości 25 mm.

Przedstawione na rysunku urządzenie służy do

Do deskowania ławy fundamentowej żelbetowej o wysokości 40 cm zastosowano gotowe tarcze z desek. Dla zapewnienia niezmienności kształtu i położenia tarcz podczas betonowania należy je wzmocnić
W celu dokładnego ustawienia na podłożu betonowym deskowania słupa o przekroju prostokątnym jego montaż należy rozpocząć od
Która z wymienionych cech wpływa na trwałość połączenia klejonego drewnianych elementów?
Które z wymienionych rusztowań składa się z dwóch rzędów słupów usztywnionych krzyżulcami i połączonych ze sobą podłużnicami?
Pod jakim kątem należy wykonać podcięcie krokwi w połączeniu wrębowym skośnym, przedstawionym na rysunku, jeżeli kąt nachylenia połaci dachowej wynosi 50°?

Który element stemplowania stropu zaznaczono na rysunku strzałką?

Ile wynosi całkowita długość krokwi więźby dachowej przedstawionej na rysunku?

Deskowanie nadproża żelbetowego pokazane na rysunku składa się między innymi z następujących elementów:

Którą z pokazanych na rysunkach pił należy zastosować do cięcia dużych elementów drewnianych pod kątem ostrym do kierunku przebiegu włókien?




Na podstawie tabeli oblicz ile wynosi objętość wszystkich murłat.

Określ, na podstawie tabeli, do której grupy sortymentu tarcicy należy element o wymiarach przekroju poprzecznego 14 × 14 cm, przeznaczony na wymianę murłaty.

Jak nazywa się element deskowania ściany betonowej o dużej krzywiźnie, oznaczony na rysunku cyfrą 3?

Połączenie ciesielskie przedstawione na rysunku stosowane jest do łączenia krokwi

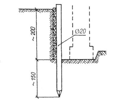
Budynek mieszkalny o konstrukcji drewnianej szkieletowej i wymiarach w rzucie 8,0 × 8,0 m został, zgodnie z projektem, zakotwiony do fundamentu w środku ścian i w pobliżu naroży. Celem zakotwienia jest
Na rysunku przedstawiono fragment ściany o konstrukcji

Na podstawie rysunku, określ ile wynosi dopuszczalna średnica otworów w słupkach ścian nośnych szkieletowego domu drewnianego, wykonanych z tarcicy o wymiarach: grubość 38 mm, szerokość 100 mm.

Jednym z celów stosowania impregnacji drewna konstrukcyjnego jest
Do wytrasowania linii cięcia krokwi pod kątem 30° najlepiej użyć
Które elementy deskowania stropu żelbetowego płytowo-żebrowego, przedstawionego na rysunku, należy zdemontować jako pierwsze?

Jak nazywa się element konstrukcji ściany drewnianej oznaczony na rysunku cyfrą 5?

Na podstawie tabeli określ, do którego sortymentu tarcicy obrzynanej należy zaliczyć tarcicę o wymiarach 63×150 mm.
