Filtrowanie pytań
Wytwarzanie prostych wyrobów …
A. Owinąć grupę elementów tekturą falistą i spiąć taśmą.
B. Owinąć każdy element tekturą falistą i związać sznurkiem.
C. Owinąć grupę elementów papierem i związać sznurkiem.
D. Owinąć każdy element folią i spiąć taśmą.
DRM.03 Pytanie 82
Wytwarzanie prostych wyrobów …
Rysunek przedstawia szafkę o konstrukcji

A. kolumnowej.
B. ramowej.
C. wieńcowej.
D. stojakowej.
Wytwarzanie prostych wyrobów …
W taborecie drewnianym na skutek wysychania poluzowała się jedna z łączyn. Naprawę należy zacząć od demontażu elementów, a następnie
A. wykonać nowe elementy: gniazdo, czop i zmontować złącze.
B. owinąć czop papierem i skleić złącze.
C. zaprawić gniazdo, wydłutować nowe i skleić złącze.
D. nanieść klej i ponownie je skleić.
Wytwarzanie prostych wyrobów …
Jaki rodzaj konstrukcji zastosowano przy wykonaniu przedstawionego stołu?

A. Krzyżakową.
B. Kratową.
C. Kolumnową.
D. Skrzyniową.
Wytwarzanie prostych wyrobów …
Wykonanie gniazda podłużnego za pomocą wiertarki poziomej należy rozpocząć od wywiercenia
A. dwóch gniazd w dowolnym miejscu gniazda podłużnego.
B. dwóch gniazd skrajnych.
C. gniazda w połowie długości gniazda podłużnego.
D. gniazda skrajnego i tuż obok kolejnego.
Wytwarzanie prostych wyrobów …
Przedstawiony na zdjęciu frez przeznaczony jest do wykonywania

A. deski tarasowej.
B. złączy konstrukcyjnych.
C. kanałów rozprężnych.
D. listew ozdobnych.
Wytwarzanie prostych wyrobów …
W którym przedziale powinna zawierać się temperatura kleju topliwego podczas nanoszenia na oklejaną powierzchnię?
A. 120÷140°C
B. 160÷180°C
C. 180÷200°C
D. 140÷160°C
Wytwarzanie prostych wyrobów …
Wskaż właściwą kolejność czynności, które należy wykonać w celu wymiany przedstawionego na rysunku uszkodzonego ramiaka poziomego ościeżnicy okiennej.

A. Demontaż ramiaka, formatowanie, dobór materiału, szlifowanie, montaż ramiaka malowanie.
B. Formatowanie, demontaż ramiaka, szlifowanie, doboru materiału, montaż ramiaka, malowanie.
C. Demontaż ramiaka, dobór materiału, formatowanie, szlifowanie, montaż ramiaka, malowanie.
D. Dobór materiału, szlifowanie, formatowanie, demontaż ramiaka, montaż ramiaka, malowanie.
Wytwarzanie prostych wyrobów …
Na podstawie rysunku wskaż dopuszczalną dolną odchyłkę długości czopa.

A. -1,5 mm
B. 0 mm
C. +0,5 mm
D. +0,1 mm
Wytwarzanie prostych wyrobów …
Dobierz sortyment drewna okrągłego grubego z którego należy wykonać stojak o długości 3,5 m.

A. Żerdzie.
B. Kłody.
C. Dłużyce.
D. Wyrzynki.
Wytwarzanie prostych wyrobów …
Wskaż prawidłową kolejność operacji technologicznych związanych z wykonaniem drewnianej oskrzyni stołu.
A. Manipulacja wstępna, wykonanie powierzchni bazowych, struganie grubościowo-szerokościowe, szlifowanie, piłowanie na dokładną długość, wykonanie czopów.
B. Manipulacja wstępna, wykonanie powierzchni bazowych, struganie grubościowo-szerokościowe, piłowanie na dokładną długość, szlifowanie, wykonanie czopów.
C. Manipulacja wstępna, wykonanie powierzchni bazowych, piłowanie na dokładną długość, struganie grubościowo-szerokościowe, wykonanie czopów, szlifowanie.
D. Manipulacja wstępna, wykonanie powierzchni bazowych, struganie grubościowo-szerokościowe, piłowanie na dokładną długość, wykonanie czopów, szlifowanie.
Wytwarzanie prostych wyrobów …
Na jaką głębokość należy dłutować gniazdo w elementach graniakowych łączonych złączem czopowym półkrytym?
A. 3/4 grubości elementu.
B. 2/3 grubości elementu.
C. 1/2 grubości elementu.
D. 1/3 grubości elementu.
Wytwarzanie prostych wyrobów …
Wilgotność sklejanych elementów krzeseł biurowych z drewna powinna wynosić
A. od 2 do 4%
B. od 14 do 16%
C. od 18 do 20%
D. od 6 do 12%
Wytwarzanie prostych wyrobów …
Na rysunku przedstawiono prowadnicę

A. typu C bez kołków.
B. wałkową krytą.
C. kulkową.
D. rolkową.
Wytwarzanie prostych wyrobów …
Po wymianie drzwi w szafie dwudrzwiowej kontroli jakości naprawy nie podlega
A. prawidłowość zamocowania zawiasów.
B. sposób nawiercenia gniazd.
C. prawidłowość działania okuć.
D. ustawienie szerokości przymyku.
Wytwarzanie prostych wyrobów …
Na rysunku pokazano złącze

A. czopowe uciosowe podwójne.
B. czopowe uciosowe pojedyncze.
C. narożnikowe widlicowe ścienne.
D. narożnikowe półkrzyżowe płaskie.
DRM.03 Pytanie 97
Wytwarzanie prostych wyrobów …
Na ilustracji przedstawiono urządzenie przeznaczone do montażu

A. stolarki okiennej.
B. mebli skrzyniowych.
C. stolarki drzwiowej.
D. mebli szkieletowych.
Wytwarzanie prostych wyrobów …
W celu przygotowania do transportu jednakowych elementów mebli zdemontowanych należy je ułożyć w paczki, owinąć tekturą falistą oraz
A. skręcić długimi śrubami.
B. obić cienkimi listwami.
C. ścisnąć taśmą stalową.
D. włożyć do szczelnej skrzyni.
DRM.03 Pytanie 99
Wytwarzanie prostych wyrobów …
Na rysunku pokazano stół o konstrukcji

A. bezoskrzyniowej.
B. deskowej.
C. kolumnowej.
D. oskrzyniowej.
Wytwarzanie prostych wyrobów …
Który sposób pakowania zabezpieczy części mebla o różnych wymiarach przed przemieszczaniem się w transporcie?
A. Z zastosowaniem kartonów z wypełnieniem.
B. Z użyciem zintegrowanych opakowań paletowych.
C. W pudła fasonowe.
D. Owinięcie i zabezpieczenie folią streczową.
Wytwarzanie prostych wyrobów …
Do klejenia fryzów z drewna iglastego o podwyższonej wilgotności należy użyć kleju
A. mocznikowego.
B. topliwego.
C. poliuretanowego.
D. neoprenowego.
Wytwarzanie prostych wyrobów …
Prawidłowa kolejność operacji technologicznych wykonania podzespołu taboretu (nogi i skrzyni) przedstawiona jest w zestawie
A. 1. piłowanie poprzeczne 2. piłowanie wzdłużne 3. frezowanie profilowe 4. struganie grubościowo-szerokościowe 5. struganie wyrównujące 6. szlifowanie 7. czopowanie
B. 1. piłowanie poprzeczne 2. piłowanie wzdłużne 3. frezowanie profilowe 4. struganie grubościowo-szerokościowe 5. czopowanie 6. szlifowanie 7. wykonywanie czopów
C. 1. piłowanie poprzeczne 2. piłowanie wzdłużne 3. struganie wyrównujące 4. struganie grubościowo-szerokościowe 5. wykonywanie gniazd 6. czopowanie 7. szlifowanie
D. 1. piłowanie poprzeczne 2. piłowanie wzdłużne 3. struganie grubościowo-szerokościowe 4. szlifowanie 5. czopowanie 6. wykonywanie gniazd 7. struganie wyrównujące
Wytwarzanie prostych wyrobów …
Jak zapobiega się przebiciom klejowym podczas okleinowania?
A. Stosując dłuższy czas otwarty.
B. Wywierając większe ciśnienie na sklejane powierzchnie.
C. Stosując krótki czas otwarty.
D. Okleinując drewno o wyższej wilgotności.
Wytwarzanie prostych wyrobów …
Na rysunku przedstawiono połączenie dwóch elementów za pomocą złącza

A. wczepowego skośnego.
B. czopowego kątowego.
C. wczepowego prostego.
D. czopowego czołowego.
Wytwarzanie prostych wyrobów …
Wskaż prawidłową kolejność prac podczas renowacji komody.
A. Naprawa lub dorobienie uszkodzonych części, demontaż komody, kitowanie uszkodzeń, montaż komody, odnawianie powłoki.
B. Naprawa lub dorobienie uszkodzonych części, kitowanie uszkodzeń, demontaż komody, montaż komody, odnawianie powłoki.
C. Kitowanie uszkodzeń, odnawianie powłoki, demontaż komody, naprawa lub dorobienie uszkodzonych części, montaż komody.
D. Demontaż komody, naprawa lub dorobienie części uszkodzonych, kitowanie uszkodzeń, odnawianie powłoki, montaż komody.
Wytwarzanie prostych wyrobów …
Zastosowanie klina w czopie pokazanym na rysunku ma na celu

A. zwiększenie pęcznienia w poprzek włókien czopa.
B. zmniejszenie kurczliwości wzdłuż włókien czopa.
C. pozostawienie luzu w gnieździe.
D. uszczelnienie pasowania czopa w gnieździe.
Wytwarzanie prostych wyrobów …
Które oprzyrządowanie należy zastosować do zamocowania elementów obrabianych na strugnicy?
A. Imaki.
B. Prowadnice.
C. Podpieraki.
D. Podstawki.
Wytwarzanie prostych wyrobów …
Po wymianie drzwi w szafie dwudrzwiowej kontroli nie podlega
A. prawidłowość zamocowania zawiasów.
B. ustawienie szerokości przymyku.
C. sposób nawiercenia gniazd.
D. prawidłowość działania okuć.
Wytwarzanie prostych wyrobów …
Którą kolejność technologiczną maszyn należy zachować przy produkcji boków szafy z płyty wiórowej laminowanej, z wregiem na ścianę tylną?
A. Pilarkę, okleiniarkę, frezarkę, wiertarkę.
B. Pilarkę, frezarkę, wiertarkę, okleiniarkę.
C. Pilarkę, wiertarkę, frezarkę, okleiniarkę.
D. Pilarkę, frezarkę, okleiniarkę, wiertarkę.
Wytwarzanie prostych wyrobów …
Z rysunku wynika, że dopuszczalna grubość czopa mieści się w granicach
A. 8,0÷12,0 mm
B. 9,8÷10,0 mm
C. 10,0÷10,2 mm
D. 9,8÷10,2 mm
Wytwarzanie prostych wyrobów …
Wskaż kolejność czynności, które należy wykonać, aby wymienić uszkodzoną ścianę tylną mebla, wykonaną ze sklejki.
A. Demontaż, formatowanie lakierowanie, dobór materiału, szlifowanie, montaż.
B. Demontaż, dobór materiału, formatowanie, szlifowanie, lakierowanie, montaż.
C. Montaż, dobór materiału, szlifowanie, formatowanie lakierowanie, demontaż.
D. Montaż, formatowanie, szlifowanie, dobór materiału, lakierowanie, demontaż.
Wytwarzanie prostych wyrobów …
Do demontażu połączeń stolarskich wzmocnionych klejem glutynowym należy zastosować
A. ocet.
B. benzenę ekstrakcyjną.
C. parę wodną.
D. toluen.
Wytwarzanie prostych wyrobów …
Pokazana na rysunku forma służy do gięcia drewna

A. suchego bez użycia kleju.
B. uplastycznionego hydrotermicznie.
C. mokrego z użyciem kleju.
D. wzmocnionego prętem metalowym.
Wytwarzanie prostych wyrobów …
Sprawdzenia, czy ściany korpusu szafki są względem siebie prostopadłe, należy dokonać przez porównanie długości
A. wieńców.
B. ścian bocznych.
C. przekątnych ścian bocznych.
D. przekątnych korpusu.
Wytwarzanie prostych wyrobów …
Które złącze przedstawiono na fotografii?

A. Wczepowe skośne.
B. Narożnikowe czopowe.
C. Wczepowe proste.
D. Wieloklinowe.
Wytwarzanie prostych wyrobów …
W szufladzie przedstawionej na rysunku ścianka boczna i tylna są połączone złączem

A. widlicowym.
B. czopowym.
C. wpustowym.
D. wczepowym.
Wytwarzanie prostych wyrobów …
Na ilustracji przedstawiono stolik o konstrukcji

A. stojakowej.
B. skrzyniowej.
C. kolumnowej.
D. bezoskrzyniowej.
DRM.03 Pytanie 118
Wytwarzanie prostych wyrobów …
Element ażurowej okiennicy oznaczony na rysunku strzałką to

A. zastrzał.
B. ślemię.
C. poprzeczka.
D. wspornik.
DRM.03 Pytanie 119
Wytwarzanie prostych wyrobów …
Fragment skrzydła drzwiowego pokazanego na rysunku ma konstrukcję

A. płytową.
B. ażurową.
C. płycinową.
D. deskową.
DRM.03 Pytanie 120
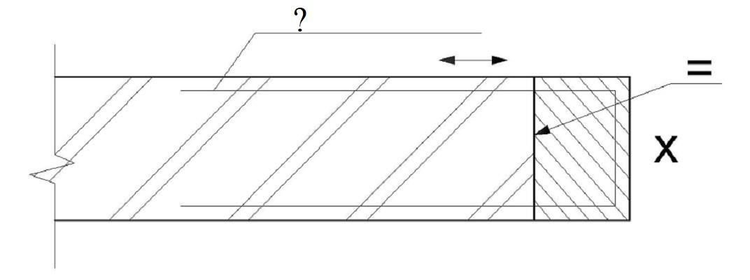
Wytwarzanie prostych wyrobów …
Na przedstawionym rysunku nad linią odniesienia w miejscu „?” należy wpisać oznaczenie

A. połączenia klejonego.
B. zszywki.
C. rodzaju doklejki.
D. okleiny.