Filtrowanie pytań
Wytwarzanie prostych wyrobów …
A. otwornicy i struga.
B. piłnicy i poziomnicy.
C. przyrznicy i skrzynki uciosowej.
D. piłnicy i skrzynki uciosowej.
Wytwarzanie prostych wyrobów …
Która kolejność wykonywanych czynności jest właściwa dla wymiany uszkodzonej łączyny taboretu?
A. Formatowanie, demontaż łączyny, szlifowanie, dobór materiału, montaż łączyny.
B. Dobór materiału, szlifowanie, formatowanie, demontaż łączyny, montaż łączyny.
C. Demontaż łączyny, dobór materiału, formatowanie, szlifowanie, montaż łączyny.
D. Demontaż łączyny, formatowanie, dobór materiału, szlifowanie, montaż łączyny.
Wytwarzanie prostych wyrobów …
Regulacji głębokości drzwi, mocowanych do korpusu szafki za pomocą zawiasów puszkowych i prowadników, dokonuje się według schematu pokazanego na rysunku
A. Rysunek 1

B. Rysunek 2

C. Rysunek 3

D. Rysunek 4

Wytwarzanie prostych wyrobów …
Opis znajdujący się na rysunku fragmentu połączenia elementów mebla określa wielkość średnicy kołka montażowego oraz

A. tolerancję i pasowanie.
B. symbol kołka.
C. jego długość.
D. głębokość wiercenia.
DRM.03 Pytanie 125
Wytwarzanie prostych wyrobów …
Na rysunku przedstawiono schody

A. policzkowe.
B. dywanowe.
C. wspornikowe.
D. drabiniaste.
Wytwarzanie prostych wyrobów …
Na którym rysunku pokazano połączenie ramiaków ościeżnicy najbardziej narażone na złamanie?
A. Rysunek 1

B. Rysunek 2

C. Rysunek 4

D. Rysunek 3

Wytwarzanie prostych wyrobów …
Przedstawiony na rysunku łącznik to wkręt

A. typu torx.
B. uniwersalny z łbem stożkowym.
C. typu konfirmat.
D. samowiercący z łbem walcowym.
Wytwarzanie prostych wyrobów …
Na której ilustracji przedstawiono łącznik, do wkręcania którego należy zastosować klucz imbusowy nr 4?
A. Na ilustracji 3.

B. Na ilustracji 1.

C. Na ilustracji 2.

D. Na ilustracji 4.

DRM.03 Pytanie 129
Wytwarzanie prostych wyrobów …
Na rysunku przedstawiono szczegół połączenia elementów szafki w przekroju. Cyfrą 1 oznaczono element wykonany

A. z płyty pilśniowej.
B. ze sklejki.
C. z płyty wiórowej.
D. z tarcicy.
Wytwarzanie prostych wyrobów …
W którym magazynie należy składować graniaki po obróbce mechanicznej, przygotowane do toczenia?
A. Materiałów podstawowych.
B. Wyrobów gotowych.
C. Materiałów pomocniczych.
D. Międzyoperacyjnym.
Wytwarzanie prostych wyrobów …
Ile wynosi długość i szerokość wieńca dolnego i górnego w szafie konstrukcji stojakowej o wymiarach 2000 x 900 x 550 mm, wykonanej z płyty wiórowej laminowanej o gr. 18 mm?
A. 936 mm i 545 mm
B. 900 mm i 550 mm
C. 882 mm i 545 mm
D. 864 mm i 550 mm
Wytwarzanie prostych wyrobów …
Do montażu mebli skrzyniowych należy zastosować
A. ramę montażową.
B. prasę śrubową.
C. prasę membranową.
D. prasę wielopółkową.
Wytwarzanie prostych wyrobów …
Jak nazywa się rysunek stanowiący podstawę do montażu wyrobu stolarskiego?
A. Wykonawczy.
B. Perspektywiczny.
C. Złożeniowy.
D. Schematyczny.
Wytwarzanie prostych wyrobów …
Który składnik należy umieścić jako pierwszy w mieszarce w celu przygotowania masy klejowej?
A. Rozpuszczalnik.
B. Utwardzacz.
C. Żywicę.
D. Wypełniacz.
Wytwarzanie prostych wyrobów …
Metalowe elementy przedstawione na zdjęciu służą do

A. poziomowania mebli podczas montażu.
B. trasowania gniazd pod kołki.
C. unieruchomienia elementu przy trasowaniu.
D. trasowania otworów na konfirmaty.
Wytwarzanie prostych wyrobów …
Przed montażem elementów krzeseł wymiary czopów należy skontrolować za pomocą
A. suwmiarki.
B. śruby mikrometrycznej.
C. miary stolarskiej.
D. sprawdzianu granicznego.
Wytwarzanie prostych wyrobów …
Za pomocą której obrabiarki należy wykonać gniazdo na zamek wpuszczany w ramiaku drzwiowym?
A. Tokarki suportowej.
B. Pilarki poprzecznej.
C. Wyrzynarki ręcznej.
D. Wiertarki poziomej.
Wytwarzanie prostych wyrobów …
Którą kolejność operacji należy zachować podczas wykonywania skośnych gniazd wczepowych?
A. Czyszczenie, narzynanie, przycięcie, dłutowanie.
B. Narzynanie, trasowanie, dłutowanie, czyszczenie.
C. Dłutowanie, czyszczenie, narzynanie, trasowanie.
D. Trasowanie, narzynanie, dłutowanie, czyszczenie.
Wytwarzanie prostych wyrobów …
Które oznaczenie należy wpisać nad linią odniesienia?

A. Połączenia klejonego.
B. Zszywki.
C. Okleiny.
D. Rodzaju doklejki.
Wytwarzanie prostych wyrobów …
Najważniejszym efektem właściwie wykonanej naprawy złącza nogi z oskrzynią jest
A. wygląd złącza.
B. brak śladów kleju.
C. wytrzymałość złącza.
D. szczelność złącza.
DRM.03 Pytanie 141
Wytwarzanie prostych wyrobów …
Drzwi płycinowe przedstawiono na rysunku
A. Rysunek drzwi 4

B. Rysunek drzwi 2

C. Rysunek drzwi 1

D. Rysunek drzwi 3

Wytwarzanie prostych wyrobów …
Szafka przedstawiona na fotografii jest konstrukcji

A. ramowej.
B. deskowej.
C. wieńcowej.
D. stojakowej.
Wytwarzanie prostych wyrobów …
Wskaż właściwy sposób naprawy przedstawionego na rysunku uszkodzenia nogi krzesła.

A. Naklejenie nakładek z drewna na uszkodzone miejsce.
B. Naniesienie kleju na wyłamany kawałek drewna i ściśnięcie ściskiem.
C. Wymiana elementu na nowy.
D. Wypełnienie uszkodzonego miejsca kitem.
Wytwarzanie prostych wyrobów …
Dłuto przedstawione na rysunku stosuje się do osadzenia zawiasów

A. puszkowych.
B. nakładanych.
C. kołkowych.
D. czopowych rozłącznych.
Wytwarzanie prostych wyrobów …
Na podstawie danych zawartych w tabeli dobierz klej, którego użycie do klejenia złączy wykonanych z drewna litego zapewni uzyskanie wytrzymałości spoiny na sucho, wynoszącą 17 MPa i bardzo dobrą odporność na obciążenia dynamiczne i statyczne.

A. Melaminowy.
B. Mocznikowy.
C. Polioctanowinylowy.
D. Kazeinowy.
Wytwarzanie prostych wyrobów …
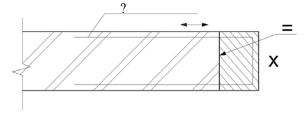
Na podstawie rysunku określ, ile wynosi rozstaw otworów przelotowych w drzwiach szafki, przeznaczonych do mocowania uchwytu meblowego.

A. 70 mm
B. 100 mm
C. 128 mm
D. 242 mm
Wytwarzanie prostych wyrobów …
Schody policzkowe są konstrukcji

A. nośnej belkowej.
B. nakładanej.
C. wsuwanej.
D. czopowej krytej.
Wytwarzanie prostych wyrobów …
Szafka kuchenna wisząca, wykonana z płyty wiórowej laminowanej, po latach użytkowania straciła swoje walory użytkowe i estetyczne: obrzeża odpadły, drzwi opuściły się i nie domykają się, zauważalne są ubytki laminatu na krawędzi oraz miejscowe zwiększenie grubości płyty na drzwiach. Który sposób postępowania pozwoli ponieść najmniejsze koszty przy uzyskaniu najlepszych efektów?
A. Przyklejenie obrzeża, wklejenie wstawek, zaprawienie ubytków.
B. Wymiana zawiasów na nowe.
C. Wykonanie nowych drzwi i ścian bocznych.
D. Zaniechanie naprawy i zakupienie nowej szafki.
Wytwarzanie prostych wyrobów …
Przyrządu pokazanego na rysunku należy użyć do pomiaru

A. odległości między kołkami.
B. rozstawienia wczepów.
C. szerokości wpustu.
D. średnicy gniazda.
Wytwarzanie prostych wyrobów …
Do regulacji nałożenia drzwi nie służy wkręt oznaczony na zdjęciu literą

A. C.
B. D.
C. A.
D. B.
Wytwarzanie prostych wyrobów …
Które połączenia w meblach, podczas ich naprawy i renowacji wymagają wzmocnienia?
A. Ruchome niezdemontowane.
B. Popsute i zdemontowane.
C. Podlegające rekonstrukcji.
D. Wszystkie, niezależnie od demontażu.
Wytwarzanie prostych wyrobów …
Wyfrezowania po pęcherzach żywicznych i pęknięciach powstałych w płycie roboczej stołu należy zakleić dopasowanymi
A. korkami.
B. wpustkami.
C. kołkami.
D. lamelkami.
Wytwarzanie prostych wyrobów …
Do sklejenia elementów na szerokość z drewna egzotycznego klejem zapewniającym najmniej widoczną spoinę jest klej o charakterystyce
A. Szybkoschnący o wysokiej sile spajania, odporny na wilgoć w podłożach. Po wyschnięciu matowy. Klejenie drewna średniotwardego, sklejki, forniru.
B. Wysoka siła spajania i doskonała przyczepność do powierzchni porowatych. Po wyschnięciu półprzezroczysty. Klejenie miękkiego drewna, sklejki, płyt wiórowych, forniru klejenie papieru i kartonu.
C. Wysoka siła spajania i podwyższona odporność na wodę. Przeznaczony do klejenia wszystkich rodzajów drewna również drewna egzotycznego, sklejki, płyt wiórowych i forniru. Po wyschnięciu przezroczysty.
D. Wysoka siła spajania i bardzo szybkie łączenie. Po wyschnięciu półprzezroczysty. Klejenie miękkiego drewna, sklejki, płyt wiórowych, forniru, płyty MDF, HDF.
Wytwarzanie prostych wyrobów …
Który sposób obróbki należy zastosować w celu wykonania pokazanej na rysunku profilowanej kształtki siedziskowej?

A. Struganie płaskie.
B. Obtaczanie profilowe.
C. Wykrwawanie kształtowe.
D. Gięcie z jednoczesnym klejeniem.
Wytwarzanie prostych wyrobów …
W szufladzie pokazanej na rysunku ścianka boczna i tylna są połączone złączem

A. wpustkowym.
B. czopowym.
C. wczepowym.
D. widlicowym.
Wytwarzanie prostych wyrobów …
Które urządzenie transportowe stosowane w produkcji mebli przedstawiono na fotografii?

A. Manipulator elektryczny.
B. Przenośnik rolkowy.
C. Manipulator pneumatyczny.
D. Przenośnik kulowy.
Wytwarzanie prostych wyrobów …
Na ilustracji przedstawiono przyrząd przeznaczony do montażu

A. opasek zaciskowych.
B. uszczelniaczy Simmeringa.
C. pierścieni tłokowych.
D. pierścieni Segera.
Wytwarzanie prostych wyrobów …
Meble, ze względu na konstrukcję dzieli się na
A. z widocznym i niewidocznym podłożem.
B. drewniane i z tworzyw sztucznych.
C. meble do siedzenia i do spania.
D. szkieletowe i skrzyniowe.
Wytwarzanie prostych wyrobów …
Jak należy zabezpieczyć drzwi gotowej szafki pakowanej do transportu?
A. Zdemontować i ułożyć wewnątrz szafki.
B. Umieścić w oddzielnej paczce.
C. Unieruchomić w korpusie szafki taśmą klejącą.
D. Zamknąć je na zamek.
Wytwarzanie prostych wyrobów …
Zdjęcie przedstawia szafę o konstrukcji

A. wieńcowej - płycinowej.
B. stojakowej - płycinowej.
C. wieńcowej - płytowej.
D. stojakowej - płytowej.