Filtrowanie pytań
Obsługa, diagnozowanie oraz n…
A. smar stały.
B. płyn hydrauliczny.
C. olej przekładniowy.
D. olej silnikowy.
MOT.06 Pytanie 3722
Organizacja i prowadzenie pro…
Mechanik, który dokonuje pomiaru ciśnienia sprężania w większości silników benzynowych pozbawionych hydraulicznej kompensacji luzu zaworowego i posiadających katalizator, powinien najpierw
A. usunąć wszystkie świece zapłonowe
B. zamknąć dopływ paliwa do cylindrów
C. podgrzać silnik do temperatury roboczej
D. sprawdzić i dostosować luz zaworowy
Obsługa, diagnozowanie oraz n…
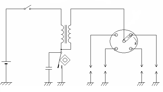
Aby dokonać kontrolnego pomiaru napięcia zasilania czujnika położenia przepustnicy, woltomierz należy podłączyć pomiędzy masę a zacisk zasilania elementu oznaczonego na schemacie numerem

A. 33
B. 49
C. 10
D. 11
Obsługa, diagnozowanie oraz n…
Na tarczy hamulcowej pojawiło się widoczne uszkodzenie. Jaką metodę naprawy wybierzesz?
A. Wymiana dwóch tarcz na nowe
B. Regeneracja poprzez chromowanie
C. Regeneracja poprzez napawanie
D. Szlifowanie na wymiar naprawczy
Obsługa, diagnozowanie oraz n…
Aby zweryfikować poprawność funkcjonowania termistorowego czujnika temperatury typu NTC, należy dokonać pomiaru
A. natężenia prądu pobieranego przez czujnik
B. reaktancji indukcyjnej czujnika
C. rezystancji czujnika
D. reaktancji pojemnościowej czujnika
Obsługa, diagnozowanie oraz n…
Woda używana do mycia aut w myjni musi być odprowadzana
A. do wykopu w ziemi na zewnątrz myjni
B. bezpośrednio do kanalizacji deszczowej
C. bezpośrednio do systemu kanalizacji komunalnej
D. do separatorów ściekowych
Obsługa, diagnozowanie oraz n…
Jakie kroki należy podjąć w przypadku wystąpienia poparzenia?
A. Przemyć poparzone miejsce spirytusem lub wodą utlenioną
B. Miejsce poparzone schłodzić dużą ilością zimnej wody, a następnie przykryć jałowym opatrunkiem
C. Usunąć przylegające części odzieży z miejsca poparzenia
D. Przemyć poparzone miejsce ciepłą wodą z mydłem
Obsługa, diagnozowanie oraz n…
Symbolem przedstawionym na rysunku oznacza się

A. prądnicę prądu stałego.
B. prądnicę prądu zmiennego.
C. silnik prądu stałego.
D. silnik prądu zmiennego.
Obsługa, diagnozowanie oraz n…
Wstępna ocena organoleptyczna stanu technicznego amortyzatora, obejmuje
A. analizę stanu zużycia tulei wahaczy
B. analizę wzrokową stopnia zużycia opon pojazdu
C. analizę zużycia sprężyn zawieszenia
D. analizę stanu zużycia drążków kierowniczych
Obsługa, diagnozowanie oraz n…
Czym jest skrót CNC?
A. sprężonym gazem ziemnym
B. metanolem
C. mieszaniną gazu propan-butan
D. paliwem wodorowym
Obsługa, diagnozowanie oraz n…
Zanim rozpoczniesz prace blacharskie w pojeździe samochodowym z użyciem zgrzewarki lub spawarki, konieczne jest zawsze
A. zdemontowanie instalacji elektrycznej pojazdu
B. odłączenie klem akumulatora
C. podłączenie uziemienia do karoserii
D. zabezpieczenie wnętrza auta
Obsługa, diagnozowanie oraz n…
Jaką wartość minimalną powinien mieć wskaźnik TWI w oponie całorocznej?
A. 1,6 mm
B. 3,0 mm
C. 1,0 mm
D. 4,0 mm
Obsługa, diagnozowanie oraz n…
Aby zastąpić uszkodzony rezystor o wartości 100 Ω należy połączyć
A. szeregowo dwa rezystory o wartości 50 Ω.
B. równolegle dwa rezystory o wartości 10 Ω.
C. równolegle dwa rezystory o wartości 50 Ω.
D. szeregowo dwa rezystory o wartości 10 Ω.
Obsługa, diagnozowanie oraz n…
Które oznaczenie dotyczy elektrycznego hamulca postojowego, w który wyposażony jest pojazd samochodowy?
A. EBD
B. EPB
C. EDS
D. EPP
Organizacja i prowadzenie pro…
Po odebraniu samochodu z serwisu klient zauważył, że problemy zgłoszone do naprawy nadal występują. W takiej sytuacji klient może złożyć do serwisu pismo w formie
A. skargi
B. zażalenia
C. odwołania
D. reklamacji
Organizacja i prowadzenie pro…
Jak określa się zestaw działań wykonywanych po kolei, mających na celu przywrócenie pojazdu do pełnej sprawności technicznej?
A. Proces technologiczny naprawy
B. Przegląd techniczny pojazdu
C. Demontaż pojazdu
D. Obsługa techniczna pojazdu
Organizacja i prowadzenie pro…
Który typ przegubu przedstawiono na fotografii?

A. Rzeppa.
B. Tracta.
C. Weissa.
D. Cardana.
Obsługa, diagnozowanie oraz n…
Reparacja zużytego wału korbowego polega na jego
A. polerowaniu
B. szlifowaniu
C. tulejowaniu
D. honowaniu
Obsługa, diagnozowanie oraz n…
Zaświecenie się w czasie jazdy lampki kontrolnej przedstawionej na rysunku informuje kierowcę o prawdopodobnej usterce w układzie

A. wspomagania.
B. ładowania.
C. zapłonowym.
D. oświetlenia.
Organizacja i prowadzenie pro…
W wyniku pomiaru czopów głównych wału korbowego silnika 1,6 wykonanego w grupie selekcyjnej B otrzymano wynik 50,785 mm. Na podstawie tabeli wymiarów układu tłokowo korbowego, wał korbowy należy zakwalifikować do części
| Wyszczególnienie | Grupa selekcyjna | Silnik | |
|---|---|---|---|
| 1,4 | 1,6 | ||
| Średnica otworów pod łożyska główne w kadłubie silnika | 54,507 do 54,520 | 54,507 do 54,520 | |
| Długość otworów pod łożyska główne w kadłubie silnika | 22,140 do 22,200 | 22,140 do 22,200 | |
| Średnica czopów głównych wału korbowego | A | 50,790 do 50,800 | 50,790 do 50,800 |
| B | 50,780 do 50,790 | 50,780 do 50,790 | |
| Średnica czopów korbowych wału korbowego | A | 45,513 do 45,523 | 45,513 do 45,523 |
| B | 45,503 do 45,513 | 45,503 do 45,513 | |
| Długość czopów głównych wału korbowego | 26,975 do 27,025 | 26,975 do 27,025 | |
| Grubość łożysk głównych wału korbowego | A | 1,840 do 1,844 | 1,840 do 1,844 |
| B | 1,845 do 1,849 | 1,845 do 1,849 | |
| Podwymiary naprawcze łożysk głównych wału korbowego | 0,254; 0,508 | 0,254; 0,508 | |
A. dobrych.
B. podlegających naprawie.
C. zużytych, nie nadających się do naprawy.
D. podlegających regeneracji.
Obsługa, diagnozowanie oraz n…
W samochodzie osobowym w celu zabezpieczenia koła przed odkręceniem stosuje się
A. nakrętki z kołnierzem stożkowym.
B. podkładki płaskie.
C. nakrętki samohamowne.
D. podkładki sprężyste.
MOT.02 Pytanie 3742
Obsługa, diagnozowanie oraz n…
Jakie działania należy podjąć, gdy zauważono zużycie klocków hamulcowych w prawym przednim kole?
A. Zamiana klocków w kołach przedniej osi pojazdu
B. Zamiana klocków hamulcowych we wszystkich kołach pojazdu
C. Zamiana klocków hamulcowych w przednim i tylnym kole po prawej stronie pojazdu
D. Zamiana jedynie klocków, które są zużyte
Obsługa, diagnozowanie oraz n…
Pomiar wykonuje się za pomocą lampy stroboskopowej
A. natężenia oświetlenia
B. kąta wyprzedzenia zapłonu
C. ciśnienia sprężania
D. podciśnienia w cylindrze
Obsługa, diagnozowanie oraz n…
Rezystancja zastępcza obwodu widziana od strony zacisków A i B wynosi

A. 1/3 [Ω].
B. 3/3 [Ω].
C. 3/2 [Ω].
D. 2/3 [Ω].
Obsługa, diagnozowanie oraz n…
Wartość prądu wzbudzenia alternatora powinna zawierać się w przedziale
A. 7 – 11 A
B. 11 – 14 A
C. 0 – 4 A
D. 4 – 7 A
Obsługa, diagnozowanie oraz n…
Przy diagnostyce prądnicy prądu stałego z elektromagnesami nie wykonuje się pomiaru rezystancji
A. izolacji uzwojenia wirnika.
B. uzwojenia stojana.
C. diod prostowniczych.
D. uzwojenia wirnika.
Obsługa, diagnozowanie oraz n…
Który pomiar rezystancji wskazuje na uszkodzenie wtryskiwacza?
| Badany wtryskiwacz | Pomiar rezystancji | |
|---|---|---|
| Cewki wtryskiwacza [Ω] | Pomiędzy stykiem wtryskiwacza a jego korpusem [MΩ] | |
| 1. | 0,65 | →∞ |
| 2. | 0,55 | →∞ |
| 3. | 0,45 | →∞ |
| 4. | 0,35 | →∞ |
| Rezystancja przewodów pomiarowych wynosi 0,15 [Ω] | ||
| Uwaga! Rezystancja cewki wtryskiwacza stanowi różnicę pomiędzy zmierzoną wartością rezystancji cewki wtryskiwacza a rezystancją przewodów. | ||
| Nominalna rezystancja cewki wtryskiwacza zawiera się w przedziale: 0,30[Ω] – 0,55[Ω]. | ||
| Rezystancja pomiędzy stykiem wtryskiwacza, a jego korpusem →∞ | ||
A. 1.
B. 2.
C. 3.
D. 4.
Obsługa, diagnozowanie oraz n…
Podczas badania czujnika indukcyjnego na ekranie oscyloskopu zaobserwowano przerywany wykres sinusoidalny. Wykres sprawnego czujnika powinien być
A. stały.
B. sinusoidalny ciągły.
C. sinusoidalny z przerwami.
D. paraboliczny.
Obsługa, diagnozowanie oraz n…
Elementem systemu jest czujnik prędkości kątowej oraz przyspieszenia bocznego?
A. ESP
B. ABS
C. ASR
D. AGR
MOT.05 Pytanie 3750
Obsługa, diagnozowanie oraz n…
Badanie organoleptyczne jako sposób diagnostyczny to testowanie
A. lepkości oleju
B. ciśnienia sprężania
C. interfejsem diagnostycznym
D. bez przyrządów
Organizacja i prowadzenie pro…
Podpisanie zlecenia na naprawę przez klienta oraz serwisanta?
A. potwierdza zawarcie umowy cywilno prawnej
B. oznacza zgodę na szeroki zakres naprawy
C. oznacza zgodę na przetwarzanie danych osobowych klienta
D. potwierdza realizację usługi
Obsługa, diagnozowanie oraz n…
Nadmierny luz pierścieni tłokowych w ich rowkach może prowadzić do
A. niższego ciśnienia sprężania
B. wyższego ciśnienia sprężania
C. większego zużycia oleju silnikowego
D. większego zużycia paliwa
Obsługa, diagnozowanie oraz n…
Po aktywacji świateł mijania żadna z żarówek H1 nie działa. Ustalono, że przekaźnik świateł mijania nie jest aktywowany, a przy pomocy próbnika napięcia potwierdzono poprawny sygnał sterowania oraz brak napięcia na konektorze do podłączenia żarówek. Opis sugeruje uszkodzenie
A. obu żarówek
B. przewodów zasilających żarówki H1
C. przekaźnika
D. włącznika świateł mijania
Obsługa, diagnozowanie oraz n…
Pirometrem widocznym na ilustracji dokonuje się pomiaru

A. odległości.
B. wilgotności.
C. temperatury.
D. gęstości.
Obsługa, diagnozowanie oraz n…
Pirometrem przedstawionym na ilustracji można wykonać pomiar

A. temperatury cieczy w układzie chłodzenia.
B. natężenia przepływającego prądu.
C. gęstości elektrolitu.
D. rezystancji żarnika halogenowego.
MOT.02 Pytanie 3756
Obsługa, diagnozowanie oraz n…
Wyniki przeglądu instalacji elektrycznej samochodu z silnikiem V6 TFSI 3,0 przedstawiono w tabeli. Który zestaw części i materiałów eksploatacyjnych jest niezbędny do wykonania usługi naprawy po wykonanym przeglądzie?
| Lp. | Przegląd instalacji elektrycznej | Wynik przeglądu |
|---|---|---|
| 1. | Stan akumulatora | U |
| 2. | Poduszki powietrzne | D |
| 3. | Włączniki, wskaźniki, wyświetlacze | D |
| 4. | Reflektory | Lewy – D; Prawy – W |
| 5. | Ustawienie reflektorów | D |
| 6. | Wycieraczki | *Lewa – uszkodzone pióro, Prawa – D |
| 7. | Spryskiwacze | D |
| 8. | Oświetlenie wnętrza | D |
| 9. | Świece zapłonowe | **Trzy z sześciu zużyte |
| 10. | Oświetlenie zewnętrzne | D |
| W – wymienić; U – uzupełnić; D – stan dobry; R – przeprowadzić regulację * w przypadku zużycia jednego pióra zaleca się wymianę kompletu piór ** w przypadku zużycia zaleca się wymianę kompletu świec | ||
A. Woda destylowana, reflektor prawy, pióra wycieraczek, sześć świec zapłonowych.
B. Akumulator, reflektor prawy, pióro lewej wycieraczki, trzy świece zapłonowe.
C. Akumulator, lewy i prawy reflektory, pióra wycieraczek, sześć świec zapłonowych.
D. Woda destylowana, prawy reflektor, lewe pióro wycieraczki, trzy świece.
Obsługa, diagnozowanie oraz n…
Jakie narzędzie wykorzystuje się do weryfikacji współosiowości czopów wałka rozrządu?
A. sprawdzianu tłokowego
B. czujnika zegarowego z podstawą
C. liniału sinusoidalnego
D. suwmiarki z wyświetlaczem elektronicznym
Obsługa, diagnozowanie oraz n…
Klucze przedstawione na ilustracji służą do demontażu i montażu

A. przewodów hamulcowych.
B. sondy λ.
C. nakrętek felg ze stopów lekkich.
D. czujników ABS.
MOT.06 Pytanie 3759
Organizacja i prowadzenie pro…
Producent określił przeglądy okresowe pojazdu co 20 000±500 km oraz nie rzadziej niż raz na rok. Klient udał się do warsztatu, aby ustalić termin następnego przeglądu okresowego, a jego pojazd ma przebieg 38 300 km i ostatni przegląd został wykonany dokładnie 7 miesięcy temu. Kiedy powinien odbyć się kolejny przegląd?
A. za trzy miesiące
B. na 3 lata od daty zakupu auta
C. po przejechaniu dodatkowych 2 700 km
D. za pięć miesięcy lub przy przebiegu 40 000±500 km
Obsługa, diagnozowanie oraz n…
Minimalna grubość okładzin ściernych klocków hamulcowych powinna wynosić
A. od 0,5 cm do 1 cm.
B. od 0,5 mm do 1 mm.
C. od 1,5 cm do 2 cm.
D. od 1,5 mm do 2 mm.