Filtrowanie pytań

Wybierz zawód, aby zobaczyć dostępne kwalifikacje

CHM.04 Pytanie 881
Wykonywanie badań analityczny…

Do kationów trzeciej grupy analitycznej, wytrącanych w postaci siarczków roztworem AKT w środowisku amoniakalnym, należą:

A. Ba2+, Ca2+, Sr2+
B. Fe2+, Mg2+, Pb2+, Al3+, Ca2+
C. Ni2+, Co2+, Fe2+, Fe3+, Mn2+, Zn2+
D. Pb2+, Cu2+, Cd2+, Cr3+, Ag+, K+, Al3+

A. A.
B. C.
C. D.
D. B.
Przygotowywanie sprzętu, odcz…

Na podstawie danych w tabeli określ, jaką masę próbki należy pobrać, jeżeli wielkość ziarna wynosi 1·10-5 m.

Wielkość ziaren lub kawałków [mm]Poniżej 11-1011-50Ponad 50
Pierwotna próbka (minimum) [g]10020010002500

A. 200 g
B. 100 g
C. 2500 g
D. 1000 g
Przygotowywanie sprzętu, odcz…

Na podstawie danych zawartych w tabeli określ, do oznaczania którego parametru próbka musi być utrwalona w niskim pH.

Oznaczany parametrRodzaj naczynia do przechowywaniaSposób utrwalaniaDopuszczalny czas przechowywania
barwaszklane lub polietylenowe- schłodzenie do temperatury 2-5°C24 h
fosforany ogólneszklane lub polietylenowe- zakwaszenie kwasem siarkowym(VI)
- schłodzenie do temperatury 2-5°C
4 h
48 h
BZTszklane- schłodzenie do temperatury 2-5°C
- przechowywanie w ciemności
24 h
azot azotanowy(V)szklane lub polietylenowe- schłodzenie do temperatury 2-5°C
- dodanie 2 cm3 chloroformu do 1 dm3 próbki
24 h
48 h

A. Azotu azotanowego(V).
B. Fosforanów ogólnych.
C. BZT.
D. Barwy.
Przygotowywanie sprzętu, odcz…

Jakie procedury powinny być stosowane podczas ustalania miana roztworu?

A. Ustalanie miana roztworu polega na dokładnym określeniu stężenia roztworu, w reakcji z roztworem substancji podstawowej o precyzyjnie znanym stężeniu
B. Ustalanie miana każdego roztworu powinno być wykonane natychmiast po jego przygotowaniu
C. Ustalanie miana roztworu polega na starannym zagęszczeniu roztworu, aby osiągnąć wcześniej ustalone stężenie
D. Ustalanie miana roztworu polega na dokładnym rozcieńczeniu roztworu, aby uzyskać wcześniej zaplanowane stężenie
Wykonywanie badań analityczny…

W celu oceny jakości masła wykonano oznaczenie liczby kwasowej LK, liczby zmydlania LZ i liczby nadtlenkowej LOO. Wyniki zapisano w tabeli. Wartość liczby estrowej LE w badanym maśle wynosi

Rodzaj
liczby
Wartość zmierzona
LZ196,8 mg KOH/1g
LK1,2 mg KOH/1g
LE?
LOO4,25 milirównoważnika aktywnego tlenu/ kg

A. 198,0 mg KOH/1g
B. 164,0 mg KOH/1g
C. 234,7 mg KOH/1g
D. 195,6 mg KOH/1g
Wykonywanie badań analityczny…

Czym zajmuje się System Analizy Zagrożeń i Krytycznych Punktów Kontroli (HACCP)?

A. wdrażania standardów w produkcji przemysłowej, a coraz częściej także w sektorze gastronomicznym
B. zapewnienia jakości analiz w obszarze bezpieczeństwa oraz zdrowia ludzi i ochrony środowiska
C. realizacji działań dotyczących przestrzegania zasad higienicznych podczas produkcji przemysłowej
D. zapewnienia bezpieczeństwa żywności w odniesieniu do wymagań zdrowotnych oraz ryzyka pojawienia się zagrożeń
CHM.04 Pytanie 890
Wykonywanie badań analityczny…

Metoda analityczna opierająca się na pomiarze kąta rotacji płaszczyzny światła spolaryzowanego to

A. polarymetria
B. potencjometria
C. polarografia
D. refraktometria
Wykonywanie badań analityczny…

Wykonano jodometryczne oznaczenie zawartości kwasu askorbinowego dla 4 próbek tabletek witaminy C, uzyskując wyniki. Na podstawie informacji zawartych w opisie i wyników analizy można stwierdzić, że zawartość witaminy C

Opis
Na opakowaniach tabletek witaminy C producenci deklarują zawartość 200 mg kwasu askorbinowego.
Zgodnie z normą odchylenia od deklarowanej zawartości substancji leczniczej nie mogą przekraczać ±10% dla tabletek o zawartości poniżej 100 mg i ±5% dla tabletek o deklarowanej zawartości 100 mg i więcej.
Próbka1234
Zawartość kwasu askorbinowego198,5 mg211 mg201 mg205 mg

A. nie jest zgodna z normą dla próbek 2 i 4.
B. nie jest zgodna z normą tylko dla próbki 2.
C. jest zgodna z normą dla wszystkich próbek.
D. jest zgodna z normą tylko dla próbek 1 i 3.
CHM.04 Pytanie 892
Wykonywanie badań analityczny…

Jakie sole nie podlegają procesowi hydrolizy?

A. Słabego kwasu oraz mocnej zasady
B. Słabego kwasu oraz słabej zasady
C. Mocnego kwasu oraz mocnej zasady
D. Mocnego kwasu oraz słabej zasady
Przygotowywanie sprzętu, odcz…

Skuteczny środek do osuszania

A. nie powinien przyspieszać rozkładu suszonej substancji.
B. powinien działać wolno.
C. powinien wchodzić w reakcję z substancją suszoną i nie prowadzić do jej utlenienia.
D. powinien być rozpuszczalny w cieczy, która jest suszona.
Wykonywanie badań analityczny…

W zamieszczonym opisie przedstawiono fragment instrukcji obsługi

Umieść probówki w adapterach. Zawsze umieszczaj probówki symetrycznie celem prawidłowego wyważenia rotora. W przypadku użycia tylko jednej probówki niezbędne jest umieszczenie przeciwwagi po stronie przeciwnej. Po zamknięciu pokrywy zostaje ona automatycznie zablokowana ...

A. wyparki próżniowej.
B. pieca muflowego.
C. cieplarki.
D. wirówki laboratoryjnej.
CHM.04 Pytanie 896
Wykonywanie badań analityczny…

W wodzie poddawanej procesowi dezynfekcji mierzy się zawartość chloru wolnego. Co oznacza ten parametr?

A. sumą stężenia chloramin oraz chloranów
B. stężeniem chloramin
C. sumą stężenia ClO2-, ClO3-
D. sumą stężenia Cl2, HClO, ClO-
CHM.04 Pytanie 898
Wykonywanie badań analityczny…

Białka, których cząsteczki mają wiązania peptydowe, w reakcji z jonami miedzi(II) w środowisku zasadowym tworzą kompleks o barwie fioletowej. Stopień intensywności barwy jest proporcjonalny do liczby wiązań peptydowych. Tę zależność można wykorzystać do oznaczeń

A. refraktometrycznych
B. polarymetrycznych
C. spektrofotometrycznych
D. konduktometrycznych
CHM.04 Pytanie 899
Wykonywanie badań analityczny…

W trakcie ilościowego oznaczania chlorków w próbce wody, zachodzą przemiany zgodnie z równaniami reakcji. Który typ reakcji reprezentują?
Ag⁺ + Cl⁻ → AgCl

2 Ag⁺ + CrO₄²⁻ → Ag₂CrO₄

A. Redoks.
B. Zobojętnianie.
C. Strącanie osadów.
D. Kompleksowanie.
CHM.04 Pytanie 900
Wykonywanie badań analityczny…

W tabeli przedstawiono potencjały normalne niektórych układów redox Metodą jodometryczną pośrednią ilościowo można oznaczyć

Układ redoxPotencjał normalny [V]
I2 + 2 e- ⟷ 2 I-0,55
Pb2+ + 2 e- ⟷ Pb0-0,13
Sn2+ + 2 e- ⟷ Sn00,15
Bi3+ + 3 e- ⟷ Bi00,23
Fe3+ + 1 e- ⟷ Fe2+0,77

A. Fe(III)
B. Bi(III)
C. Pb(II)
D. Sn(IV)
Przygotowywanie sprzętu, odcz…

Opis w ramce przedstawia sposób oczyszczania substancji poprzez

Próbke substancji stałej należy umieścić w kolbie kulistej, zaopatrzonej w chłodnicę zwrotną, dodać rozpuszczalnika - etanolu i delikatnie ogrzewać do wrzenia. Po lekkim ostudzeniu dodać do roztworu niewielką ilość węgla aktywnego, zagotować i przesączyć na gorąco. Przesącz pozostawić do ostygnięcia, a wydzielony osad odsączyć pod zmniejszonym ciśnieniem, przemyć niewielką ilością rozpuszczalnika, przenieść na szalkę, pozostawić do wyschnięcia, a następnie zważyć.

A. krystalizację.
B. ekstrakcję.
C. sublimację.
D. destylację.
CHM.04 Pytanie 904
Wykonywanie badań analityczny…

Zakończenie miareczkowania ustala się na podstawie pomiaru zmiany przewodnictwa roztworu poddanego miareczkowaniu w metodzie

A. amperometrycznej
B. potencjometrycznej
C. spektrofotometrycznej
D. konduktometrycznej
CHM.04 Pytanie 905
Wykonywanie badań analityczny…

Która z podanych metod analitycznych jest klasyfikowana jako technika łączona?

A. Atomowa spektrometria absorpcyjna
B. Chromatografia gazowa z zastosowaniem spektrometrii mas
C. Spektroskopia w zakresie widzialnym oraz UV
D. Spektroskopia rezonansu jądrowego w polu magnetycznym
CHM.04 Pytanie 906
Wykonywanie badań analityczny…

Reakcja biuretowa polega na dodaniu do badanej mieszaniny roztworów silnej zasady i siarczanu(VI) miedzi(II). Jeśli w analizowanej próbce znajduje się białko, to roztwór zmienia kolor z niebieskiego na

A. żółtą
B. zieloną
C. brunatną
D. fioletową
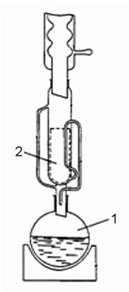
Wykonywanie badań analityczny…

Zawartość wody w produktach spożywczych można oznaczyć za pomocą przedstawionego na rysunku aparatu Deana-Starka metodą

Ilustracja do pytania 27
A. ekstrakcji w układzie ciecz-ciecz.
B. destylacji azeotropowej.
C. destylacji próżniowej.
D. ekstrakcji w układzie ciecz-ciało stałe.
Wykonywanie badań analityczny…

Oznaczono LZ i LJ dla czterech różnych próbek tłuszczów. Wyniki zestawiono w tabeli:
Na podstawie zamieszczonych danych o liczbach właściwych wybranych tłuszczów wskaż próbkę, którą stanowi olej rzepakowy.

Liczby właściwe wybranych tłuszczów
Rodzaj tłuszczuLiczba zmydlania (LZ)
mg KOH / g tłuszczu
Liczba jodowa (LJ)
g I₂ / 100 g tłuszczu
Olej lniany187 – 197169 – 192
Olej sojowy188 – 195114 – 138
Olej rzepakowy167 – 17994 – 106
Tran wielorybi170 – 202102 – 144
Masło krowie218 – 24525 – 38
Smalec wieprzowy193 – 20046 – 66
PróbkaLiczba zmydlania (LZ)Liczba jodowa (LJ)
1190140
217199
3194105
419560

A. Próbka 4
B. Próbka 2
C. Próbka 1
D. Próbka 3
Przygotowywanie sprzętu, odcz…

Do reakcji estryfikacji użyto 150 g kwasu benzoesowego (M = 122,12 g/mol), w wyniku której otrzymano czysty preparat benzoesanu metylu (M = 136,2 g/mol). Ile gramów benzoesanu metylu otrzymano, jeżeli reakcja przebiegała z wydajnością 92%?

Ilustracja do pytania 32
A. 154,3 g
B. 167,3 g
C. 181,8 g
D. 153,9 g
Przygotowywanie sprzętu, odcz…

Jakie substancje wykorzystuje się do wykrywania obecności jonów chlorkowych w wodzie mineralnej?

A. roztwór szczawianu potasu
B. uniwersalny papierek wskaźnikowy
C. roztwór chlorku baru
D. roztwór azotanu srebra