Filtrowanie pytań
Po zakończonym montażu automatycznych drzwi przystankowych i kabinowych sprawdzana jest strefa odryglowania, która powyżej poziomu przystanku powinna maksymalnie wynosić
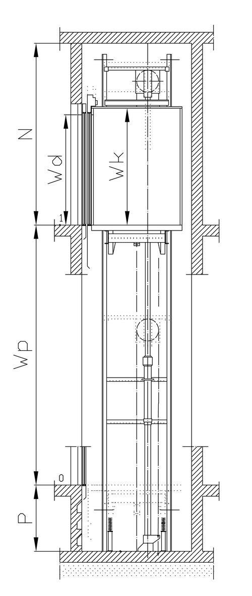
Na rysunku przedstawiono

Która pompa ma zastosowanie w dźwigach z napędem hydraulicznym?




Do obowiązków pracodawcy należy zapewnienie pracownikowi
Element przedstawiony na ilustracji służy do zamocowania

Którą czynność, podczas wykonywania montażu zawiesia kabiny należy wykonać jako pierwszą, po uzyskaniu wymaganej długości liny?
Ciężar przedmiotów podnoszonych i przenoszonych przez konserwatora (mężczyznę) przy pracy dorywczej nie może przekraczać
Minimalna wartość prędkości, dla której dopuszcza się zadziałanie ogranicznika prędkości przy kabinie poruszającej się z prędkością 1 m/s, to
Na podstawie tabeli określ wymiary w mm (szerokość x głębokość x wysokość) kabiny dźwigu o udźwigu 320 kg.
| Tabela: Wymiary kabiny dźwigu | |||||||
|---|---|---|---|---|---|---|---|
| Lp. | UDŹWIG Q [kg] | SZEROKOŚĆ KABINY Sk [mm] | GŁĘBOKOŚĆ KABINY Gk [mm] | WYSOKOŚĆ KABINY Wk [mm]* | SZEROKOŚĆ DRZWI Sd [mm] | SZEROKOŚĆ SZYBU Sk [mm] | GŁĘBOKOŚĆ SZYBU Gk [mm] |
| 1. | 320 | 900 | 1000 | 2150 | 700 | 1550 | 1570 |
| 2. | 630 | 1100 | 1400 | 2150 | 800-900 | 1750 | 1970 |
| 3. | 800 | 1350 | 1400 | 2150 | 800-1000 | 2000 | 1970 |
Doprowadzenie energii do oświetlenia kabiny, szybu, maszynowni i linowni powinno
Na podstawie tabeli określ koszt wykonania usługi polegającej na wymianie 12 sztuk prowadników kabinowych.
| Czas wykonania wymiany 1 prowadnika [godz.] | Liczba pracowników niezbędnych do wymiany prowadników [osoby] | Stawka godzinowa pracownika [zł/godz.] | Cena jednego prowadnika [zł/szt.] |
|---|---|---|---|
| 0,5 | 2 | 40,00 | 50,00 |
W celu wymiany kasety wezwań na środkowym piętrze dźwigu ze sterowaniem zbiorczym góra-dół należy użyć kasety o konfiguracji




Na podstawie zamieszczonego rysunku z instrukcji montażowej układu sterowania dźwigu osobowego określ, którego narzędzia należy użyć do przykręcenia elementu metalowego?

Zgodnie z danymi zawartymi w Wyciągu z dokumentacji modernizacji windy w budynku użyteczności publicznej po przeprowadzonej modernizacji windy kaseta sterownicza będzie posiadała
| Wyciąg z dokumentacji modernizacji windy w budynku użyteczności publicznej | |||
| Przed modernizacją | Po modernizacji | ||
| 15 | Drzwi kabinowe | automatyczne, centralne, dwupanelowe z napędem falownikowym wymiary 1100×2000 mm wykonane ze stali malowanej zabezpieczone kurtyną świetlną | automatyczne, centralne. dwupanelowe z napędem falownikowym wymiary 1100×2000 mm wykonane ze stali malowanej zabezpieczone kurtyną świetlną |
| 16 | Drzwi szybowe | automatyczne, centralne, dwupanelowe wymiary 1100×2000 mm wykonane ze stali oklejanej | automatyczne, centralne, dwupanelowe wymiary 1100×2000 mm wykonane ze stali malowanej |
| 17 | Kasety: wezwań i dyspozycji | przyciski o wymiarach 38×38 mm pokrywy wykonane z aluminium kasety umieszczone na ścianie i na wysokości umożliwiającej obsługę przez osoby niepełnosprawne | przyciski o wymiarach części roboczej nie mniejszych niż 45×45 mm z grafiką Braille'a pokrywy wykonane ze stali malowanej - kolor kontrastowy do koloru powierzchni przycisków kasety umieszczone w ościeżnicy drzwi szybowych lub na ścianie na wysokości umożliwiającej obsługę przez osoby niepełnosprawne |
Narzędzia przedstawionego na rysunku używa się do

Drzwi przystankowe dźwigu, w których w czasie otwierania/zamykania panele przesuwają się w przeciwnych kierunkach, to drzwi
Przeciążenie dźwigu hydraulicznego wykrywane jest przez czujnik
Na podstawie zamieszczonego fragmentu procedury przeglądu, hak o nośności 3,2 tony nadaje się do pracy, jeśli jego wymiar C nie przekracza
| Nośność (t) | Wymiar „A" (mm) | Wymiar „B" (mm) | Wymiar „C" (mm) | ||
|---|---|---|---|---|---|
| Standard | Wartość graniczna | Standard | Wartość graniczna | Wartość graniczna | |
| Haki z uszkiem (lina) | |||||
| 0,8 | 22 | 19,8 | 19 | 17 | 29 |
| 1,6 | 26 | 23,4 | 23 | 20 | 35 |
| 3,2 | 36,5 | 32,8 | 34 | 30,5 | 41 |
| 5 | 42 | 37,8 | 35 | 31,5 | 45 |
| 6,3 | 58 | 53 | 45 | 40,5 | 52 |

Dokumenty potrzebne do odbioru technicznego urządzenia dźwigowego przeprowadzanego przez przedstawiciela Urzędu Dozoru Technicznego składają się z poświadczenia prawidłowości wykonania części konstrukcyjno-budowlanej oraz
Zgodnie z informacjami zawartymi w zamieszczonym wyciągu z instrukcji podczas testów schodów ruchomych przy uruchomieniu należy sprawdzić
| Wyciąg z instrukcji schodów ruchomych - przeprowadzanie testów przy uruchomieniu |
|---|
| Testy podczas jazdy na schodach Częstotliwość co 1 miesiąc. Ogólne sprawdzenie charakterystyki jazdy. Sprawdzić pracę przy odwróconym kierunku jazdy. Zadania na górnej i dolnej stacji: Wystartować 2 X po 45 sekund: Sprawdzić zgranie stopni z wejściem grzebieni. Sprawdzić naciąg poręczy. Sprawdzić czystość poręczy i ich szczotki. |
Na rysunku przedstawiono schemat

Na podstawie tabeli dobierz kauszę na pętlę, na mocowaniu liny o średnicy 18 mm.
| nr katalogowy | max średnica liny [mm] | wymiary [mm] | moment dokręcenia [Nm] | liczba kabłąków | ||
|---|---|---|---|---|---|---|
| d | L₁ | L₂ | ||||
| 01947 | 8 | M8 | 41 | 18 | 6 | 4 |
| 01948 | 10 | M8 | 46 | 20 | 9 | 4 |
| 01950 | 12 | M10 | 56 | 24 | 20 | 4 |
| 78144 | 13 | M12 | 64 | 27 | 33 | 4 |
| 78145 | 14 | M12 | 66 | 28 | 33 | 4 |
| 01951 | 16 | M14 | 76 | 32 | 49 | 4 |
| 01952 | 19 | M14 | 83 | 36 | 68 | 5 |

Pokazany na rysunku środek transportu to

Na rysunku przedstawiono schemat obwodu głównego silnika klatkowego trójfazowego do rozruchu gwiazda-trójkąt. W jakiej kolejności powinny zadziałać (załączyć lub rozłączyć) styczniki, aby nastąpił rozruch?

Zgodnie z informacją zawartą we Fragmencie instrukcji konserwacji schodów ruchomych prace konserwacyjne należy wykonywać z częstotliwością
Fragment instrukcji konserwacji schodów ruchomych - Sprawdzenie i smarowanie schodów
Częstotliwość co 3 miesiące Sprawdzić szczelność systemu oliwienia. Sprawdzić i napełnić zbiornik oleju (jeżeli to konieczne). Sprawdzić łańcuch stopni. |
| Tabela: Wykaz elementów zakwalifikowanych do wymiany | ||||
|---|---|---|---|---|
| Typ elementu | Urządzenie dźwigowe | |||
| Dźwig osobowy 1 | Dźwig osobowy 2 | Dźwig osobowy 3 | Dźwig osobowy 4 | |
| Oświetlenie LED [szt.] | 4 | 2 | 3 | 2 |
| Prowadnik kabiny [szt.] | 4 | 4 | - | 4 |
| Prowadnik przeciwwagi [szt.] | 2 | - | 2 | 2 |
| Przycisk wezwań [szt.] | 1 | 2 | - | 2 |
Jakie powinno być zapotrzebowanie na części zamienne, jeżeli liczbę zamawianych elementów każdego typu zwiększono o 2 szt. względem liczby elementów zakwalifikowanych do wymiany?
| Tabela: Zapotrzebowanie na części zamienne | |||
|---|---|---|---|
| Oświetlenie LED [szt.] | Prowadnik kabiny [szt.] | Prowadnik przeciwwagi [szt.] | Przycisk wezwań [szt.] |
| 11 | 12 | 6 | 5 |
| 12 | 14 | 6 | 5 |
| 13 | 14 | 8 | 7 |
| 14 | 13 | 8 | 7 |
Podczas kontroli związanej z odbiorem technicznym łącznik główny w maszynowni dźwigu powinien przerwać
W układzie sterowania urządzenia dźwigowego wymiana podzespołu F wymaga użycia elementu przedstawionego na rysunku





Na którym rysunku przedstawiono siłownik jednostopniowy jednostronnego działania?




Na stanowisku pracy oznaczonym przedstawionym na rysunku znakiem nakazu należy stosować środki ochrony indywidualnej w postaci

Zgodnie z fragmentem instrukcji, w celu zamontowania smarowniczki przeciwwagi do wspornika kątowego należy użyć śrub

Przeciwwaga w dźwigu elektrycznym służy do
Na rysunku przedstawiono podest ruchomy

Które działania należy podjąć, jeżeli sterownik sygnalizuje błąd o kodzie 18, a stycznik KM nie zadziałał?

Skrzydła drzwi automatycznych dźwigu osobowego po rozpoczęciu zamykania i przejechaniu niewielkiego dystansu ponownie się otwierają. W celu usunięcia tej awarii konserwator powinien sprawdzić w pierwszej kolejności
Po przejściu prądu przez układ pokazany na schemacie można uzyskać napięcie rzędu

Uruchomienie urządzenia przedstawionego na rysunku następuje po
