Filtrowanie pytań
Produkcja wyrobów piekarskich
A. 3%
B. 15%
C. 35% ÷ 45%
D. 15% ÷ 30%
Produkcja wyrobów piekarskich
Metodę trójfazową sporządzania ciasta pszennego zaleca się przy produkcji
A. chleba tureckiego.
B. bułek paryskich.
C. chleba graham.
D. bułek zwykłych.
Produkcja wyrobów cukierniczy…
Na ilustracji przedstawiono

A. radełko.
B. znacznik.
C. wzornik.
D. skrobak.
Organizacja i nadzorowanie pr…
Korzystając z informacji zawartych w instrukcji laboratoryjnej, określ minimalną liczbę próbek, którą należy pobrać z partii produkcyjnej, liczącej 100 kg kiełbasy jałowcowej.
| Instrukcja laboratoryjna (fragment) | |
|---|---|
| Minimalna liczba próbek pierwotnych, którą należy pobrać z partii | |
| Jeżeli masa partii jest mniejsza od 50 kg, to liczba próbek wynosi 3, przy masie od 50 kg do 500 kg - 5 próbek, przy masie powyżej 500 kg - 10 próbek lub jeżeli liczba puszek, kartonów lub innych pojemników w partii wynosi od 1 do 25, to liczba próbek wynosi 1, od 26 do 100 - 5 próbek, powyżej 100 - 10 próbek |
A. 10 próbek.
B. 1 próbka.
C. 3 próbki.
D. 5 próbek.
Organizacja i nadzorowanie pr…
Który dodatek technologiczny stosuje się w produkcji konserw owocowych w celu zapobiegania ciemnieniu surowca?
A. Chlorek sodu.
B. Kwas cytrynowy.
C. Kwas mlekowy.
D. Chlorek wapnia.
Organizacja i nadzorowanie pr…
Którą metodę suszenia należy zastosować do utrwalenia pokrojonych jabłek, aby susz poprzez kontakt z wodą łatwo odzyskał pierwotne właściwości surowca?
A. Kontaktową.
B. Fluidyzacyjną.
C. Liofilizacyjną.
D. Owiewową.
Produkcja przetworów mięsnych…
Proces wykrawania szynki z golonką należy zacząć od
A. analizy anatomicznej mięśni szynki
B. usunięcia kości miednicy oraz kości udowej
C. odcięcia od szynki fałdu tłuszczu krokowego
D. pozbycia się z szynki zewnętrznej warstwy tłuszczu ze skórą
Produkcja przetworów mięsnych…
Jakie z podanych narzędzi służy do krojenia kości, mrożonych produktów oraz bloków mrożonego mięsa w trakcie procesu rozbioru?
A. Nóż rozbiorowy
B. Nóż mechaniczny
C. Piłę tarczową
D. Piłę taśmową
Produkcja przetworów mięsnych…
Na linii do wytwarzania mięsa mielonego, kolejność łączenia urządzeń jest następująca:
A. kuter, dozator, pakowarka, waga
B. wilk, mieszarka, waga, pakowarka
C. mieszarka, wilk, waga, etykieciarka
D. kuter, waga, mieszarka, pakowarka
Produkcja wyrobów piekarskich
Brązowy kolor skórki podczas pieczenia ciasta powstaje na skutek
A. odparowywania wody z powierzchni.
B. barwnych reakcji Maillarda.
C. inaktywacji mikroorganizmów.
D. procesów pęcznienia białek glutenowych.
Produkcja wyrobów cukierniczy…
Który z zestawów zawiera składniki konieczne do wytwarzania ciastek kokosanek?
A. Wiórki kokosowe, białka, cukier
B. Imbir, soda, mąka
C. Kakao, masło, cukier
D. Orzechy laskowe, cynamon, mąka
Produkcja wyrobów cukierniczy…
Jakie wypieki powinny być kruche, łamliwe i dobrze wysuszone?
A. pierniki
B. bezy
C. kokosanki
D. ptysie
Produkcja wyrobów piekarskich
Które przyrządy kontrolno-pomiarowe używane są w magazynach surowców sypkich w piekarni?
A. Psychrometry i manometry.
B. Termometry i barometry.
C. Pirometry i wiskozymetry.
D. Wagi i higrometry.
Organizacja i nadzorowanie pr…
Procedury i instrukcje Dobrej Praktyki Produkcyjnej oznaczone są skrótem
A. DTR
B. GLP
C. DPR
D. GMP
Produkcja wyrobów spożywczych…
W trakcie oceny sensorycznej sera twarogowego o średniej tłustości zauważono defekt, którym jest jego
A. czysty i delikatny aromat
B. wyczuwalny gorzki smak
C. lekko luźna struktura
D. kolor od białego do kremowego
Produkcja wyrobów spożywczych…
Kefir to produkt mleczarski, który powstaje w wyniku fermentacji
A. mlekowej i alkoholowej
B. masłowej i propionowej
C. mlekowej i propionowej
D. mlekowej i masłowej
Organizacja i nadzorowanie pr…
W procesie produkcji słodzonego mleka zagęszczonego nie występuje etap
A. krystalizacji
B. zagęszczania
C. normalizacji
D. sterylizacji
Organizacja i nadzorowanie pr…
Jakie stężenie uzyska roztwór, jeśli do 200 g wody zostanie dodane 10 g suchego odczynnika?
A. 9,5%
B. 20,0%
C. 4,8%
D. 10,0%
Produkcja wyrobów piekarskich
Do formowania kęsów ciasta na rogale w piekarstwie należy użyć
A. dzielarki objętościowej i mieszarki.
B. dzielarki ślimakowej i wałkownicy.
C. zaokrąglarki i rogalikarki.
D. krajalnicy wieńcowej i wydłużarki
Organizacja i nadzorowanie pr…
Wstępnym etapem procesu słodowania jęczmienia jest
A. usuwanie kiełków.
B. moczenie w wodzie.
C. prażenie ziarna.
D. suszenie ziarna.
Produkcja wyrobów piekarskich
W prowadzeniu ciasta żytniego metodą pięciofazową temperatura fermentacji kwasu powinna przyjmować wartości w zakresie
A. 25÷26ºC
B. 20÷22ºC
C. 28÷30ºC
D. 23÷24ºC
Produkcja wyrobów piekarskich
Wyrobem piekarskim przedstawionym na ilustracji są bułki pszenne

A. grajcarki.
B. poznańskie.
C. montowe.
D. kajzerki.
Organizacja i nadzorowanie pr…
Norma BN-87 8020-02 Ryby i przetwory rybne jest normą
A. branżową.
B. europejską.
C. międzynarodową.
D. amerykańską.
Produkcja przetworów mięsnych…
Który wyrób mięsny można wyprodukować z wszystkich wymienionych w tabeli surowców i materiałów pomocniczych?
| Surowiec/przyprawy | Masa [kg] |
|---|---|
| Mięso wieprzowe kl. I | 40 |
| Mięso wieprzowe kl. II | 60 |
| Pieprz | 0,15 |
| Czosnek | 0,08 |
| Cukier | 0,20 |
| Osłonki o średnicy 32-36 mm | według potrzeb |
A. Kiszkę kaszaną.
B. Mortadelę.
C. Kiełbasę polską.
D. Baleron.
Organizacja i nadzorowanie pr…
Ile wynosi całkowity koszt mąki użytej do produkcji wg przedstawionej receptury, jeżeli cena 1 kg mąki żytniej wynosi 1,5 zł, a pszennej 1,4 zł ?
| Receptura na chleb żytnio-pszenny | |
|---|---|
| Surowce | Ilość |
| Mąka żytnia | 70 kg |
| Mąka pszenna | 30 kg |
| Kwas naturalny | 3 kg |
| Sól | 2 kg |
| Drożdże | 1,5 kg |
| Woda | 68 kg |
A. 105 zł
B. 42 zł
C. 150 zł
D. 147 zł
Produkcja wyrobów spożywczych…
Która zasada odnosi się do wysyłki kurczaków schłodzonych z magazynu?
A. Ostatnie weszło – pierwsze weszło
B. Pierwsze weszło – ostatnie wyszło
C. Ostatnie weszło – pierwsze wyszło
D. Pierwsze weszło – pierwsze wyszło
Produkcja wyrobów piekarskich
Przedstawiony znak graficzny umieszcza się na opakowaniu z pieczywem

A. ekstrudowanym.
B. głęboko mrożonym.
C. chrupkim.
D. bezglutenowym.
Organizacja i nadzorowanie pr…
Przedstawiony na rysunku sprzęt laboratoryjny przeznaczony do oznaczania zawartości alkoholu to

A. densymetr.
B. butyrometr.
C. refraktometr.
D. higrometr.
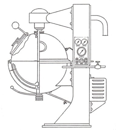
Produkcja wyrobów piekarskich
Rysunek przedstawia miesiarkę z miesidłem

A. spiralnym.
B. ramowym.
C. widelcowym.
D. hakowym.
Organizacja i nadzorowanie pr…
Ocena olejów na zawartość nienasyconych kwasów tłuszczowych odbywa się za pośrednictwem oznaczenia liczby
A. kwasowej.
B. zmydlania.
C. estrowej.
D. jodowej.
Organizacja i nadzorowanie pr…
Do oddzielenia śmietanki od mleka przeznaczona jest wirówka
A. do klarowania.
B. do baktofugacji.
C. separacyjna.
D. sedymentacyjna.
Produkcja wyrobów cukierniczy…
Przyjmując zamrożoną masę jajową, pracownik zauważył, że temperatura surowca wynosi -8°C. Zgodnie z obowiązującymi procedurami w tej sytuacji należy
A. odmówić przyjęcia masy jajowej
B. niezwłocznie umieścić masę jajową w mroźni i obniżyć ją do temperatury -18°C
C. sporządzić protokół zniszczenia surowca
D. rozmrozić masę i wykorzystać do produkcji
Produkcja wyrobów cukierniczy…
Maku powinno się wykorzystać jako dekoracyjną posypkę podczas produkcji
A. precelków
B. pączków
C. napoleonek
D. rolady owocowej
Produkcja przetworów mięsnych…
Proces zamrażania powoduje zmianę koloru mięsa wieprzowego, które z bladoróżowo-ciemnoczerwonego przekształca się w
A. różową do matowoczerwonej z delikatnym szarym odcieniem
B. brunatnoczerwoną z lekko zielonkawym odcieniem
C. jasnoczerwoną do ciemnoczerwoną
D. czerwoną, na powierzchni z dopuszczalnym zszarzeniem
Produkcja przetworów mięsnych…
Jakie składniki są przeznaczone do produkcji salcesonu włoskiego podrobowego?
A. słoninę oraz podgardle
B. drobne mięsa klasy I
C. mózgi i mięso z głów wieprzowych
D. drobne mięso wołowe
Produkcja wyrobów cukierniczy…
Jakie cechy ma świeże jajo po rozbiciu na talerzu?
A. nieprzyjemnym aromatem
B. rozlanym i mętnym białkiem
C. zielonkawym kolorem
D. wypukłym i błyszczącym żółtkiem
Produkcja wyrobów spożywczych…
Jakie zanieczyszczenie obecne w żywności można zredukować do bezpiecznego poziomu wykorzystując sterylizację?
A. Grunt
B. Grzyby
C. Środki ochrony roślin
D. Pierwiastki metaliczne
Produkcja przetworów mięsnych…
Proces schładzania kiełbas odbywa się w zakresie temperatur od około 70°C do
A. poniżej 10°C
B. powyżej 10°C
C. poniżej 30°C
D. powyżej 30°C
Produkcja przetworów mięsnych…
Aby przyspieszyć proces peklowania, mięso poddaje się plastyfikacji
A. w basenach
B. w młynach
C. w masownicach
D. w krajalnicach
Organizacja i nadzorowanie pr…
Korzystając z zamieszczonego planu monitoringu CCP nr 2, określ, przy których wskazaniach temperatury i czasu pasteryzacji piwa należy podjąć działania korygujące.
| CCP | Kontrola | Częstotliwość | Wartości docelowe |
|---|---|---|---|
| nr 2 Pasteryzacja | Temperatury i czasu | Pomiar elektroniczny ciągły | 72 +/- 2°C 15 +/- 2 minut |
A. 72°C i 10 minut.
B. 70°C i 14 minut.
C. 73°C i 15 minut.
D. 74°C i 17 minut.